Effects of additives on stabilization and inhibition of mercury re-emission in simulated wet gas desulphurization slurry
- Corresponding author: YANG Hong-min, 62055@njnu.edu.cn
Citation:
MAO Lin, ZHANG Zhi-yue, SUN Jia-xing, QI Dong-xu, CHEN Yi-peng, YANG Hong-min. Effects of additives on stabilization and inhibition of mercury re-emission in simulated wet gas desulphurization slurry[J]. Journal of Fuel Chemistry and Technology,
;2018, 46(10): 1265-1271.
WANG Shao-feng, FENG Xin-bin, CHOU Guang-yue, LI Zhong-gen, WEI Zhong-qing. Progress in research on natural sources of atmospheric hg[J]. Earth Environ, 2006,34(2):1-11.
SCHROEDER W H, MUNTHE J. Atmospheric mercury-an overview[J]. Atmos Environ, 1998,32(5):809-822. doi: 10.1016/S1352-2310(97)00293-8
CHANG J C, GHORISHI S B. Simulation and evaluation of elemental mercury concentration increase in flue gas across a wet scrubber[J]. Environ Sci Technol, 2003,37(24):5763-6. doi: 10.1021/es034352s
CHANG J C S, ZHAO Y. Pilot plant testing of elemental mercury reemission from a wet scrubber[J]. Energy Fuels, 2007,22(1):338-342.
TANG T, XU J, LU R, WO J, XU X. Enhanced Hg2+ removal and Hg0 re-emission control from wet fuel gas desulfurization liquors with additives[J]. Fuel, 2010,89(12):3613-3617. doi: 10.1016/j.fuel.2010.07.045
LIU Y, WANG Y, WANG Q, PAN J, ZHANG Y, ZHOU J, ZHANG J. A study on removal of elemental mercury in flue gas using fenton solution[J]. J Hazardous Mater, 2015,292:164-172. doi: 10.1016/j.jhazmat.2015.03.027
ZHAN F, LI C, ZENG G, TAO S, XIAO Y, ZHANG X. Experimental study on oxidation of elemental mercury by UV/Fenton system[J]. Chem Eng J, 2013,232(9):81-88.
DIAZ-SOMOANO M, UNTERBERGER S, HEIN K R G. Mercury emission control in coal-fired plants:The role of wet scrubbers[J]. Fuel Process Technol, 2007,88(3):259-263. doi: 10.1016/j.fuproc.2006.10.003
TANG T, XU J, LU R, WO J, XU X. Enhanced Hg2+ removal and Hg0 re-emission control from wet fuel gas desulfurization liquors with additives[J]. Fuel, 2010,89(12):3613-3617. doi: 10.1016/j.fuel.2010.07.045
WANG Qing-feng. Study on oxidized mercury reduction behaviors in wet FGD system and the stability of mercury in FGD gypsum[D]. Hangzhou: Zhejiang University, 2015.
TONG Xin, TANG Ting-mei, WU Hua-yan, XU Xin-hua. Research on low-level Zn2+ removal from water by the heavy metal capturing agent DTCR[J]. J Zhejiang Univ (Sci Ed), 2010,37(3):296-299. doi: 10.3785/j.issn.1008-9497.2010.03.011
HU Yun-jun, SHENG Tian-tian, XUE Xiao-qin, TAN Li-sha, XU Xin-hua. Research on low-ievel Hg(Ⅱ) removal from water by the heavy metal capturing agent[J]. Environ Sci, 2013,34(9):3486-3492.
LI Chu-xi, ZHANG Yi-bin, CHEN Jin-dong, YANG Dong-kui, CAO Yong-fei, FAN Wen-xing. Application of fenton oxidation process in comprehensive utilization of alkylation waste sulfuric acid[J]. Guangdong Chem Ind, 2017,44(14):208-209. doi: 10.3969/j.issn.1007-1865.2017.14.096
PIGNATELLO J J, OLIVEROS E, MACKAY A. Advanced oxidation processes for organic contaminant destruction based on the fenton reaction and related chemistry[J]. Crit Rev Environ Sci Technol, 2006,36(1):1-84. doi: 10.1080/10643380500326564
Dai-Huo Liu , Ao Wang , Hong-Yan Lü , Xing-Long Wu , Dan Luo , Wen-Hao Li , Jin-Zhi Guo , Haozhen Dou , Qianyi Ma , Zhongwei Chen . In situ constructing (MnS/Mn2SnS4)@N,S-ACTs heterostructure with superior Na/Li-storage capabilities in half-cells and pouch full-cells. Chinese Chemical Letters, 2024, 35(11): 109285-. doi: 10.1016/j.cclet.2023.109285
Yiqian Jiang , Zihan Yang , Xiuru Bi , Nan Yao , Peiqing Zhao , Xu Meng . Mediated electron transfer process in α-MnO2 catalyzed Fenton-like reaction for oxytetracycline degradation. Chinese Chemical Letters, 2024, 35(8): 109331-. doi: 10.1016/j.cclet.2023.109331
Fan Fan , Hao Xiu , Yuting Wang , Yongpeng Cui , Yajun Wang . Construction of NH2-MIL-125/Na-doped g-C3N4 composite S-scheme heterojunction and its performance in photocatalytic hydrogen peroxide production. Acta Physico-Chimica Sinica, 2026, 42(2): 100143-0. doi: 10.1016/j.actphy.2025.100143
Cailiang Yue , Nan Sun , Yixing Qiu , Linlin Zhu , Zhiling Du , Fuqiang Liu . A direct Z-scheme 0D α-Fe2O3/TiO2 heterojunction for enhanced photo-Fenton activity with low H2O2 consumption. Chinese Chemical Letters, 2024, 35(12): 109698-. doi: 10.1016/j.cclet.2024.109698
Xiaodan Wang , Yingnan Liu , Zhibin Liu , Zhongjian Li , Tao Zhang , Yi Cheng , Lecheng Lei , Bin Yang , Yang Hou . Highly efficient electrosynthesis of H2O2 in acidic electrolyte on metal-free heteroatoms co-doped carbon nanosheets and simultaneously promoting Fenton process. Chinese Chemical Letters, 2024, 35(7): 108926-. doi: 10.1016/j.cclet.2023.108926
Ruolin CHENG , Yue WANG , Xiyao NIU , Huagen LIANG , Ling LIU , Shijian LU . Efficient photothermal catalytic CO2 cycloaddition over W18O49/rGO composites. Chinese Journal of Inorganic Chemistry, 2025, 41(7): 1276-1284. doi: 10.11862/CJIC.20240424
Ruolin CHENG , Haoran WANG , Jing REN , Yingying MA , Huagen LIANG . Efficient photocatalytic CO2 cycloaddition over W18O49/NH2-UiO-66 composite catalyst. Chinese Journal of Inorganic Chemistry, 2024, 40(3): 523-532. doi: 10.11862/CJIC.20230349
Mengxiang Zhu , Tao Ding , Yunzhang Li , Yuanjie Peng , Ruiping Liu , Quan Zou , Leilei Yang , Shenglei Sun , Pin Zhou , Guosheng Shi , Dongting Yue . Graphene controlled solid-state growth of oxygen vacancies riched V2O5 catalyst to highly activate Fenton-like reaction. Chinese Chemical Letters, 2024, 35(12): 109833-. doi: 10.1016/j.cclet.2024.109833
Ning Liu , Man Tian , Ye Zhang , Jinming Yang , Zhihao Wang , Wangxi Dai , Guixiang Quan , Jianqiu Lei , Xiaodong Zhang , Liang Tang . Three-dimensional MIL-88A(Fe)-derived α-Fe2O3 and graphene composite for efficient photo-Fenton-like degradation of ciprofloxacin. Chinese Chemical Letters, 2025, 36(12): 111063-. doi: 10.1016/j.cclet.2025.111063
Cuiwu MO , Gangmin ZHANG , Chao WU , Zhipeng HUANG , Chi ZHANG . A(NH2SO3) (A=Li, Na): Two ultraviolet transparent sulfamates exhibiting second harmonic generation response. Chinese Journal of Inorganic Chemistry, 2024, 40(7): 1387-1396. doi: 10.11862/CJIC.20240045
Yanqiu Xu , Xuanli Chen , Yin Li , Keyu Zhang , Shaoze Zhang , Junxian Hu , Yaochun Yao . Progress in Na2FePO4F cathodes for energy storage: Fabrication, modification and application. Chinese Chemical Letters, 2025, 36(12): 110574-. doi: 10.1016/j.cclet.2024.110574
Ruofan Yin , Zhaoxin Guo , Rui Liu , Xian-Sen Tao . Ultrafast synthesis of Na3V2(PO4)3 cathode for high performance sodium-ion batteries. Chinese Chemical Letters, 2025, 36(2): 109643-. doi: 10.1016/j.cclet.2024.109643
Qilin YU , Yifei XU , Pengjun ZHANG , Shuwei HAO , Chongqiang ZHU , Chunhui YANG . Effect of regulating K+/Na+ ratio on the structure and optical properties of double perovskite Cs2NaBiCl6: Mn2+. Chinese Journal of Inorganic Chemistry, 2025, 41(6): 1058-1067. doi: 10.11862/CJIC.20240418
Débora Ferreira dos Santos Morais , José Luis Tirado , Carlos Pérez-Vicente , Fabiana Villela da Motta , Pedro Lavela , Mauricio Bomio , Sergio Lavela . Unlocking the performance of sodium-ion batteries by coating Na3V2(PO4)3 with Nb2O5. Acta Physico-Chimica Sinica, 2026, 42(2): 100180-0. doi: 10.1016/j.actphy.2025.100180
Tong WANG , Xuefang ZHU , Qi GAO , Hongbo ZHANG , Chao REN , Lixia GE . Luminescence and thermal stability of Tb3+-Eu3+ doped glass-ceramics containing Na8.12Y1.293Si6O18 crystal phase. Chinese Journal of Inorganic Chemistry, 2025, 41(11): 2237-2250. doi: 10.11862/CJIC.20250137
Hongrui Zhang , Miaoying Cui , Yongjie Lv , Yongfang Rao , Yu Huang . A short review on research progress of ZnIn2S4-based S-scheme heterojunction: Improvement strategies. Chinese Chemical Letters, 2025, 36(4): 110108-. doi: 10.1016/j.cclet.2024.110108
Qing Xue , Shengyi Li , Yanan Zhao , Peng Sheng , Li Xu , Zhengxi Li , Bo Zhang , Hui Li , Bo Wang , Libin Yang , Yuliang Cao , Zhongxue Chen . Novel Alkaline Sodium-Ion Battery Capacitor Based on Active Carbon||Na0.44MnO2 towards Low Cost, High-Rate Capability and Long-Term Lifespan. Acta Physico-Chimica Sinica, 2024, 40(2): 2303041-0. doi: 10.3866/PKU.WHXB202303041
Xibao Li , Yiyang Wan , Fang Deng , Yingtang Zhou , Pinghua Chen , Fan Dong , Jizhou Jiang . Advances in Z-scheme and S-scheme heterojunctions for photocatalytic and photoelectrocatalytic H2O2 production. Chinese Chemical Letters, 2025, 36(10): 111418-. doi: 10.1016/j.cclet.2025.111418
Maomao Liu , Guizeng Liang , Ningce Zhang , Tao Li , Lipeng Diao , Ping Lu , Xiaoliang Zhao , Daohao Li , Dongjiang Yang . Electron-rich Ni2+ in Ni3S2 boosting electrocatalytic CO2 reduction to formate and syngas. Chinese Journal of Structural Chemistry, 2024, 43(8): 100359-100359. doi: 10.1016/j.cjsc.2024.100359
Zheng Li , Fangkun Li , Xijun Xu , Jun Zeng , Hangyu Zhang , Lei Xi , Yiwen Wu , Linwei Zhao , Jiahe Chen , Jun Liu , Yanping Huo , Shaomin Ji . A scalable approach to Na4Fe3(PO4)2P2O7@carbon/expanded graphite as cathode for ultralong-lifespan and low-temperature sodium-ion batteries. Chinese Chemical Letters, 2025, 36(10): 110390-. doi: 10.1016/j.cclet.2024.110390
(pH=5.5, S(Ⅳ)=5 mmol/L, t=45 ℃)
(pH=5.5, S(Ⅳ)=5 mmol/L, t=45 ℃)
(pH=5.5, S(Ⅳ)=5 mmol/L, t=45 ℃)
(pH=5.5, S(Ⅳ)=5 mmol/L, t=45 ℃)
(pH=5.5, S(Ⅳ)=5 mmol/L, t=45 ℃)
(pH=5.5, S(Ⅳ)=5 mmol/L, t=45 ℃)
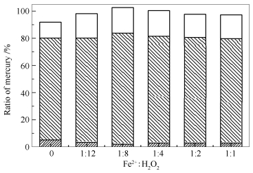
(pH=5.5, S(Ⅳ)=5 mmol/L, t=45 ℃, H2O2=0.3 mol/L)
(pH=5.5,S(Ⅳ)=5 mmol/L,t=45 ℃)
(pH=5.5, S(Ⅳ)=5 mmol/L, t=45 ℃)