Citation: ZHANG Yu-kui, ZHANG Hai-xia, ZHU Zhi-ping. Physical and chemical properties of fly ash from fluidized bed gasification of Zhundong coal[J]. Journal of Fuel Chemistry and Technology, ;2016, 44(3): 305-313. shu

Physical and chemical properties of fly ash from fluidized bed gasification of Zhundong coal

  • Corresponding author: ZHANG Hai-xia, zhanghaixia@iet.cn
  • Received Date: 1 July 2015
    Revised Date: 12 October 2015

    Fund Project: The project was supported by the National Natural Science Foundation of China 21306193

Figures(9)

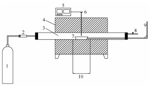
  • The ash fusion characteristics, physical structure, chemical compositions and gasification reactivity of Zhundong coal (ZD) fly ash from fluidized bed gasification were explored by fusion point analyzer, X-ray fluorescence spectrometer (XRF), scanning electron microscopy (SEM), and thermo-gravimetric analyzer. The results show that the concentrations of minerals in ZD fly ash, such as SiO2, Fe2O3, Na2O, CaO, change greatly during gasification process, but the ash fusion temperature of ZD fly ash is similar to that of ZD. There is a wide particle-size distribution in ZD fly ash, which shows a significant bimodal distribution, and a large difference of elemental compositions for ZD fly ash of different particle size. The reactivity of ZD fly ash increases with the increase in gasification temperature. Compared with the ZD char from pyrolysis, the ZD fly ash has more advanced carbon crystalline structure, a larger surface area and is relatively rich in meso-pores and macro-pores, which results in a higher gasification reactivity.
  • 加载中
    1. [1]

      CHEN Chuan, ZHANG Shou-yu, LIU Da-hai, GUO Xi, DONG Ai-xia, XIONG Shao-wu, SHI Da-zhong, LÜ Jun-fu. Existense form of sodium in high sodium coals from Xinjiang and its effect on combustion process[J]. J Fuel Chem Technol, 2013,41(7):832-838.  

    2. [2]

      DONG Ming-gang. Influence of high-sodium coal upon slagging, contamination, and corrosion on the heating surface of boilers[J]. Therm Power Gener, 2008,37(9):35-39.  

    3. [3]

      YANG Zhong-can, LIU Jia-li, HE Hong-guang. Study on properties of Zhundong coal in Xinjiang region and type-selection for boilers burning this coal sort[J]. Therm Power Gener, 2010,39(8):38-40+44.  

    4. [4]

      YU Qiang, ZHANG Jian-qiang. Effect of burning high-sodium coal on boiler heating surface[J]. Boiler Manuf, 2012(4):4-6.  

    5. [5]

      ZHANG Shou-yu, CHEN Chuan, SHI Da-zhong, LÜ Jun-fu, WANG Jian, GUO Xi, DONG Ai-xia, XIONG Shao-wu. Situation of combustion utilization of high sodium coal[J]. Proc CSEE, 2013,33(5):1-12+7.  

    6. [6]

      LIN C L, PENG T H, WANG W J. Effect of particle size distribution on agglomeration/defluidization during fluidized bed combustion[J]. Powder Technol, 2011,207(1/3):290-295.  

    7. [7]

      LI Zhen-zhu, MA Xiu-wei, LI Feng-hai, XUE Zhao-min, HUANG Jie-jie, FANG Yi-tian. Review on fly ash characteristics from coal gasification[J]. Appl Chem Ind, 2014,43(10):1891-1894+1898.  

    8. [8]

      MONDAL P, DANG G S, GARG M O. Syngas production through gasification and cleanup for downstream applications -recent developments[J]. Fuel Process Technol, 2011,92(8):1395-1410. doi: 10.1016/j.fuproc.2011.03.021

    9. [9]

      YANG Xin, HUANG Jie-jie, FANG Yi-tian, WANG Yang. Slagging characteristics of fly ash from anthracite gasification in fludized bed[J]. J Fuel Chem Technol, 2013,41(1):1-8. doi: 10.1016/S1872-5813(13)60009-2 

    10. [10]

      OBOIRIEN B O, ENGELBRECHT A D, NORTH B C, ERAMUS R M, FALCON R. Mineral-Char interaction during gasification of high-ash coals in fluidized-bed gasification[J]. Energy Fuels, 2011,25(11):5189-5199. doi: 10.1021/ef201056j

    11. [11]

      KELEBOPILE L, SUN R, LIAO J. Fly ash and coal char reactivity from Thermo-gravimetric (TGA) experiments[J]. Fuel Process Technol, 2011,92(6):1178-1186. doi: 10.1016/j.fuproc.2011.01.007

    12. [12]

      LI Feng-hai, LI Zhen-zhu, HUANG Jie-jie, FANG Yi-tian. Characteristics of fine chars from fluidized bed gasification of Shenmu coal[J]. J Fuel Chem Technol, 2014,42(10):1153-1159. doi: 10.1016/S1872-5813(14)60046-3 

    13. [13]

      GU J, WU S, WU Y, LI Y, GAO J. Differences in gasification behaviors and related properties between entrained gasifier fly ash and coal char[J]. Energy Fuels, 2008,22(6):4029-4033. doi: 10.1021/ef800527x

    14. [14]

      JING X, WANG Z, YU Z, ZHANG Q, LI C, FANG Y. Experimental and kinetic investigations of CO2 gasification of fine chars separated from a pilot-Scale fluidized-bed gasifier[J]. Energy Fuels, 2013,27(5):2422-2430. doi: 10.1021/ef4002296

    15. [15]

      JIANG Hai-bo, ZHU Zhi-ping, WANG Yue, YU Kuang-shi, LIU Jia-peng, LÜ Qing-gang. Coal gasification in fluidized bed[J]. Chem Eng, 2014,42(8):60-64.

    16. [16]

      FAN Dong-mei. Characteristics study on pyrolysis and gasification of low rank coals[D]. Beijing: University of Chinese Academy of Sciences (Institute of Engineering Thermophysics), 2013.

    17. [17]

      LI Wei, LI Shi-yuan, REN Qiang-qiang, LÜ Qing-gang, BAO Shao-lin. Combustion characteristics of residual carbon after gasification of coal from Ningxia Shigouyi[J]. Coal Convers, 2013,36(3):19-23.  

    18. [18]

      LIU Jing, WANG Zhi-hua, XIANG Fei-peng, HUANG Zhen-yu, LIU Jian-zhong, ZHOU Jun-hu, CEN Ke-fa. Models of occurence and transformation of alkali metals in Zhundong coal during combustion[J]. J Fuel Chem Technol, 2014,42(3):316-322.  

    19. [19]

      ZHAO Xiao-hui. Study on ash deposition in boiler based on modes of occurrence and transformation of mineral matters[D]. Hangzhou: Zhejiang University, 2007.

    20. [20]

      LI F, HUANG J, FANG Y, WANG Y. Formation mechanism of slag during fluid-bed gasification of lignite[J]. Energy Fuels, 2011,25:273-280. doi: 10.1021/ef101268e

    21. [21]

      DAVISON R L, NATUSCH D F S, WALLACE J R, Evans C A. Trace-elements in fly ash-dependence of concentration on particle-size[J]. Environ Sci Technol, 1974,8(13):1107-1113. doi: 10.1021/es60098a003

    22. [22]

      MANZOORI A R, AGARWAL P K. The fate of organically bound inorganic elements and sodium-chloride during fluidized-bed combustion of high sodium, high sulfur low rank coals[J]. Fuel, 1992,71(5):513-522. doi: 10.1016/0016-2361(92)90148-H

    23. [23]

      DONG Qian, ZHANG Hai-xia, ZHU Zhi-ping. Influence of pretreatment on Na content analysis of Zhundong coal[J]. Clean Coal Technol, 2015,21(2):82-86.  

    24. [24]

      WANG X, XU Z, WEI B, ZHANG L, YANG T, MIKULCIC H, DUIC N. The ash deposition mechanism in boilers burning Zhundong coal with high contents of sodium and calcium: A study from ash evaporating to condensing[J]. Appl Therm Eng, 2015,80:150-159. doi: 10.1016/j.applthermaleng.2015.01.051

    25. [25]

      TAKARADA T, TAMAI Y, TOMITA A. Reactivities of 34 coals under steam gasification[J]. Fuel, 1985,64(10):1438-1442. doi: 10.1016/0016-2361(85)90347-3

  • 加载中
    1. [1]

      Xuyu WANGXinran XIEDengke CAO . Photoreaction characteristics and luminescence modulation in phosphine-anthracene-based Au(Ⅰ) and Ir(Ⅲ) complexes. Chinese Journal of Inorganic Chemistry, 2025, 41(8): 1513-1522. doi: 10.11862/CJIC.20250113

    2. [2]

      Shiqian WEIXinyu TIANHong LIUMaoxia CHENFan TANGQiang FANWeifeng FANYu HU . Oxygen reduction reaction/oxygen evolution reaction catalytic performances of different active sites on nitrogen-doped graphene loaded with iron single atoms. Chinese Journal of Inorganic Chemistry, 2025, 41(9): 1776-1788. doi: 10.11862/CJIC.20250102

    3. [3]

      Yuqiong LiBing LanBin GuanChunlong DaiFan ZhangZifeng Lin . Molten Salt Derived Mo2CTx MXene with Excellent Catalytic Performance for Hydrogen Evolution Reaction. Acta Physico-Chimica Sinica, 2024, 40(9): 2306031-0. doi: 10.3866/PKU.WHXB202306031

    4. [4]

      Xin XIONGQian CHENQuan XIE . First principles study of the photoelectric properties and magnetism of La and Yb doped AlN. Chinese Journal of Inorganic Chemistry, 2024, 40(8): 1519-1527. doi: 10.11862/CJIC.20240064

    5. [5]

      Xueyu LinRuiqi WangWujie DongFuqiang Huang . Rational Design of Bimetallic Oxide Anodes for Superior Li+ Storage. Acta Physico-Chimica Sinica, 2025, 41(3): 100021-0. doi: 10.3866/PKU.WHXB202311005

    6. [6]

      Huiying ZHANGPing LIWeixia DONGZhiwen HUQifu BAOQizheng DONGMingmin BAIWenqi LI . Photocatalytic performance of spheroidal nano Bi4Ti3O12 prepared by surfactant-assisted hydrothermal reaction. Chinese Journal of Inorganic Chemistry, 2026, 42(3): 551-561. doi: 10.11862/CJIC.20250269

    7. [7]

      Yuting BaiCenqi YanZhen LiJiaqiang QinPei Cheng . Preparation of High-Strength Polyimide Porous Films with Thermally Closed Pore Property by In Situ Pore Formation Method. Acta Physico-Chimica Sinica, 2024, 40(9): 2306010-0. doi: 10.3866/PKU.WHXB202306010

    8. [8]

      Gang ZHANGJian ZHANGHaiyang CHUChongxin QIANLai WEI . Chlorobenzene additive-assisted regulation of (PMA)2PbBr4 crystal growth and photoelectric properties. Chinese Journal of Inorganic Chemistry, 2026, 42(4): 713-721. doi: 10.11862/CJIC.20250318

    9. [9]

      Guoqiang ChenZixuan ZhengWei ZhongGuohong WangXinhe Wu . Molten Intermediate Transportation-Oriented Synthesis of Amino-Rich g-C3N4 Nanosheets for Efficient Photocatalytic H2O2 Production. Acta Physico-Chimica Sinica, 2024, 40(11): 2406021-0. doi: 10.3866/PKU.WHXB202406021

    10. [10]

      Zehao ZhangZheng WangHaibo Li . Preparation of 2D V2O3@Pourous Carbon Nanosheets Derived from V2CFx MXene for Capacitive Desalination. Acta Physico-Chimica Sinica, 2024, 40(8): 2308020-0. doi: 10.3866/PKU.WHXB202308020

    11. [11]

      Fan JIAWenbao XUFangbin LIUHaihua ZHANGHongbing FU . Synthesis and electroluminescence properties of Mn2+ doped quasi-two-dimensional perovskites (PEA)2PbyMn1-yBr4. Chinese Journal of Inorganic Chemistry, 2024, 40(6): 1114-1122. doi: 10.11862/CJIC.20230473

    12. [12]

      Qiang Zhou Yu Huang Jiahe Li Wei Shao Wanqun Hu Pingping Zhu . Design and Practice of Ideological and Political Cases in the Course of Polymer Physics Experiments: Taking “3D Printing Based on Fused Deposition Modeling/Photocuring Molding” as an Example. University Chemistry, 2026, 41(2): 393-399. doi: 10.12461/PKU.DXHX202502104

    13. [13]

      Quanliang Chen Zhaohui Zhou . Research on the Active Site of Nitrogenase over Fifty Years. University Chemistry, 2024, 39(7): 287-293. doi: 10.3866/PKU.DXHX202310133

    14. [14]

      Wentao Lin Wenfeng Wang Yaofeng Yuan Chunfa Xu . Concerted Nucleophilic Aromatic Substitution Reactions. University Chemistry, 2024, 39(6): 226-230. doi: 10.3866/PKU.DXHX202310095

    15. [15]

      Zhi Chai Huashan Huang Xukai Shi Yujing Lan Zhentao Yuan Hong Yan . Wittig反应的立体选择性. University Chemistry, 2025, 40(8): 192-201. doi: 10.12461/PKU.DXHX202410046

    16. [16]

      Hongyu Cheng Ruiyao Wang Xingwen Sun . Mechanistic Study of the Classic Hofmann Elimination Reaction. University Chemistry, 2025, 40(12): 187-191. doi: 10.12461/PKU.DXHX202510104

    17. [17]

      Heng Zhang . Determination of All Rate Constants in the Enzyme Catalyzed Reactions Based on Michaelis-Menten Mechanism. University Chemistry, 2024, 39(4): 395-400. doi: 10.3866/PKU.DXHX202310047

    18. [18]

      Yuting Zhang Zhiqian Wang . Methods and Case Studies for In-Depth Learning of the Aldol Reaction Based on Its Reversible Nature. University Chemistry, 2024, 39(7): 377-380. doi: 10.3866/PKU.DXHX202311037

    19. [19]

      Ruitong Zhang Zhiqiang Zeng Xiaoguang Zhang . Improvement of Ethyl Acetate Saponification Reaction and Iodine Clock Reaction Experiments. University Chemistry, 2024, 39(8): 197-203. doi: 10.3866/PKU.DXHX202312004

    20. [20]

      Haitang WANGYanni LINGXiaqing MAYuxin CHENRui ZHANGKeyi WANGYing ZHANGWenmin WANG . Construction, crystal structures, and biological activities of two Ln3 complexes. Chinese Journal of Inorganic Chemistry, 2024, 40(8): 1474-1482. doi: 10.11862/CJIC.20240188

Metrics
  • PDF Downloads(1)
  • Abstract views(1763)
  • HTML views(280)

通讯作者: 陈斌, bchen63@163.com
  • 1. 

    沈阳化工大学材料科学与工程学院 沈阳 110142

  1. 本站搜索
  2. 百度学术搜索
  3. 万方数据库搜索
  4. CNKI搜索
Address:Zhongguancun North First Street 2,100190 Beijing, PR China Tel: +86-010-82449177-888
Powered By info@rhhz.net

/

DownLoad:  Full-Size Img  PowerPoint
Return