Citation: ZHU Chuan, ZHONG Jin-long, QU Si-jian, GUO Hao, XIE Qiang, WANG Yue. Effect of hydrothermal treatment on Na and Ca migration behavior during pyrolysis of Baishihu coal[J]. Journal of Fuel Chemistry and Technology, ;2018, 46(11): 1305-1314. shu

Effect of hydrothermal treatment on Na and Ca migration behavior during pyrolysis of Baishihu coal

  • Corresponding author: ZHU Chuan, zhuchuan@bricc.cn
  • Received Date: 16 July 2018
    Revised Date: 19 September 2018

    Fund Project: The project was supported by the National Key Research and Development Program of China(2018YFF0213803)the National Key Research and Development Program of China 2018YFF0213803

Figures(9)

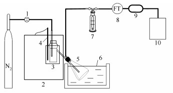
  • Vitrinite-rich Baishihu coal (BSR) was hydrothermally treated in an autoclave. FT-IR spectra peak fitting was used to investigate change of oxygen functional groups. Fixed bed was applied to pyrolysis of hydrothermal treated samples with and without separation of liquid waste, then contents of Na and Ca in these pyrolysis products were determined by atomic absorption spectrophotometer (AAS).The results show that moisture and chlorine content in Baishihu coal and Na2O content in ash decrease significantly after hydrothermal treatment. The hydrolysis of aryl ethers of Baishihu coal and the ion exchange reaction of carboxylate lead to increase of hydrogen content and H/C atomic ratio, promoting increase of tar yield during pyrolysis. The organic Ca can be removed by hydrothermal treatment at 300℃ and is separated with the hydrothermal liquid waste. Because of catalysis of inorganic elements such as sodium and calcium in hydrothermal liquid on coal pyrolysis, the hydrothermal treated samples without separation of liquid waste has higher gas yield and lower tar yield than those with separation of liquid waste. Na content and distribution in pyrolysis products of BSR and treated samples decease as:char > water > tar > gas, while the order of Ca is:char > tar > water > gas. As the hydrothermally treated temperature increases, the released content of sodium and calcium during pyrolysis process decreases. The released Na during pyrolysis mainly distributes in water, followed by tar, while Ca is just opposite.
  • 加载中
    1. [1]

      ZHANG Shou-yu, CHEN Chuan, SHI Da-zhong, LÜ Jun-fu, WANG Jian, GUO Xi, DONG Ai-xia, XIONG Shao-wu. Situation of combustion utilization of high sodium coal[J]. Proc CSEE, 2013,33(5):1-12.  

    2. [2]

      ZHOU H, ZHOU B, ZHANG H, LI L. Behavior of fouling deposits formed on a probe with different surface temperatures[J]. Energy Fuels, 2014,28:7701-7711. doi: 10.1021/ef502141x

    3. [3]

      YANG Tao, LI Wen-guang, WU Sha, ZHANG Lan, WANG Xue-bin, TAN Hou-zhang. Study on fouling mechanism in a boiler burning Xinjiang coal with high content of calcium and sodium[J]. J Fuel Chem Technol, 2015, 43(11):1320-1326. 

    4. [4]

      GAO Q, LI S, YUAN Y, ZHANG Y, YAO Q. Ultrafine particulate matter formation in the early stage of pulverized coal combustion of high-sodium lignite[J]. Fuel, 2015,158:224-231. doi: 10.1016/j.fuel.2015.05.028

    5. [5]

      ILYUSHECHKIN A Y, ROBERTS D. Slagging behaviour of Australian brown coals and implications for their use in gasification technologies[J]. Fuel Process Technol, 2016,147:47-56. doi: 10.1016/j.fuproc.2015.10.028

    6. [6]

      ZHANG L, TAN H, YANG T, MIKULČIĆ H, DUIĆ N. The ash deposition mechanism in boilers burning Zhundong coal with high contents of sodium and calcium:A study from ash evaporating to condensing[J]. Appl Therm Eng, 2015,80:150-159. doi: 10.1016/j.applthermaleng.2015.01.051

    7. [7]

      ZHAO Y, HU H, JIN L, HE X, WU B. Pyrolysis behavior of vitrinite and inertinite from Chinese Pingshuo coal by TG-MS and in a fixed bed reactor[J]. Fuel Process Technol, 2011,92:780-786. doi: 10.1016/j.fuproc.2010.09.005

    8. [8]

      ZHU Chuan, QU Si-jian, ZHANG Ning-ning, SHAO Xun, CAI Zhi-dan, ZHANG Yu-hong, WANG Yue, XIE Qiang. Pyrolysis characteristics of Xinjiang Baishihuvitrinite-rich coal with high alkali content[J]. J China Coal Soc, 2017,42(10):2725-2732.  

    9. [9]

      GONG Zhi-jian. Research progress of lignite hydrothermal upgrading technology[J]. Clean Coal Technol, 2015,21(1):41-44+49.  

    10. [10]

      XIANG F, HE Y, KUMAR S, WANG Z, LIU L, HUANG Z, LIU J, CEN K. Influence of hydrothermal dewatering on trace element transfer in Yimincoal[J]. Appl Therm Eng, 2017,117:675-681. doi: 10.1016/j.applthermaleng.2016.12.100

    11. [11]

      ZHAO Bing, WANG Jia-rui, CHEN Fan-min, WANG Xiao-yue, LI Xiao-jiang. Hydrothermal treatment to remove sodium from highsodium coal anditsinfluence on combustion characteristics[J]. J Fuel Chem Technol, 2014,42(12):1416-1422. doi: 10.3969/j.issn.0253-2409.2014.12.002 

    12. [12]

      LI G Y, DING J X, ZHANG H, HOU C X, WANG F, LI Y Y, LIANG Y H. ReaxFF simulations of hydrothermal treatment of lignite and its impaction chemical structures[J]. Fuel, 2015,154:243-251. doi: 10.1016/j.fuel.2015.03.082

    13. [13]

      ZHANG D, LIU P, LU X, WANG L, PAN T. Upgrading of low rank coal by hydrothermal treatment:Coal tar yield during pyrolysis[J]. Fuel Process Technol, 2016,141:117-122. doi: 10.1016/j.fuproc.2015.06.037

    14. [14]

      LI C Z. Advances in the Victorian Brown Coal[M].YU Jiang-long, CHANG Li-ping translate. Beijing: Chemical Technology Press, 2009.

    15. [15]

      HAYASHI J, MORI T, AMAMOTO S, KUSAKABE A K, MOROOKA S. Flash pyrolysis of brown coal modified by alcohol-vapor explosion treatment[J]. Energy Fuels, 1996,10(5):1099-1107. doi: 10.1021/ef950118e

    16. [16]

      YANG Yan-mei, ZHANG Yang, ZHANG Hai, WU Yu-xin, LIU Qing, LÜ Jun-fu. Release characteristics of Na/Ca in Zhundong coal under inert atmosphere[J]. J Fuel Chem Technol, 2018,46(4):385-390. doi: 10.3969/j.issn.0253-2409.2018.04.001 

    17. [17]

      LUO An-qi, ZHU Ping, ZHANG Jian-shu, QU Xuan, ZHANG Rong, BI Ji-cheng, ZHANG Jin-li. Effect of atmosphere on sodium migration during conversion of high sodium coals[J]. J Fuel Chem Technol, 2018,46(5):513-520. doi: 10.3969/j.issn.0253-2409.2018.05.001 

    18. [18]

      DOU Bin-lin, LU Jun, SHEN Wen-qin, GAO Jin-sheng, SHA Xing-zhong. Removal of HCl and Alkali Metal Vapor in High-temperature Coal Gas[J]. J East China Uni Sci Technol, 2001,3:273-276. doi: 10.3969/j.issn.1006-3080.2001.03.014

    19. [19]

      WANG Wen-hui, JIA Bao-yu, YAO Hong, LI Xian. An investigation of sodium transformation in Zhundong coal during pyrolysis[J]. J Eng Thermophysics, 2015,36(12):2733-2737.  

    20. [20]

      SONG Wei-jian, SONG Guo-liang, ZHANG Hai-xia, FAN Jin-long, LÜ Qing-gang. Experimental study on alkali metal transformation during high-sodium Zhundong coal pyrolysis[J]. J Fuel Chem Technol, 2015,43(1):16-21. doi: 10.3969/j.issn.0253-2409.2015.01.003 

    21. [21]

      WANG Z, LIU Y, WHIDDON R, WAN K, HE Y, XIA J, CEN K. Measurement of atomic sodium release during pyrolysis and combustion of sodium-enriched Zhundong coal pellet[J]. Combust Flame, 2017,176:429-438. doi: 10.1016/j.combustflame.2016.10.020

    22. [22]

      QIU Peng-hua, ZHAO Yan, CHEN Xi-ye, XU Jian-jian, DU Ya-wen, FANG Lai-xi, SUN Shao-zeng. Effects of alkali and alkaline earth metallic species on pyrolysis characteristics and kinetics of Zhundongcoal[J]. J Fuel Chem Technol, 2014,42(10):1178-1189. doi: 10.3969/j.issn.0253-2409.2014.10.005 

    23. [23]

      LIU Yan-quan, CHEN Le-ming, JI Jie-qiang, ZHANG Wei-guo, WANG Qin-hui, ZHOU Qi, NIE Li. Distribution characteristics of alkali emission between gas and solid phase during Zhundong coal combustion[J]. J Fuel Chem Technol, 2016,44(3):314-320. doi: 10.3969/j.issn.0253-2409.2016.03.008 

    24. [24]

      YANG Y, WU Y, ZHANG H, ZHANG M, LIU Q, YANG H, LU J. Improved sequential extraction method for determination of alkali andalkaline earth metals in Zhundongcoals[J]. Fuel, 2016,181:951-957. doi: 10.1016/j.fuel.2016.05.014

    25. [25]

      WU J H, WANG J, LIU J Z, YANG Y M, CHENG J, WANG Z H, ZHOU J H. Moisture removal mechanism of low-rank coal by hydrothermal dewatering:Physicochemical property analysis and DFT calculation[J]. Fuel, 2017,187:242-249.

    26. [26]

      WU J H, WANG J, LIU J Z, YANG Y M, CHENG J, WANG Z H. Moisture removal mechanism of low-rank coal by hydrothermal dewatering:Physicochemical property analysis and DFT calculation[J]. Fuel, 2017,187:242-249. doi: 10.1016/j.fuel.2016.09.071

    27. [27]

      LI Xiang, QIN Zhi-hong, BU Liang-hui, YANG Zhuang, SHEN Chen-yang. Structural analysis of functional group and mechanism investigation of caking property of coking coal[J]. J Fuel Chem Technol, 2016,44(4):385-393. doi: 10.3969/j.issn.0253-2409.2016.04.001 

    28. [28]

      GE L C, ZHANG Y W, XU C, WANG Z H, ZHOU J H, CEN K F. Influence of the hydrothermal dewatering on the combustion characteristics of Chinese low-rank coals[J]. Appl Therm Eng, 2015,90:174-181. doi: 10.1016/j.applthermaleng.2015.07.015

    29. [29]

      LIU P, LE J, ZHANG D, WANG S, PAN T. Free radical reaction mechanism on improving tar yield and quality derived from lignite after hydrothermal treatment[J]. Fuel, 2017,207:244-252. doi: 10.1016/j.fuel.2017.06.081

    30. [30]

      QUYN D M, WU H, BHATTACHARYA S P, LI C Z. Volatilisation and catalytic effects of alkali and alkaline earth metallic species during the pyrolysis and gasification of Victorian brown coal. Part Ⅱ. Effects of chemical form and valence[J]. Fuel, 2002,81(2):151-158. doi: 10.1016/S0016-2361(01)00128-4

    31. [31]

      GB/T 1574, Stand test method for major and minor elements in coal ash[S].

    32. [32]

      WU X, ZHANG Z, CHEN Y, ZHOU T, FAN J, PIAO G, KOBAYASHI N, MORI S, YOSHINORI I. Main mineral melting behavior and mineral reaction mechanism at molecular level of blended coal ash under gasification condition[J]. Fuel Proces Technol, 2010,91:1591-1600. doi: 10.1016/j.fuproc.2010.06.007

    33. [33]

      FAN Jian-yong, ZHOU Yong-gang, LI Pei, KONG Yan-li, WANG Bin-hui, ZHAO Hong. Research on Zhundong coal's ash melting temperature characterizing its slagging characteristics[J]. J China Coal Soc, 2013,38(S2):478-482.  

    34. [34]

      SONG Wei-jian, SONG Guo-liang, QI Xiao-bin, LÜ Qing-gang. Effect of pretreatment methods on the determination of alkali metal content in high alkali metal Zhundong coal[J]. J Fuel Chem Technol, 2016,44(2):162-167. doi: 10.3969/j.issn.0253-2409.2016.02.005 

    35. [35]

      LIU Z, GUO X, SHI LEI, HE W, WU J, LIU Q, LIU J. Reaction of volatiles-A crucial step in pyrolysis of coals[J]. Fuel, 2015,154:361-369. doi: 10.1016/j.fuel.2015.04.006

    36. [36]

      ROBERTS M J, EVERSON R C, WJPNEOMAGUS H, OKOLO G N, VAN NIEKERK D, MATHEWS J P. The characterisation of slow-heated inertinite-and vitrinite-rich coals from the South African coalfields[J]. Fuel, 2015,158:591-601. doi: 10.1016/j.fuel.2015.06.006

    37. [37]

      LU K M, LEE W J, CHEN W H, LIN T C. Thermogravimetric analysis and kinetics of co-pyrolysis of raw/torrefied wood and coal blends[J]. Appl Energy, 2013,105:57-65. doi: 10.1016/j.apenergy.2012.12.050

  • 加载中
    1. [1]

      Min Hu Yinghuan Li Yanhong Bai Yanping Ren Juanjuan Song Yongxian Fan Dongcheng Liu Xiuqiong Zeng Faqiong Zhao Wenwei Zhang Mei Shi Wan Li Xiuyun Wang Weihong Li Xiaohang Qiu Yong Fan Jianrong Zhang Shuyong Zhang . Suggestions on the Method of Hydrothermal-Solventthermal Synthesis and Their Operation Standards. University Chemistry, 2026, 41(3): 208-215. doi: 10.12461/PKU.DXHX202507034

    2. [2]

      Huiying ZHANGPing LIWeixia DONGZhiwen HUQifu BAOQizheng DONGMingmin BAIWenqi LI . Photocatalytic performance of spheroidal nano Bi4Ti3O12 prepared by surfactant-assisted hydrothermal reaction. Chinese Journal of Inorganic Chemistry, 2026, 42(3): 551-561. doi: 10.11862/CJIC.20250269

    3. [3]

      Zehua Zhao Xiaoyan An Jinrong Xu Ling Yang Hao Zhao Zhongyun Wu . Independent Development and Application of Calorimetric Experiment Data Acquisition and Processing Software. University Chemistry, 2025, 40(11): 402-408. doi: 10.12461/PKU.DXHX202505045

    4. [4]

      Limei CHENMengfei ZHAOLin CHENDing LIWei LIWeiye HANHongbin WANG . Preparation and performance of paraffin/alkali modified diatomite/expanded graphite composite phase change thermal storage material. Chinese Journal of Inorganic Chemistry, 2024, 40(3): 533-543. doi: 10.11862/CJIC.20230312

    5. [5]

      Xinyu Zhu Meili Pang . Application of Functional Group Addition Strategy in Organic Synthesis. University Chemistry, 2024, 39(3): 218-230. doi: 10.3866/PKU.DXHX202308106

    6. [6]

      Wen Jiang Jieli Lin Zhongshu Li . 低配位含磷官能团的研究进展. University Chemistry, 2025, 40(8): 138-151. doi: 10.12461/PKU.DXHX202409144

    7. [7]

      Yuanyuan Ping Wangqing Kong . 光催化碳氢键官能团化合成1-苯基-1,2-乙二醇. University Chemistry, 2025, 40(6): 238-247. doi: 10.12461/PKU.DXHX202408092

    8. [8]

      Shengwen XULonglong YANGHouji CAODeshuang TUXing WEIChangsheng LUHong YAN . Research progress on light-induced functionalization of polyhedral carborane clusters. Chinese Journal of Inorganic Chemistry, 2025, 41(11): 2187-2200. doi: 10.11862/CJIC.20250192

    9. [9]

      Qi Zhang Ziyu Liu Hongxia Tan Jun Tong Dazhen Xu . Research Progress on Direct Synthesis of β-Hydroxy Sulfones via Difunctionalization of Olefins. University Chemistry, 2025, 40(11): 199-209. doi: 10.12461/PKU.DXHX202412064

    10. [10]

      Yuena Yang Xufang Hu Yushan Liu Yaya Kuang Jian Ling Qiue Cao Chuanhua Zhou . The Realm of Smart Hydrogels. University Chemistry, 2024, 39(5): 172-183. doi: 10.3866/PKU.DXHX202310125

    11. [11]

      Wentao XuXuyan MoYang ZhouZuxian WengKunling MoYanhua WuXinlin JiangDan LiTangqi LanHuan WenFuqin ZhengYoujun FanWei Chen . Bimetal Leaching Induced Reconstruction of Water Oxidation Electrocatalyst for Enhanced Activity and Stability. Acta Physico-Chimica Sinica, 2024, 40(8): 2308003-0. doi: 10.3866/PKU.WHXB202308003

    12. [12]

      Zhaoxuan ZHULixin WANGXiaoning TANGLong LIYan SHIJiaojing SHAO . Application of poly(vinyl alcohol) conductive hydrogel electrolytes in zinc ion batteries. Chinese Journal of Inorganic Chemistry, 2025, 41(5): 893-902. doi: 10.11862/CJIC.20240368

    13. [13]

      Ke QiuFengmei WangMochou LiaoKerun ZhuJiawei ChenWei ZhangYongyao XiaXiaoli DongFei Wang . A Fumed SiO2-based Composite Hydrogel Polymer Electrolyte for Near-Neutral Zinc-Air Batteries. Acta Physico-Chimica Sinica, 2024, 40(3): 2304036-0. doi: 10.3866/PKU.WHXB202304036

    14. [14]

      Danqing Wu Jiajun Liu Tianyu Li Dazhen Xu Zhiwei Miao . Research Progress on the Simultaneous Construction of C—O and C—X Bonds via 1,2-Difunctionalization of Olefins through Radical Pathways. University Chemistry, 2024, 39(11): 146-157. doi: 10.12461/PKU.DXHX202403087

    15. [15]

      Kun Xu Xinxin Song Zhilei Yin Jian Yang Qisheng Song . Comprehensive Experimental Design of Preferential Orientation of Zinc Metal by Heat Treatment for Enhanced Electrochemical Performance. University Chemistry, 2024, 39(4): 192-197. doi: 10.3866/PKU.DXHX202309050

    16. [16]

      Jie ZHAOHuili ZHANGXiaoqing LUZhaojie WANG . Theoretical calculations of CO2 capture and separation by functional groups modified 2D covalent organic framework. Chinese Journal of Inorganic Chemistry, 2025, 41(2): 275-283. doi: 10.11862/CJIC.20240213

    17. [17]

      Zhuo WANGJunshan ZHANGShaoyan YANGLingyan ZHOUYedi LIYuanpei LAN . Preparation and photocatalytic performance of CeO2-reduced graphene oxide by thermal decomposition. Chinese Journal of Inorganic Chemistry, 2024, 40(9): 1708-1718. doi: 10.11862/CJIC.20240067

    18. [18]

      Yang Lv Yingping Jia Yanhua Li Hexiang Zhong Xinping Wang . Integrating the Ideological Elements with the “Chemical Reaction Heat” Teaching. University Chemistry, 2024, 39(11): 44-51. doi: 10.12461/PKU.DXHX202402059

    19. [19]

      Yang ZHOULili YANWenjuan ZHANGPinhua RAO . Thermal regeneration of biogas residue biochar and the ammonia nitrogen adsorption properties. Chinese Journal of Inorganic Chemistry, 2025, 41(8): 1574-1588. doi: 10.11862/CJIC.20250032

    20. [20]

      Yuting BaiCenqi YanZhen LiJiaqiang QinPei Cheng . Preparation of High-Strength Polyimide Porous Films with Thermally Closed Pore Property by In Situ Pore Formation Method. Acta Physico-Chimica Sinica, 2024, 40(9): 2306010-0. doi: 10.3866/PKU.WHXB202306010

Metrics
  • PDF Downloads(6)
  • Abstract views(970)
  • HTML views(106)

通讯作者: 陈斌, bchen63@163.com
  • 1. 

    沈阳化工大学材料科学与工程学院 沈阳 110142

  1. 本站搜索
  2. 百度学术搜索
  3. 万方数据库搜索
  4. CNKI搜索
Address:Zhongguancun North First Street 2,100190 Beijing, PR China Tel: +86-010-82449177-888
Powered By info@rhhz.net

/

DownLoad:  Full-Size Img  PowerPoint
Return