Citation: ZHANG Jin, LI Xiao-hua, DONG Liang-xiu, WANG Jia-jun, LIU Sha, CAI Yi-xi, SHAO Shan-shan, ZHANG Xiao-lei, HU Chao. Online upgrading of bio-oil with alkali-treated HZSM-5 zeolites[J]. Journal of Fuel Chemistry and Technology, ;2017, 45(7): 828-836. shu

Online upgrading of bio-oil with alkali-treated HZSM-5 zeolites

  • Corresponding author: LI Xiao-hua, lixiaohua@ujs.edu.cn
  • Received Date: 23 February 2017
    Revised Date: 27 April 2017

    Fund Project: the National Natural Science Foundation of China 51276085the Priority Academic Program Development of Jiangsu Higher Education Institutions PDPA

Figures(10)

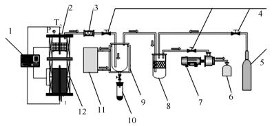
  • HZSM-5 zeolite was treated by sodium hydroxide solution, and then characterized by XRD, SEM, BET and Py-FTIR, respectively. Physical and chemical properties and composition analysis was applied to the organic phase of bio-oils. Thermogravimetric analysis was performed on three deactivated catalysts after using for 120 min and the peak area of char was calculated. The results show that the alkali-treated HZSM-5 catalyst retains typical MFI topology structure and forms a certain number of mesoporous. At the same time, the bio-oil organic phase made with modified HZSM-5 (after 1 h treatment) achieves a higher yield rate and better physical properties. The content of hydrocarbons increases significantly to 37.67% mainly with the increase of mononuclear aromatics. In addition, modified HZSM-5 catalyst (after 1 h treatment) has a better effect on the removal of acid, aldehyde and ketone contained in the bio-oil organic phase, which improves stability of the bio-oil with calorific value of 35.32 MJ/kg. The amount of coke in the HZSM-5 zeolite after 1 h alkali treatment obviously decreases.
  • 加载中
    1. [1]

      XU Ying, WANG Tie-jun, MA Long-long, ZHANG Qi, CHEN Guan-yi. Technology of bio-oil preparation by vacuum pyrolysis of pine straw[J]. Trans Chin Soc Agric Eng, 2013,29(1):196-201.  

    2. [2]

      ZHU Xi-feng. Research development of biomass fast pyrolysis[J]. J Circ Syst, 2013,1(1):32-37.  

    3. [3]

      El-BABARY M H, PHILIP H S, LEONARD I. Characterization of fast pyrolysis bio-oils produced from pretreated pine wood[J]. Appl Biochem Biotechnol, 2009,154(1):3-13.  

    4. [4]

      NIU X J, GAO J, MIAO Q, DONG M, WANG G F, FAN W B, QIN Z F, WANG J G. Influence of preparation method on the performance of Zn-containing HZSM-5 catalysts in methanol-to-aromatics[J]. Microporous Mesoporous Mater, 2014,197:252-261. doi: 10.1016/j.micromeso.2014.06.027

    5. [5]

      GUO Xiao-Ya, YAN Yong-jie. Study on catalytic cracking of bio-oil pyrolyzed from biomass[J]. Chem React Eng Technol, 2005,21(3):227-233.  

    6. [6]

      GROEN J C, ZHU W, BROUWER S, HUYNINK S, KAPTEIJN F, MOULIJN J. Direct demonstration of enhanced diffusion in mesoporous ZSM-5 zeolite obtained via controlled desilication[J]. J Am Chem Soc, 2007,129(2):355-360. doi: 10.1021/ja065737o

    7. [7]

      PENG Peng, ZHANG Zhan-quan, WANG You-he, FAZLE S, YAN Zi-feng. Hierarchical molecular sieves:Synthesis and catalytic applications[J]. Prog Chem, 2013,25(12):2029-2037.  

    8. [8]

      SOHRAB F, MORTEZA S, CAVUS F. Improvement of HZSM-5 performance by alkaline treatments:Comparative catalytic study in the MTG reactions[J]. Fuel, 2014,116(2014):529-537.  

    9. [9]

      WEI Y, PETRA E, DAVID J L, MATTEO L M, GLENN J, KRIJN P. Enhanced catalytic performance of zeolite ZSM-5 for conversion of methanol to dimethyl ether by combining alkaline treatment and partial activation[J]. Appl Catal A:Gen, 2015,504:211-219. doi: 10.1016/j.apcata.2014.12.027

    10. [10]

      FAN Yong-sheng, CAI Yi-xi, LI Xiao-hua, YU Ning, YIN Hai-yun. Catalytic upgrading of pyrolytic vapors from rape straw vacuum pyrolysis[J]. Trans Chin Soc Agric Mach, 2014,45(12):234-240. doi: 10.6041/j.issn.1000-1298.2014.12.035

    11. [11]

      FAN Y S, CAI Y X, LI X H, YIN H Y, YU N. R ape straw as a source of bio-oil via vacuum pyrolysis:Optimization of bio-oil yield using orthogonal design method and characterization of bio-oil[J]. J Anal Appl Pyrolysis, 2014,106(3):63-70.  

    12. [12]

      FU T, ZHOU H, LI Z. Effect of particle morphology for ZSM-5 zeolite on the catalytic conversion of methanol to gasoline-range hydrocarbons[J]. Catal Lett, 2016,146(10):1973-1983. doi: 10.1007/s10562-016-1841-3

    13. [13]

      YANG Ya, GUO Qing-jie, YANG Lin, ZHANG Liang, WANG Xu-yun, ZHANG Xiu-li. Catalytic cracking of chlorella over HZSM-5 zeolite modified by desilication in alkalille medium[J]. Acta Energ Sin, 2016,37(1):171-177.  

    14. [14]

      XU Qing-li, ZHAO Jun, LI Hong-yu, WANG Fu, YAN Yong-jie. Catalytic cracking of bio-oil upgrading mechanism[J]. J Shenyang Univ, 2012,24(2):15-17.  

    15. [15]

      AHO A, KUMAR N, LASHKUL A V, ERANEN K, ZIOLEK M, DECYK P, SALMI T, HOLMBOM B. Catalytic upgrading of woody biomass derived pyrolysis vapors over iron modified zeolites in a dual-fluidized bed reactor[J]. Fuel, 2010,89(8):1992-2000. doi: 10.1016/j.fuel.2010.02.009

    16. [16]

      ZHANG L H, XU C B, PASCALE C. Overview of recent advances in thermo-chemical conversion of biomass[J]. Energ Convers Manage, 2010,251(5):969-982.  

    17. [17]

      GUO Chun-Lei, FANG Xiang-chen, JIA Li-ming, LIU Quan-jie, ZHAO Xiao-dong. Development of zeolitic reforming catalyst[J]. Prog Chem, 2012,31(4):825-832.  

    18. [18]

      WANG J, GRONE J C. Facile synthesis of ZSM-5 composites with hierarchical poposity[J]. J Mater Chem, 2008,18(4):468-478. doi: 10.1039/B711847C

    19. [19]

      FAN Yong-sheng. Basic study on vacuum pyrolysis and catalytic transformation of biomass for preparation of bio-oil[D]. Jiangsu:Jiangsu University, 2016.

    20. [20]

      KUZNETSOV B N. Deactivation of catalysts for fossil coal and biomass conversion[J]. Catal Ind, 2009,1(3):250-259. doi: 10.1134/S2070050409030143

    21. [21]

      BEATRIZ V, CASTA O P, OLAZAR M, BILBAO J, GAYUBO A G. Deactivating species in the transformation of crude bio-oil with methanol into hydrocarbons on a HZSM-5 catalyst[J]. J Catal, 2012,285(1):304-314. doi: 10.1016/j.jcat.2011.10.004

    22. [22]

      SEO G, KIM J H, JANG H G. Methanol-to-olefin conversion over zeolite catalysts:Active intermediates and deactivation[J]. Catal Surv Asia, 2013,17(3):103-118.  

    23. [23]

      DANOV S M, ESIPOVICH A L, BELOUSOV A S, ROGOZHIN A E. Deactivation of acid catalysts in vapor-phase dehydration of glycerol into acrolein[J]. Russ J Appl Chem, 2014,87(4):461-467. doi: 10.1134/S10704272140400119

  • 加载中
    1. [1]

      Yurong Tang Yunren Shi Yi Xu Bo Qin Yanqin Xu Yunfei Cai . Innovative Experiment and Course Transformation Practice of Visible-Light-Mediated Photocatalytic Synthesis of Isoquinolinone. University Chemistry, 2024, 39(5): 296-306. doi: 10.3866/PKU.DXHX202311087

    2. [2]

      Yi RUTao MENGZhaoteng XUEDongsen MAO . Synergistic catalysis of Al distribution and pore structure in ZSM-5 zeolite for bioethanol-to-propylene. Chinese Journal of Inorganic Chemistry, 2026, 42(2): 247-262. doi: 10.11862/CJIC.20250255

    3. [3]

      Jia-He Li Yu-Ze Liu Jia-Hui Ma Qing-Xiao Tong Jian-Ji Zhong Jing-Xin Jian . 洛芬碱衍生物的合成、化学发光与重金属离子检测. University Chemistry, 2025, 40(6): 230-237. doi: 10.12461/PKU.DXHX202407080

    4. [4]

      Dan Li Hui Xin Xiaofeng Yi . Comprehensive Experimental Design on Ni-based Catalyst for Biofuel Production. University Chemistry, 2024, 39(8): 204-211. doi: 10.3866/PKU.DXHX202312046

    5. [5]

      Zhaoxin LIRuibo WEIMin ZHANGZefeng WANGJing ZHENGJianbo LIU . Advancements in the construction of inorganic protocells and their cell mimic and bio-catalytical applications. Chinese Journal of Inorganic Chemistry, 2024, 40(12): 2286-2302. doi: 10.11862/CJIC.20240235

    6. [6]

      Xin MAYa SUNNa SUNQian KANGJiajia ZHANGRuitao ZHUXiaoli GAO . A Tb2 complex based on polydentate Schiff base: Crystal structure, fluorescence properties, and biological activity. Chinese Journal of Inorganic Chemistry, 2024, 40(7): 1347-1356. doi: 10.11862/CJIC.20230357

    7. [7]

      Jinlong YANWeina WUYuan WANG . A simple Schiff base probe for the fluorescent turn-on detection of hypochlorite and its biological imaging application. Chinese Journal of Inorganic Chemistry, 2024, 40(9): 1653-1660. doi: 10.11862/CJIC.20240154

    8. [8]

      Bin SUNHeyan JIANG . Glucose-modified bis-Schiff bases: Synthesis and bio-activities in Alzheimer′s disease therapy. Chinese Journal of Inorganic Chemistry, 2025, 41(7): 1338-1350. doi: 10.11862/CJIC.20240428

    9. [9]

      Lu ZhuoranLi ShengkaiLu YuxuanWang ShuangyinZou Yuqin . Cleavage of C―C Bonds for Biomass Upgrading on Transition Metal Electrocatalysts. Acta Physico-Chimica Sinica, 2024, 40(4): 2306003-0. doi: 10.3866/PKU.WHXB202306003

    10. [10]

      Lanhui Zhang Ruiyuan Xu Yingying Weng Wanmei Li . Sapindus: Endless Wonders of “Soap”, Infinite Possibilities of “Oil”. University Chemistry, 2025, 40(11): 210-215. doi: 10.12461/PKU.DXHX202412032

    11. [11]

      Hanni Zhou Juanjuan Lu Xinrui Zhao Huilin Li Junlong Zhao . Oil-Splashed Chili: A Symphony of Traditional Cuisine and Organic Chemistry. University Chemistry, 2026, 41(3): 357-362. doi: 10.12461/PKU.DXHX202504010

    12. [12]

      Xinlong XUChunxue JINGYuzhen CHEN . Bimetallic MOF-74 and derivatives: Fabrication and efficient electrocatalytic biomass conversion. Chinese Journal of Inorganic Chemistry, 2025, 41(8): 1545-1554. doi: 10.11862/CJIC.20250046

    13. [13]

      Yue ZhangBao LiLixin Wu . GO-Assisted Supramolecular Framework Membrane for High-Performance Separation of Nanosized Oil-in-Water Emulsions. Acta Physico-Chimica Sinica, 2024, 40(5): 2305038-0. doi: 10.3866/PKU.WHXB202305038

    14. [14]

      Lijun Yue Siya Liu Peng Liu . 不同晶相纳米MnO2的制备及其对生物乙醇选择性氧化催化性能的测试——一个科研转化的综合化学实验. University Chemistry, 2025, 40(8): 225-232. doi: 10.12461/PKU.DXHX202410005

    15. [15]

      Guoze YanBin ZuoShaoqing LiuTao WangRuoyu WangJinyang BaoZhongzhou ZhaoFeifei ChuZhengtong LiYamauchi YusukeMelhi SaadXingtao Xu . Opportunities and Challenges of Capacitive Deionization for Uranium Extraction from Seawater. Acta Physico-Chimica Sinica, 2025, 41(4): 100032-0. doi: 10.3866/PKU.WHXB202404006

    16. [16]

      Wenwei Zhang Yiru Wang Chanzi Ruan Juanjuan Song Yongxian Fan Houjin Li Dongcheng Liu Yanping Ren Xiuqiong Zeng Faqiong Zhao Mei Shi Min Hu Wan Li Xiuyun Wang Weihong Li Xiaohang Qiu Yong Fan Jianrong Zhang Shuyong Zhang . Suggestions on Heating and Heating Instruments (Part III): Indirect Heating and the Use of Thermal Baths (Water Bath, Oil Bath, Metal Bath and Sand Bath). University Chemistry, 2026, 41(3): 163-171. doi: 10.12461/PKU.DXHX202507039

    17. [17]

      . . Chinese Journal of Inorganic Chemistry, 2024, 40(12): 0-0.

    18. [18]

      Zeqiu ChenLimiao CaiJie GuanZhanyang LiHao WangYaoguang GuoXingtao XuLikun Pan . Advanced electrode materials in capacitive deionization for efficient lithium extraction. Acta Physico-Chimica Sinica, 2025, 41(8): 100089-0. doi: 10.1016/j.actphy.2025.100089

    19. [19]

      Peng YUELiyao SHIJinglei CUIHuirong ZHANGYanxia GUO . Effects of Ce and Mn promoters on the selective oxidation of ammonia over V2O5/TiO2 catalyst. Chinese Journal of Inorganic Chemistry, 2025, 41(2): 293-307. doi: 10.11862/CJIC.20240210

    20. [20]

      Lei WangPanpan ZhangZhiyuan GuoJing WangJie MaZhi-yong Ji . Electrochemical lithium extraction by the faradaic materials: advances, challenges and enhancement approaches. Acta Physico-Chimica Sinica, 2026, 42(1): 100127-0. doi: 10.1016/j.actphy.2025.100127

Metrics
  • PDF Downloads(2)
  • Abstract views(1815)
  • HTML views(293)

通讯作者: 陈斌, bchen63@163.com
  • 1. 

    沈阳化工大学材料科学与工程学院 沈阳 110142

  1. 本站搜索
  2. 百度学术搜索
  3. 万方数据库搜索
  4. CNKI搜索
Address:Zhongguancun North First Street 2,100190 Beijing, PR China Tel: +86-010-82449177-888
Powered By info@rhhz.net

/

DownLoad:  Full-Size Img  PowerPoint
Return