Citation: DING Qi-zhong, ZHANG Jun, ZHAO Liang, LU Qi-an. Conversion of carbon monoxide in supercritical water and the influence of alkaline potassium salts[J]. Journal of Fuel Chemistry and Technology, ;2019, 47(8): 980-986. shu

Conversion of carbon monoxide in supercritical water and the influence of alkaline potassium salts

  • Corresponding author: ZHANG Jun, junzhang@seu.edu.cn
  • Received Date: 22 April 2019
    Revised Date: 17 June 2019

    Fund Project: Open Fund of Key Laboratory of Efficient & Clean Energy Utilization of Hunan Provincial Education Department, China 2017NGQ005Open Fund of Innovation Platform of Hunan Provincial Education Department, China 17K002The project was supported by the National Natural Science Foundation of China(51606103), Open Fund of Key Laboratory of Efficient & Clean Energy Utilization of Hunan Provincial Education Department, China (2017NGQ005), Open Fund of Innovation Platform of Hunan Provincial Education Department, China (17K002)the National Natural Science Foundation of China 51606103

Figures(9)

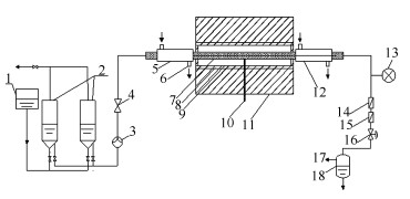
  • The conversion of carbon monoxide in supercritical water was investigated in a continuous reaction system which could dissolve carbon monoxide in water at high pressure. Meanwhile, due to the diversity of potassium salts in biomass supercritical water gasification, the influence of various alkaline potassium salts (KHCO3, K2CO3 and KOH) on the water gas shift reaction were investigated at 450-600 ℃, 23-29 MPa and with a residence time of 3-6 s. The results show that under non-catalytic conditions, the increases in reaction temperature and residence time both lead to higher CO conversion. The effect of pressure on CO conversion is distinct at low pressure (23-25 MPa), but rather minor at higher pressure (25-29 MPa). The rate expression for the non-catalytic water gas shift reaction is k=103.75×exp(-0.66×105/RT)(s-1). The potassium salts can promote the CO conversion significantly and the activity of three salts follows the order of KHCO3 > K2CO3 > KOH; the conversion of CO is enhanced at higher temperature and longer reaction time, whereas the effect of pressure on CO conversion is much complicated. The catalytic effect of alkaline potassium salts in the CO conversion may be explained by the formation of oxalate (HC2O4-) and formate (HCOO-) intermediates.
  • 加载中
    1. [1]

      RATNASAMY C, WAGNER J P. Water gas shift catalysis[J]. Catal Rev, 2009,51(3):325-440.  

    2. [2]

      MADENOĞLU T G, YILDIRIR E, SAĞLAM M, YÜKSEL M, BALLICE L. Improvement in hydrogen production from hard-shell nut residues by catalytic hydrothermal gasification[J]. J Supercrit Fluids, 2014,95:339-347. doi: 10.1016/j.supflu.2014.09.033

    3. [3]

      MELIUS C F, BERGAN N E, SHEPHERD J E. Effect of water on combustion kinetics at high pressure[C]//Proceedings of the Twenty-Third Symposium (International) on Combustion. Pittsburgh: The Combustion Institute, 1990: 217-223. 

    4. [4]

      RICE S F, STEEPER R R, AIKEN J D. Water density effects on homogeneous water-gas shift reaction kinetics[J]. J Phys Chem A, 1998,102(16):2673-2678. doi: 10.1021/jp972368x

    5. [5]

      SATO T, KUROSAWA S, SMITH JR R L, ADSCHIRI T, ARAI K. Water gas shift reaction kinetics under noncatalytic conditions in supercritical water[J]. J Supercrit Fluids, 2004,29(1/2):113-119.  

    6. [6]

      ARAKI K, FUJIWARA H, SUGIMOTO K, OSHIMA Y, KODA S. Kinetics of water-gas shift reaction in supercritical water[J]. J Chem Eng Jpn, 2004,37(3):443-448. doi: 10.1252/jcej.37.443

    7. [7]

      ZHAO Liang. Study on effects of potassium existing in biomass on small molecule intermediates gasification conversion in supercritical water[D]. Nanjing: Southeast University, 2013. 

    8. [8]

      ELLIOTT D C, SEALOCK JR L J. Aqueous catalyst systems for the water gas shift reaction. 1. Comparative catalyst studies[J]. Ind Eng Chem Prod Res Dev, 1983,22(3):426-431. doi: 10.1021/i300011a008

    9. [9]

      ELLIOTT D C, HALLEN R T, SEALOCK JR L J. Aqueous catalyst systems for the water gas shift reaction 2. Mechanism of basic catalysis[J]. Ind Eng Chem Prod Res Dev, 1983,22(3):431-435. doi: 10.1021/i300011a009

    10. [10]

      ELLIOTT D C, SEALOCK JR L J, BUTNER R S. Aqueous catalyst systems for the water gas shift reaction 3. Continuous gas processing results[J]. Ind Eng Chem Prod Res Dev, 1986,25(4):541-549. doi: 10.1021/i300024a007

    11. [11]

      SCHUCHARDT U, SOUSA M F B. Oxalate as an intermediate in the base catalyzed water-gas shift reaction[J]. Fuel, 1986,65(5):669-672. doi: 10.1016/0016-2361(86)90362-5

    12. [12]

      AKGÜL G, KRUSE A. Influence of salts on the subcritical water-gas shift reaction[J]. J Supercrit Fluids, 2012,64:207-214.  

    13. [13]

      BARBIERB H, VINAUGER M, COLCOMBET J, EPHRITIKHINE G, FRACHISSE J M, MAUREL C. Anion channels in higher plants:functional characterization, molecular structure and physiological role[J]. Biochim Biophys Acta, 2000,1465(1/2):199-218.  

    14. [14]

      YASAKA Y, YOSHIDA K, WAKAI C, MATUBAYASI N, NAKAHARA M. Kinetic and equilibrium study on formic acid decomposition in relation to the water-gas-shift reaction[J]. J Phys Chem A, 2006,110(38):11082-11090. doi: 10.1021/jp0626768

    15. [15]

      XU Yue. Chemical Reaction Kinetics[M]. 1st ed. Beijing:Chemical Industry Press, 2005.

    16. [16]

      AKIYA N, SAVAGE P E. Roles of water for chemical reactions in high-temperature water[J]. Chem Rev, 2002,102:2725-2750. doi: 10.1021/cr000668w

    17. [17]

      ONSAGER O T, BROWNRIGG M S A, LØDENG R. Hydrogen production from water and CO via alkali metal formate salts[J]. Int J Hydrogen Energy, 1996,21(10):883-885. doi: 10.1016/0360-3199(96)00031-6

    18. [18]

      KRUSE A, DINJUS E. Influence of salts during hydrothermal biomass gasification:The role of the catalyzed water-gas shift reaction[J]. Z Phys Chem, 2005,219(3):341-366.

  • 加载中
    1. [1]

      Zunxiang Zeng Yuling Hu Yufei Hu Hua Xiao . Analysis of Plant Essential Oils by Supercritical CO2Extraction with Gas Chromatography-Mass Spectrometry: An Instrumental Analysis Comprehensive Experiment Teaching Reform. University Chemistry, 2024, 39(3): 274-282. doi: 10.3866/PKU.DXHX202309069

    2. [2]

      Honghong ZhangZhen WeiDerek HaoLin JingYuxi LiuHongxing DaiWeiqin WeiJiguang Deng . 非均相催化CO2与烃类协同催化转化的最新进展. Acta Physico-Chimica Sinica, 2025, 41(7): 100073-0. doi: 10.1016/j.actphy.2025.100073

    3. [3]

      Wenjuan SHIYuke LUXiuyuan LILei HOUYaoyu WANG . Mg(Ⅱ) metal-organic frameworks based on biphenyltetracarboxylic acid: Synthesis and CO2 adsorption and catalytic conversion performance. Chinese Journal of Inorganic Chemistry, 2025, 41(12): 2455-2463. doi: 10.11862/CJIC.20250220

    4. [4]

      Jiaxing CaiWendi XuHaoqiang ChiQian LiuWa GaoLi ShiJingxiang LowZhigang ZouYong Zhou . Highly Efficient InOOH/ZnIn2S4 Hollow Sphere S-Scheme Heterojunction with 0D/2D Interface for Enhancing Photocatalytic CO2 Conversion. Acta Physico-Chimica Sinica, 2024, 40(11): 2407002-0. doi: 10.3866/PKU.WHXB202407002

    5. [5]

      Yutong Liu Xuemin Jing . Research Progress on the Catalytic Conversion of Methane in the Context of the “Dual Carbon” Goals. University Chemistry, 2025, 40(10): 101-113. doi: 10.12461/PKU.DXHX202412018

    6. [6]

      Jiao CHENYi LIYi XIEDandan DIAOQiang XIAO . Vapor-phase transport of MFI nanosheets for the fabrication of ultrathin b-axis oriented zeolite membranes. Chinese Journal of Inorganic Chemistry, 2024, 40(3): 507-514. doi: 10.11862/CJIC.20230403

    7. [7]

      Jiaqi Chen Chunhui Luan Yue Sun Qiyun Ma Wangfei Hao Yanjia Wang Xu Wu . Understanding the Dynamics of Heat and Cold through Chemistry: The Interplay of Chemical Energy and Thermal Energy. University Chemistry, 2024, 39(9): 214-223. doi: 10.12461/PKU.DXHX202312020

    8. [8]

      Yongjian Zhang Fangling Gao Hong Yan Keyin Ye . Electrochemical Transformation of Organosulfur Compounds. University Chemistry, 2025, 40(5): 311-317. doi: 10.12461/PKU.DXHX202407035

    9. [9]

      Fengying ZhangYanglin MeiYuman JiangShenshen ZhengKaibo ZhengYing Zhou . Research progress of transient absorption spectroscopy in solar energy conversion and utilization. Acta Physico-Chimica Sinica, 2025, 41(9): 100118-0. doi: 10.1016/j.actphy.2025.100118

    10. [10]

      Yerong Chen Bingbin Yang Xinglei He Yuqi Lin Keyin Ye . Enzyme-Directed Evolution Enables Bioconversion of Organosilicon Compounds. University Chemistry, 2025, 40(10): 121-129. doi: 10.12461/PKU.DXHX202411054

    11. [11]

      Xinghai LiZhisen WuLijing ZhangShengyang Tao . Machine Learning Enables the Prediction of Amide Bond Synthesis Based on Small Datasets. Acta Physico-Chimica Sinica, 2025, 41(2): 100010-0. doi: 10.3866/PKU.WHXB202309041

    12. [12]

      Yanhui GuoLi WeiZhonglin WenChaorong QiHuanfeng Jiang . Recent Progress on Conversion of Carbon Dioxide into Carbamates. Acta Physico-Chimica Sinica, 2024, 40(4): 2307004-0. doi: 10.3866/PKU.WHXB202307004

    13. [13]

      Zhiquan ZhangBaker RhimiZheyang LiuMin ZhouGuowei DengWei WeiLiang MaoHuaming LiZhifeng Jiang . Insights into the Development of Copper-Based Photocatalysts for CO2 Conversion. Acta Physico-Chimica Sinica, 2024, 40(12): 2406029-0. doi: 10.3866/PKU.WHXB202406029

    14. [14]

      Yuhang ZhangYi LiYuehan CaoYingjie ShuaiYu ZhouYing Zhou . Regulating the formation type by Ir of intermediates to suppress product overoxidation in photocatalytic methane conversion. Acta Physico-Chimica Sinica, 2026, 42(2): 100173-0. doi: 10.1016/j.actphy.2025.100173

    15. [15]

      Yurong Tang Yunren Shi Yi Xu Bo Qin Yanqin Xu Yunfei Cai . Innovative Experiment and Course Transformation Practice of Visible-Light-Mediated Photocatalytic Synthesis of Isoquinolinone. University Chemistry, 2024, 39(5): 296-306. doi: 10.3866/PKU.DXHX202311087

    16. [16]

      Yang Chen Peng Chen Yuyang Song Yuxue Jin Song Wu . Application of Chemical Transformation Driven Impurity Separation in Experiments Teaching: A Novel Method for Purification of α-Fluorinated Mandelic Acid. University Chemistry, 2024, 39(6): 253-263. doi: 10.3866/PKU.DXHX202310077

    17. [17]

      Yanan Liu Yufei He Dianqing Li . Preparation of Highly Dispersed LDHs-based Catalysts and Testing of Nitro Compound Reduction Performance: A Comprehensive Chemical Experiment for Research Transformation. University Chemistry, 2024, 39(8): 306-313. doi: 10.3866/PKU.DXHX202401081

    18. [18]

      Feng Han Fuxian Wan Ying Li Congcong Zhang Yuanhong Zhang Chengxia Miao . Comprehensive Organic Chemistry Experiment: Phosphotungstic Acid-Catalyzed Direct Conversion of Triphenylmethanol for the Synthesis of Oxime Ethers. University Chemistry, 2025, 40(3): 342-348. doi: 10.12461/PKU.DXHX202405181

    19. [19]

      Xinyan Chen Meng Xiao Fei Cai Junxian Guo Tianfeng Chen Li Ma . Transformation of Scientific Research Achievements Facilitating the Construction of Experimental Courses in Frontier Interdisciplinary Disciplines: A Case of “Comprehensive Experiments in Chemical Biology”. University Chemistry, 2025, 40(7): 373-379. doi: 10.12461/PKU.DXHX202408105

    20. [20]

      Shuang CaoBo ZhongChuanbiao BieBei ChengFeiyan Xu . Insights into Photocatalytic Mechanism of H2 Production Integrated with Organic Transformation over WO3/Zn0.5Cd0.5S S-Scheme Heterojunction. Acta Physico-Chimica Sinica, 2024, 40(5): 2307016-0. doi: 10.3866/PKU.WHXB202307016

Metrics
  • PDF Downloads(7)
  • Abstract views(1531)
  • HTML views(279)

通讯作者: 陈斌, bchen63@163.com
  • 1. 

    沈阳化工大学材料科学与工程学院 沈阳 110142

  1. 本站搜索
  2. 百度学术搜索
  3. 万方数据库搜索
  4. CNKI搜索
Address:Zhongguancun North First Street 2,100190 Beijing, PR China Tel: +86-010-82449177-888
Powered By info@rhhz.net

/

DownLoad:  Full-Size Img  PowerPoint
Return