Citation: GUO Shuai, JIANG Yun-feng, XIONG Qing-an, SONG Shuang-shuang, ZHAO Jian-tao, FANG Yi-tian. Release and transformation behaviors of sodium species with different occurrence modes during pyrolysis of Zhundong coal[J]. Journal of Fuel Chemistry and Technology, ;2017, 45(3): 257-264. shu

Release and transformation behaviors of sodium species with different occurrence modes during pyrolysis of Zhundong coal

  • Corresponding author: ZHAO Jian-tao, zhaojt@sxicc.an.cn
  • Received Date: 28 November 2016
    Revised Date: 12 February 2017

    Fund Project: Strategic Priority Research Program of the Chinese Academy of Sciences XDA07050100the National Natural Science Foundation of Chin 21506241the National Natural Science Foundation of Chin 21576276

Figures(10)

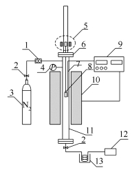
  • A series of pyrolysis experiments on Zhundong coal were conducted by using a pressurized tube reactor. Under different pyrolysis temperature, residence time and pressure, the release and transformation behaviors of sodium species with different occurrence modes were investigated by the method of sequential chemical extraction. The results indicate that sodium species are mainly in the form of hydrated ion and albite, and organic forms are quite less. At 500-700℃, water-soluble sodium would be combined with char matrix, forming hydrochloric acid-soluble but water-insoluble sodium. At 700-900℃, soluble sodium could react with minerals such as kaolin, forming insoluble aluminosilicate. At 1 000℃, release of sodium became intense; part of kaolin might be involved into reactions with lime, which inhibited its reactions with soluble sodium. Besides, it is found that release and transformation behaviors of sodium mainly take place at the initial stage of pyrolysis along with release of volatiles and raising pressure has negligible influence on those behaviors.
  • 加载中
    1. [1]

      QI Xiao-bin, SONG Guo-liang, SONG Wei-jian, LÜ Qing-gang. Alkali metal migration and slagging characteristic during Zhundong high-alkali coal gasification[J]. J Fuel Chem Technol, 2015,43(8):906-913.  

    2. [2]

      LIU Da-hai, ZHANG Shou-yu, TU Sheng-kang, JIN Tao, SHI Deng-yu, PEI Yu-feng. Transformation of sodium during Wucaiwan coal pyrolysis[J]. J Fuel Chem Technol, 2014,42(10):1190-1196.  

    3. [3]

      HAN Ke-xin, HUANG Zhen-yu, WANG Zhi-hua, ZHOU Jun-hu. Action mechanism of sodium compounds in Zhundong coal ash on the process of sintering and fusion[J]. J Fuel Chem Technol, 2015,43(1):22-26.  

    4. [4]

      WENG Qing-song, WANG Chang-an, CHE De-fu, FU Zi-wen. Alkali metal occurrence mode and its influence on combustion characteristics in Zhundong coals[J]. J Combust Sci Technol, 2014,20(3):216-221.  

    5. [5]

      ZHAO Bing, WANG Jia-rui, CHEN Fan-min, WANG Xiao-yue, LI Xiao-jiang. Hydrothermal treatment to remove sodium from high sodium coal and its influence on combustion characteristics[J]. J Fuel Chem Technol, 2014,42(12):1416-1422.  

    6. [6]

      YANG Guang, ZHANG Yan-wei, KOU Xi-wen, ZHOU Zhi-jun, WANG Zhi-hui, ZHOU Jun-hu, CEN Ke-fa. Mineral conversion and thermodynamic simulation of ash deposition during Zhundong coal combustion in boiler of thermal power plant[J]. J Fuel Chem Technol, 2015,43(10):1182-1187.  

    7. [7]

      MA Yan, HUANG Zhen-yu, TANG Hui-ru, WANG Zhi-hua, ZHOU Jun-hu, CEN Ke-fa. Mineral conversion of Zhundong coal during ashing process and the effect of mineral additives on its ash fusion characteristics[J]. J Fuel Chem Technol, 2014,42(1):20-25.  

    8. [8]

      NARUSE I, MURAKAMI T, NODA R, OHTAKE K. Influence of coal type on evolution characteristics of alkali metal compounds in coal combustion[J]. Symp on Combust, 1998,27(2):1711-1717. doi: 10.1016/S0082-0784(98)80011-8

    9. [9]

      VAN EYK P J, ASHMAN P J, ALWAHABI Z T, NATHAN G J. The release of water-bound and organic sodium from Loy Yang coal during the combustion of single particles in a flat flame[J]. Combust Flame, 2011,158(6):1181-1192. doi: 10.1016/j.combustflame.2010.10.024

    10. [10]

      QI Xiao-bin, SONG Guo-liang, SONG Wei-jian. Transformation and migration of alkali metal with different occurrence of Zhundong high-alkali coal during gasification[J]. J China Coal Soc, 2016,41(4):1011-1017.  

    11. [11]

      HAN Chun-li, ZHANG Jun, LIU Kun-lei, XU Yi-qian. Modes of occurrence of sodium in coals[J]. J Fuel Chem Technol, 1999,27(6):19-23.  

    12. [12]

      CHEN Chuan, ZHANG Shou-yu, LIU Da-hai, GUO Xi, DONG Ai-xia, XIONG Shao-wu, SHI Da-zhong, LV Jun-fu. Existence form of sodium in high sodium coals from Xinjiang and its effect on combustion process[J]. J Fuel Chem Technol, 2013,41(7):832-838.  

    13. [13]

      SONG Wei-jian, SONG Guo-liang, QI Xiao-bin, LÜ Qing-gang. Sodium transformation law of Zhundong coal during gasification[J]. J Fuel Chem Technol, 2016,41(2):490-496.

    14. [14]

      SONG Wei-jian, SONG Guo-liang, ZHANG Hai-xia, FAN Jin-long, LÜ Qing-gang. Experimental study on alkali metal transformation during high-sodium Zhundong coal pyrolysis[J]. J Fuel Chem Technol, 2015,43(1):16-21.  

    15. [15]

      LIU Jiang, WANG Zhi-hua, XIANG Fei-peng, HUANG Zhen-yu, LIU Jian-zhong, ZHOU Jun-hu, CEN Ke-fa. Mode of occurrence and transformation of alkali metals in Zhundong coal during combustion[J]. J Fuel Chem Technol, 2014,42(3):316-322.  

    16. [16]

      LI Yong, XIAO Jun, ZHANG Ming-yao. Modeling and prediction of migration mechanism of alkali metals during coal-fired process[J]. J Fuel Chem Technol, 2005,33(5):556-560.  

    17. [17]

      WANG Zhi-hua, LI Qian, LIU Jing, HUANG Zhen-yu, ZHOU Zhi-jun, ZHOU Jun-hu, CEN Ke-fa. Occurrence of alkali metals in Zhundong coal and its migration during pyrolysis process[J]. Proc CSEE, 2014,34(s1):130-135.  

    18. [18]

      LI C Z, SATHE C, KERSHAW J R, PANG Y. Fates and roles of alkali and alkaline earth metals during the pyrolysis of a Victorian brown coal[J]. Fuel, 2000,79(3):427-438.  

    19. [19]

      WANG Zhi-hua, XU Dong-xiang, HE Yong, WAN Kai-di, ZHU Yan-qun, CEN Ke-fa. Effects of temperature on pyrolysis properties and sodium release during pyrolysis of Zhundong coal[J]. Proc CSEE, 2015,35(s1):113-117.  

    20. [20]

      QUYN D M, WU H., LI C Z. Volatilisation and catalytic effects of alkali and alkaline earth metallic species during the pyrolysis and gasification of Victorian brown coal. Part Ⅰ. Volatilisation of Na and Cl from a set of NaCl-loaded samples[J]. Fuel, 2002,81(2):143-149. doi: 10.1016/S0016-2361(01)00127-2

    21. [21]

      WANG C A, JIN X, WANG Y K, YAN Y, JIANG C, LIU Y H, CHE D F. Release and transformation of sodium during pyrolysis of Zhundong coals[J]. Energy Fuels, 2015,29(1):78-85. doi: 10.1021/ef502128s

    22. [22]

      BLASING M, MULLER M. Mass spectrometric investigations on the release of inorganic species during gasification and combustion of German hard coals[J]. Combust Flame, 2010,157(7):1374-1381. doi: 10.1016/j.combustflame.2010.01.003

    23. [23]

      JIANG L, HU S, XIANG J, SU S, SUN L S, XU K, YAO Y. Release characteristics of alkali and alkaline earth metallic species during biomass pyrolysis and steam gasification process[J]. Bioresour Technol, 2012,116:278-84. doi: 10.1016/j.biortech.2012.03.051

    24. [24]

      WU H, QUYN D M, LI C Z. Volatilisation and catalytic effects of alkali and alkaline earth metallic species during the pyrolysis and gasification of Victorian brown coal. Part Ⅲ. The importance of the interactions between volatiles and char at high temperature[J]. Fuel, 2002,81(8):1033-1039. doi: 10.1016/S0016-2361(02)00011-X

    25. [25]

      SHEN Ming-ke, QIU Kun-zan, HUANG Zhen-yu, WANG Zhi-hua, LIU Jian-zhong. Influence of kaolin on sodium retention and ash fusion characteristic during combustion of Zhundong coal[J]. J Fuel Chem Technol, 2015,43(9):1044-1051.  

    26. [26]

      XU L L, LIU J, KANG Y, MIAO Y Q, REN W, WANG T T. Safely burning high alkali coal with kaolin additive in a pulverized Fuel boiler[J]. Energy Fuels, 2014,28(9):5640-5648. doi: 10.1021/ef501160f

    27. [27]

      KOSMINSKI A, ROSS D P, AGNEW J B. Reactions between sodium and silica during gasification of a low-rank coal[J]. Fuel Process Technol, 2006,87(12):1037-1049. doi: 10.1016/j.fuproc.2005.06.007

    28. [28]

      LI X, BAI Z Q, BAI J, HAN Y N, KONG L X, LI W. Transformations and roles of sodium species with different occurrence modes in direct liquefaction of Zhundong coal from Xinjiang, Northwestern China[J]. Energy Fuels, 2015,29(9):5633-5639. doi: 10.1021/acs.energyfuels.5b01138

    29. [29]

      GUO S, JIANG Y F, YU Z L, ZHAO J T, FANG Y T. Correlating the sodium release with coal compositions during combustion of sodium-rich coals[J]. Fuel, 2017,196:252-260. doi: 10.1016/j.fuel.2017.02.004

    30. [30]

      SATHE C, HAYASHI J I, LI C Z, CHIBA T. Release of alkali and alkaline earth metallic species during rapid pyrolysis of a Victorian brown coal at elevated pressures[J]. Fuel, 2003,82(12):1491-1497. doi: 10.1016/S0016-2361(03)00070-X

  • 加载中
    1. [1]

      Yuzhi Wang . Inheritance and Innovation: The Development of Curriculum Construction from the Evolution of the Name of Golden Courses. University Chemistry, 2025, 40(12): 36-40. doi: 10.12461/PKU.DXHX202509088

    2. [2]

      Xiuyun Wang Jiashuo Cheng Yiming Wang Haoyu Wu Yan Su Yuzhuo Gao Xiaoyu Liu Mingyu Zhao Chunyan Wang Miao Cui Wenfeng Jiang . Improvement of Sodium Ferric Ethylenediaminetetraacetate (NaFeEDTA) Iron Supplement Preparation Experiment. University Chemistry, 2024, 39(2): 340-346. doi: 10.3866/PKU.DXHX202308067

    3. [3]

      Zhuo WANGXiaotong LIZhipeng HUJunqiao PAN . Three-dimensional porous carbon decorated with nano bismuth particles: Preparation and sodium storage properties. Chinese Journal of Inorganic Chemistry, 2025, 41(2): 267-274. doi: 10.11862/CJIC.20240223

    4. [4]

      Xiaoning TANGJunnan LIUXingfu YANGJie LEIQiuyang LUOShu XIAAn XUE . Effect of sodium alginate-sodium carboxymethylcellulose gel layer on the stability of Zn anodes. Chinese Journal of Inorganic Chemistry, 2024, 40(8): 1452-1460. doi: 10.11862/CJIC.20240191

    5. [5]

      Xue XiaoJiachun LiXiangtong MengJieshan Qiu . Sulfur-Doped Carbon-Coated Fe0.95S1.05 Nanospheres as Anodes for High-Performance Sodium Storage. Acta Physico-Chimica Sinica, 2024, 40(6): 2307006-0. doi: 10.3866/PKU.WHXB202307006

    6. [6]

      Zhicheng JUWenxuan FUBaoyan WANGAo LUOJiangmin JIANGYueli SHIYongli CUI . MOF-derived nickel-cobalt bimetallic sulfide microspheres coated by carbon: Preparation and long cycling performance for sodium storage. Chinese Journal of Inorganic Chemistry, 2025, 41(4): 661-674. doi: 10.11862/CJIC.20240363

    7. [7]

      Wenhui LiYakun TangYusheng ZhouYue ZhangWenhai ZhangQingtao MaLang LiuSen DongYuliang Cao . Enhanced sodium storage performance of asphalt-derived hard carbon through intramolecular oxidation for high-performance sodium-ion batteries. Acta Physico-Chimica Sinica, 2025, 41(10): 100119-0. doi: 10.1016/j.actphy.2025.100119

    8. [8]

      Débora Ferreira dos Santos MoraisJosé Luis TiradoCarlos Pérez-VicenteFabiana Villela da MottaPedro LavelaMauricio BomioSergio Lavela . Unlocking the performance of sodium-ion batteries by coating Na3V2(PO4)3 with Nb2O5. Acta Physico-Chimica Sinica, 2026, 42(2): 100180-0. doi: 10.1016/j.actphy.2025.100180

    9. [9]

      Chao WUQingxiu SHITao XUZhengxi PENGZhongping XIONGYinglin ZHANGYujun SIChaozhong GUO . Enhancement of oxygen reduction reaction performance of iron-nitrogen doped carbon based catalysts by sodium carboxymethyl cellulose pre-deoxygenation. Chinese Journal of Inorganic Chemistry, 2026, 42(4): 737-746. doi: 10.11862/CJIC.20250305

    10. [10]

      Rohit KumarAnita SudhaikAftab Asalam Pawaz KhanVan Huy NeguyenArchana SinghPardeep SinghSourbh ThakurPankaj Raizada . Designing tandem S-scheme photo-catalytic systems: Mechanistic insights, characterization techniques, and applications. Acta Physico-Chimica Sinica, 2025, 41(11): 100150-0. doi: 10.1016/j.actphy.2025.100150

    11. [11]

      Min Hu Yinghuan Li Yanhong Bai Yanping Ren Juanjuan Song Yongxian Fan Dongcheng Liu Xiuqiong Zeng Faqiong Zhao Wenwei Zhang Mei Shi Wan Li Xiuyun Wang Weihong Li Xiaohang Qiu Yong Fan Jianrong Zhang Shuyong Zhang . Suggestions on the Method of Hydrothermal-Solventthermal Synthesis and Their Operation Standards. University Chemistry, 2026, 41(3): 208-215. doi: 10.12461/PKU.DXHX202507034

    12. [12]

      Kexin YanZhaoqi YeLingtao KongHe LiXue YangYahong ZhangHongbin ZhangYi Tang . Seed-Induced Synthesis of Disc-Cluster Zeolite L Mesocrystals with Ultrashort c-Axis: Morphology Control, Decoupled Mechanism, and Enhanced Adsorption. Acta Physico-Chimica Sinica, 2024, 40(9): 2308019-0. doi: 10.3866/PKU.WHXB202308019

    13. [13]

      Zijun Huang Feng Wu Shaofeng Pi Saijin Huang Zhengjun Fang . Knowledge Graph-based Development of AI Curriculum for Inorganic Chemistry Experiments and Exploration of New Teaching Paradigm. University Chemistry, 2025, 40(9): 228-237. doi: 10.12461/PKU.DXHX202504052

    14. [14]

      Huan Zhang Guoqing Zhong Qiying Jiang Wenyuan Hu Dingming Yang Juan shen Yatang Dai Hongbo Li . Development and Practice of the “Five Rings and One Heart” Teaching Model in Inorganic Chemistry. University Chemistry, 2025, 40(11): 42-51. doi: 10.12461/PKU.DXHX202412076

    15. [15]

      Zhuo WANGJunshan ZHANGShaoyan YANGLingyan ZHOUYedi LIYuanpei LAN . Preparation and photocatalytic performance of CeO2-reduced graphene oxide by thermal decomposition. Chinese Journal of Inorganic Chemistry, 2024, 40(9): 1708-1718. doi: 10.11862/CJIC.20240067

    16. [16]

      Yang Lv Yingping Jia Yanhua Li Hexiang Zhong Xinping Wang . Integrating the Ideological Elements with the “Chemical Reaction Heat” Teaching. University Chemistry, 2024, 39(11): 44-51. doi: 10.12461/PKU.DXHX202402059

    17. [17]

      Yang ZHOULili YANWenjuan ZHANGPinhua RAO . Thermal regeneration of biogas residue biochar and the ammonia nitrogen adsorption properties. Chinese Journal of Inorganic Chemistry, 2025, 41(8): 1574-1588. doi: 10.11862/CJIC.20250032

    18. [18]

      Zehua Zhao Xiaoyan An Jinrong Xu Ling Yang Hao Zhao Zhongyun Wu . Independent Development and Application of Calorimetric Experiment Data Acquisition and Processing Software. University Chemistry, 2025, 40(11): 402-408. doi: 10.12461/PKU.DXHX202505045

    19. [19]

      Yongming Zhu Huili Hu Yuanchun Yu Xudong Li Peng Gao . Construction and Practice on New Form Stereoscopic Textbook of Electrochemistry for Energy Storage Science and Engineering: Taking Basic Course of Electrochemistry as an Example. University Chemistry, 2024, 39(8): 44-47. doi: 10.3866/PKU.DXHX202312086

    20. [20]

      Lin Wang Xiaozhou Li Haishuang Zhao Yutang Wang Jianguo Wang Junru Wang . Design and Practice of New-Form Course Resources for Physical Chemistry in Agricultural and Forestry Universities: A Case Study of Teaching in Food Science and Engineering Major. University Chemistry, 2026, 41(2): 146-153. doi: 10.12461/PKU.DXHX202412149

Metrics
  • PDF Downloads(5)
  • Abstract views(986)
  • HTML views(102)

通讯作者: 陈斌, bchen63@163.com
  • 1. 

    沈阳化工大学材料科学与工程学院 沈阳 110142

  1. 本站搜索
  2. 百度学术搜索
  3. 万方数据库搜索
  4. CNKI搜索
Address:Zhongguancun North First Street 2,100190 Beijing, PR China Tel: +86-010-82449177-888
Powered By info@rhhz.net

/

DownLoad:  Full-Size Img  PowerPoint
Return