Citation: ZHANG Xian-wei, SU Ya-xin, CHENG Jiang-hao, LIN Rui, WEN Ni-ni, DENG Wen-yi, ZHOU Hao. Effect of Ag on deNOx performance of SCR-C3H6 over Fe/Al-PILC catalysts[J]. Journal of Fuel Chemistry and Technology, ;2019, 47(11): 1368-1378. shu

Effect of Ag on deNOx performance of SCR-C3H6 over Fe/Al-PILC catalysts

  • Corresponding author: SU Ya-xin, suyx@dhu.edu.cn
  • Received Date: 17 June 2019
    Revised Date: 9 September 2019

    Fund Project: The project was supported by the Natural Science Foundation of Shanghai (19ZR1400700), Jiangsu Province Natural Science Foundation(BK20181161) and the Fundamental Research Funds for the Central Universities (2232019D3-24)Jiangsu Province Natural Science Foundation BK20181161the Fundamental Research Funds for the Central Universities 2232019D3-24the Natural Science Foundation of Shanghai 19ZR1400700

Figures(8)

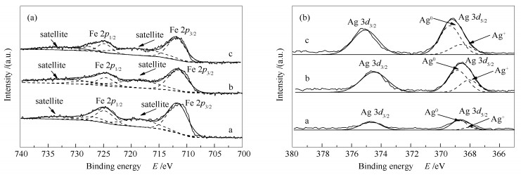
  • Silver has been widely used to modify the iron-based catalyst supported on alumina pillared montmorillonite to enhance its activity at lower temperature (< 300℃). Bimetallic Ag-Fe/Al-PILC (Pillared interlayer clay) was prepared by the ultrasonic impregnation method and performance was tested on a fixed bed reactor. And the experiment results showed that silver obviously improved the catalyst activity at a lower temperature. The NO conversion efficiency of Ag-Fe/Al-PILC at 250℃ was 60%, which was higher than Fe/Al-PILC (20%). The maximum 82% NO conversion and 100% N2 selectivity were obtained by 2.1Ag-Fe/Al-PILC at 250℃. Moreover, Ag-Fe/Al-PILC revealed better anti-hydrogen peroxide and anti-sulfur dioxide ability. The catalyst characterization was conducted by several techniques with respect to the microstructure and physicochemical properties. According to the effects of N2-adsorption and desorption tests, Ag-Fe/Al-PILC formed a stable overall structure and had a large internal specific surface area. Besides, XRD and UV-vis proved that the Ag-Fe solid solution, Ag+ and Agnδ+ species formed on the surface of the catalyst are the key factors affecting its low-temperature activity. XPS results suggested that there was electron transfer between Ag and Fe, which formed a synergistic effect of bimetals and changed the content of Ag and Fe and their valence state on the catalyst surface. The findings of H2-TPR indicated that the modification of Ag promoted the shift of the Fe/Al-PILC reduction peak toward low temperature, which boosted the low-temperature reduction capacity of the catalyst. The surface acidity analysis by Py-FTIR indicated that Lewis acid and Brønsted acid existed simultaneously and Ag enhanced the stability of Brønsted acid.
  • 加载中
    1. [1]

      MORE P M. Effect of active component addition and support modification on catalytic activity of Ag/Al2O3, for the selective catalytic reduction of NOx by hydrocarbon-A review[J]. J Environ Manage, 2017,188:43-48. doi: 10.1016/j.jenvman.2016.11.077

    2. [2]

      THOMAS C. On an additional promoting role of hydrogen in the H2-assisted C3H6-SCR of NOx on Ag/Al2O3:A lowering of the temperature of formation-decomposition of the organo-NOx intermediates[J]. Appl Catal B:Environ, 2015,162:454-462. doi: 10.1016/j.apcatb.2014.07.021

    3. [3]

      IWAMOTO M, YAHIRO H, YU U Y. Selective reduction of NO by lower hydrocarbons in the presence of O2 and SO2 over copper ion-exchanged zeolites[J]. Catal, 1990,32(6):430-433.

    4. [4]

      BURCH R. Knowledge and know-how in emission control for mobile applications[J]. Catal Rev, 2004,46(3/4):271-334.  

    5. [5]

      LI Qian-cheng, SU Ya-xin, DONG Shi-lin, YUAN Min-hao, ZHOU Hao, DENG Wen-yi. Fe-PILC for selective catalytic reduction of NO by propene under lean-burn conditions[J]. J Fuel Chem Technol, 2018,46(10):99-107.  

    6. [6]

      QIAN Wen-yan, SU Ya-xin, YANG Xi, YUAN Min-hao, DENG Wen-yi, ZHAO Bing-tao. Experimental study on selective catalytic reduction of NO with propene over iron based catalysts supported on aluminum pillared clays[J]. J Fuel Chem Technol, 2017,45(12):1499-1507. doi: 10.3969/j.issn.0253-2409.2017.12.012

    7. [7]

      DONG Shi-lin, SU Ya-xin, LIU Xin, LI Qian-cheng, YUAN Min-hao, ZHOU Hao, DENG Wen-yi. Experimental study on selective catalytic reduction of NO by C3H6 over Fe/Ti-PILC catalysts[J]. J Fuel Chem Technol, 2018,46(10):1231-1239. doi: 10.3969/j.issn.0253-2409.2018.10.011

    8. [8]

      ZHOU H, SU Y X, LIAO W Y, ZHONG F C. NO reduction by propane over monolithic cordierite-based Fe/Al2O3 catalyst:Reaction mechanism and effect of H2O/SO2[J]. Fuel, 2016,182:352-360. doi: 10.1016/j.fuel.2016.05.116

    9. [9]

      YANG Xi, SU Ya-xin, QIAN Wen-yan, YUAN Min-hao, ZHOU Hou, DENG Wen-yi, ZHAO Bing-tao. Experimental study on selective catalytic reduction of NO by C3H6 over Fe-Ag/Al2O3 catalysts[J]. J Fuel Chem Technol, 2017,45(11):1365-1375. doi: 10.3969/j.issn.0253-2409.2017.11.012

    10. [10]

      MIYADERA T. Alumina-supported silver catalysts for the selective reduction of nitric oxide with propene and oxygen-containing organic compounds[J]. Appl Catal B:Environ, 1993,2(2/3):199-205.  

    11. [11]

      KANNISTO H, INGELSTEN H H, SKOGLUNDH M. Ag-Al2O3 catalysts for lean NOx reduction-Influence of preparation method and reductant[J]. J Mol Catal, 2009,302(1/2):86-96. doi: 10.1016/j.molcata.2008.12.003

    12. [12]

      SADOKHINA N A, PROKHOROVA A F, KVON R I, MASHKOVSKII I S, BRAGINA G O, BAEVA G N, BUKHTIYAROV V I, STAKHEEV A Y. Dependence of the catalytic activity of Ag/Al2O3 on the silver concentration in the selective reduction of NOx with n-hexane in the presence of H2[J]. Kinet Catal, 2012,53(1):107-116. doi: 10.1134/S0023158412010090

    13. [13]

      ZHANG R D, KALIAGUINE S. Lean reduction of NO by C3H6 over Ag/alumina derived from Al2O3, AlOOH and Al(OH)3[J]. Appl Catal B:Environ, 2008,78(3/4):275-287.  

    14. [14]

      CHAIEB T, DELANNOY L, LOUIS C, THOMAS C. On the origin of the optimum loading of Ag on Al2O3 in the C3H6-SCR of NOx[J]. Appl Catal B:Environ, 2013,142/143:780-784. doi: 10.1016/j.apcatb.2013.06.010

    15. [15]

      SATOKAWA S. Enhancing the NO/C3H8/O2 reaction by using H2 over Ag/Al2O3 catalysts under lean-exhaust conditions[J]. Chem Lett, 2000,29(3):294-295.  

    16. [16]

      SATOKAWA S, SHIBATA J, SHIMIZU K, ATSUSHI S, HATTORI T. Promotion effect of H2 on the low temperature activity of the selective reduction of NO by light hydrocarbons over Ag/Al2O3[J]. Appl Catal B:Environ, 2003,42(2):179-186. doi: 10.1016/S0926-3373(02)00231-X

    17. [17]

      SHIMIZU K, SHIBATA J, SATSUMA A. Kinetic and in situ infrared studies on SCR of NO with propane by silver-alumina catalyst:Role of H2 on O2 activation and retardation of nitrate poisoning[J]. J Catal, 2006,239(2):402-409. doi: 10.1016/j.jcat.2006.02.011

    18. [18]

      KIM P S, KIM M K, CHO B K, NAM I S, OH S H. Effect of H2 on deNOx performance of SCR-HC over Ag/Al2O3:Morphological, chemical, and kinetic changes[J]. J Catal, 2013,301:65-76. doi: 10.1016/j.jcat.2013.01.026

    19. [19]

      CHAIEB T, DELANNOY L, COSTENTIN G, LOUIS C, CASALE S, CHANTRY R L, LI Z Y, THOMAS C. Insights into the influence of the Ag loading on Al2O3 in theH2-assisted C3H6-SCR of NOx[J]. Appl Catal B:Environ, 2014,156/157:192-201. doi: 10.1016/j.apcatb.2014.03.025

    20. [20]

      THOMAS C. On an additional promoting role of hydrogen in the H2-assisted C3H6-SCR of NOx on Ag/Al2O3:A lowering of the temperature of formation-decomposition of the organo-NOx intermediates?[J]. Appl Catal B:Environ, 2015,162:454-462. doi: 10.1016/j.apcatb.2014.07.021

    21. [21]

      XU G Y, MA J Z, HE G Z, YU Y B, HE H. An alumina-supported silver catalyst with high water tolerance for H2 assisted C3H6-SCR of NOx[J]. Appl Catal B:Environ, 2017,207:60-71. doi: 10.1016/j.apcatb.2017.02.001

    22. [22]

      XU G Y, MA J Z, WANG L, XIE W, LIU J J, YU YU B, HE H. Insight into the origin of sulfur tolerance of Ag/Al2O3 in the H2-C3H6-SCR of NOx[J]. Appl Catal B:Environ, 2019,244:909-918. doi: 10.1016/j.apcatb.2018.11.050

    23. [23]

      MORE P M, DONGARE M K, UMBARKAR S B, GRANGER P, DUJARDIN C. Bimetallic Au-Ag/Al2O3 as efficient catalysts for the hydrocarbon selective reduction of NOx from lean burn engine exhaust[J]. Catal Today, 2018,306:23-31. doi: 10.1016/j.cattod.2016.12.002

    24. [24]

      MORE P M, NGUYEN D L, GRANGER P, DUJARDIN C, DONGARE M K, UMBARKAR S B. Activation by pretreatment of Ag-Au/Al2O3 bimetallic catalyst to improve low temperature SCR-HC of NOx for lean burn engine exhaust[J]. Appl Catal B:Environ, 2015,174/175:145-156. doi: 10.1016/j.apcatb.2015.02.035

    25. [25]

      MORE P M, JAGTAP N, KULAL A B, DONGARE M K, UMBARKER S B. Magnesia doped Ag/Al2O3-sulfur tolerant catalyst for low temperature SCR-HC of NOx[J]. Appl Catal B:Environ, 2014,144:408-415. doi: 10.1016/j.apcatb.2013.07.044

    26. [26]

      ARVE K, KLINGSTEDT F, ERÄNEN K, LINDFORS L E, MURZIN D Y. Engineering SCR-HC:Improved low temperature performance through a cascade concept[J]. Catal Lett, 2005,105(3/4):133-138.  

    27. [27]

      VALANIDOU L, THEOLOGIDES C, ZORPAS A A, SAWA P G, COSTA C N. A novel highly selective and stable Ag/MgO-CeO2-Al2O3 catalyst for the low-temperature ethanol-SCR of NO[J]. Appl Catal B:Environ, 2011,107(1/2):164-176.  

    28. [28]

      YAO S, HUA P, ZHANG Y, WEI L. Promotion of MgO addition on SO2 tolerance of Ag/Al2O3 for selective catalytic reduction of NOx with methane at low temperature[J]. Catal Commun, 2008,9(5):796-800. doi: 10.1016/j.catcom.2007.09.002

    29. [29]

      FAN C, XIANG J, SHENG S, WANG P Y, SONG H, SUN L S. Ag modified Mn-Ce/γ-Al2O3 catalyst for selective catalytic reduction of NO with NH3 at low-temperature[J]. Fuel Process Technol, 2015,135:66-72. doi: 10.1016/j.fuproc.2014.10.021

    30. [30]

      PANAHI P N, NIAEI A, SALARI D, MOUSAVI S M. Selective catalytic reduction of NO over M-Ag/ZSM-5 bimetallic nanocatalysts (M=Mn, Fe and Ni). Physicochemical properties and catalytic performance[J]. Kinet Catal, 2015,56(5):617-624. doi: 10.1134/S0023158415050146

    31. [31]

      YUAN M H, DENG W Y, DONG S L, LI Q C, ZHAO B T, SU Y X. Montmorillonite based porous clay heterostructures modified with Fe as catalysts for selective catalytic reduction of NO with propylene[J]. Chem Eng J, 2018,353:839-848. doi: 10.1016/j.cej.2018.07.201

    32. [32]

      SHI Xin-yu, CHU Wei. Effect of support and Ag loading on the performance of silver-based catalysts for selective catalytic reduction of NO by C3H6[J]. Nat Gas Chem, 2009,34(4):47-52. doi: 10.3969/j.issn.1001-9219.2009.04.012

    33. [33]

      ZHU Bin, FEI Zhao-yang, CHEN Xian, TANG Ji-hai, CUI Mi-fen, QIAO Xu. Synergetic effect of Cu-Fe composite oxides supported on Al-PILC for SCR of NO with NH3[J]. J Fuel Chem Technol, 2014,42(9):1102-1110. doi: 10.3969/j.issn.0253-2409.2014.09.011

    34. [34]

      HE H, ZHANG C B, YU Y B. A comparative study of Ag/Al2O3 and Cu/Al2O3 catalysts for the selective catalytic reduction of NO by C3H6[J]. Catal Today, 2004,90(3):191-197.  

    35. [35]

      BIN L I, SHIJIE L I, WANG Y X, NENG L I, LIU X Y, LIN B X. Study on antimony oxide self-assembled inside HZSM-5[J]. J Solid State Chem, 2005,178(4):1030-1037. doi: 10.1016/j.jssc.2004.12.023

    36. [36]

      QI G S, YANG R T, CHANG R. MnOx-CeO mixed oxides prepared by co-precipitation for selective catalytic reduction of NO with NH3 at low temperatures[J]. Appl Catal B:Environ, 2004,51(2):93-106. doi: 10.1016/j.apcatb.2004.01.023

    37. [37]

      ZIELIŃSKI J, ZGLINICKA I, ZNAK L, KASZKUR Z. Reduction of Fe2O3 with hydrogen[J]. Appl Catal A:Gen, 2010,381(1):191-196.  

    38. [38]

      CAO F, XIANG J, SU S, WANG P Y, HU S, SUN L S. Ag modified Mn-Ce/γ-Al2O3 catalyst for selective catalytic reduction of NO with NH3 at low-temperature[J]. Fuel Process Technol, 2015,135:66-72. doi: 10.1016/j.fuproc.2014.10.021

    39. [39]

      SATO K, YOSHINARI T, KINTAICHI Y, HANEDA H. Remarkable promoting effect of rhodium on the catalytic performance of Ag/AlO for the selective reduction of NO with decane[J]. Appl Catal B:Environ, 2003,44(1):67-78. doi: 10.1016/S0926-3373(03)00020-1

    40. [40]

      SPARKS D E, PATTERSON P M, JACOBS G, CROCKER M, CHANEY J A. Supported bismuth oxide catalysts for the selective reduction of NO with propene in lean conditions[J]. Catal Commun, 2006,7(3):122-126. doi: 10.1016/j.catcom.2005.09.004

    41. [41]

      IGLESIAS-JUEZ A, HUNGRÍA A B, MARTÍNEZ-ARIAS A, FUERTE A, FERNÁNDEZ-GARCIÍA , M , ANDERSON J A, CONESA J C, SORIA J. Nature and catalytic role of active silver species in the lean NOx reduction with C3H6 in the presence of water[J]. J Catal, 2003,217(2):310-323. doi: 10.1016/S0021-9517(03)00055-1

    42. [42]

      XU G Y, YU Y B, HE H. Silver valence state determines the water tolerance of Ag/Al2O3 for the H2-C3H6-SCR of NOx[J]. J Phys Chem C, 2017,122(1):670-680.  

    43. [43]

      SAZAMA P, ČAPEK L, DROBNÁ H, SOBALÍK Z, DĚDEČEK J, ARVE K, WICHTERLOVÁ B. Enhancement of decane-SCR-NOx over Ag/alumina by hydrogen. Reaction kinetics and in situ FTIR and UV-vis study[J]. J Catal, 2005,232(2):302-317. doi: 10.1016/j.jcat.2005.03.013

    44. [44]

      LI Yi. Mechanistic and practical studies of Ag species on the selective catalytic reduction of NOx over Ag/Al2O3[D]. Beijing: Graduate University, Chinese Academy of Sciences, 2010.

    45. [45]

      CHMIELARZ L, KUŚTROWSKI P, PIWOWARSKA Z, DUDEK B, GIL B, MICHALIK M. Montmorillonite, vermiculite and saponite based porous clay heterostructures modified with transition metals as catalysts for the DeNOx process[J]. Appl Catal B:Environ, 2009,88(3):331-340.  

    46. [46]

      CHENG W U, YAN K, FEI G, YONG W U, YINONG L U, WANG J, LIN D. Synthesis, characterization and catalytic performance for phenol hydroxylation of Fe-MCM41 with high iron content[J]. Microporous Mesoporous Mater, 2008,113(1):163-170.  

    47. [47]

      FIERRO G, MORETTI G, FERRARIS G, ANDREOZZI G B. A Mössbauer and structural investigation of Fe-ZSM-5 catalysts:Influence of Fe oxide nanoparticles size on the catalytic behaviour for the NO-SCR by C3H8[J]. Appl Catal B:Environ, 2011,102(1/2):215-223. doi: 10.1016/j.apcatb.2010.12.001

    48. [48]

      JODAEI A, SALARI D, NIAEI A, KHATAMIAN M, CAYLAK N. Preparation of Ag-M (M:Fe, Co and Mn)-ZSM-5 bimetal catalysts with high performance for catalytic oxidation of ethyl acetate[J]. Environ Technol, 2011,32(3/4):395-406. doi: 10.1080/09593330.2010.501088

    49. [49]

      LI W, GANG L, JIN C Z, XIN L, WANG J H. One-step synthesis of nanorod-aggregated functional hierarchical iron-containing MFI zeolite microspheres[J]. J Mater Chem A, 2015,3(28):14786-14793. doi: 10.1039/C5TA02662H

    50. [50]

      HOFLUND G B, HAZOS Z F, SALAITA G N. Surface characterization study of Ag, AgO, and Ag2O using X-ray photoelectron spectroscopy and electron energy-loss spectroscopy[J]. Phys Rev B, 2000,62(16):11126-11133. doi: 10.1103/PhysRevB.62.11126

    51. [51]

      RICHTER M, LANGPAPE M, KOLF S, GRUBERT G, ECKELT R, RADNIK J, SCHNEIDER M, POHL M M, FRICKE R. Combinatorial preparation and high-throughput catalytic tests of multi-component deNOx catalysts[J]. Appl Catal B:Environ, 2002,36(4):261-277. doi: 10.1016/S0926-3373(01)00290-9

    52. [52]

      JAGTAP N, UMBARKAR S B, MIQUEL P, GRANGER P, DONGARE M K. Support modification to improve the sulphur tolerance of Ag/Al2O3 for SCR of NOx with propene under lean-burn conditions[J]. Appl Catal B:Environ, 2009,90(3):416-425. doi: 10.1016/j.apcatb.2009.04.001

    53. [53]

      WILLIAMS M F, FONFÉ B, SIEVERS C. Hydrogenation of tetralin on silica-alumina-supported Pt catalysts. Physicochemical characterization of the catalytic materials[J]. J Catal, 2007,251(2):485-496.  

    54. [54]

      DATKA J, TUREK A M, JEHNG J M, WACHS I E. Acidic properties of supported niobium oxide catalysts:An infrared spectroscopy investigation[J]. J Catal, 1992,135(1):186-199. doi: 10.1016/0021-9517(92)90279-Q

    55. [55]

      CHMIELARZ L, PIWOWARSKA Z, KUŚTROWSKI P, WEGRZYN A, GIL B, KOWALCZYK A, DUDEK B, DZIEMBAJ R, MICHALIK M. Comparison study of titania pillared interlayered clays and porous clay heterostructures modified with copper and iron as catalysts of the DeNOx process[J]. Appl Clay Sci, 2011,53(2):164-173. doi: 10.1016/j.clay.2010.12.009

    56. [56]

      PINNAVAIA T J. Intercalated clay catalysts[J]. Science, 1983,220(4595):365-371. doi: 10.1126/science.220.4595.365

    57. [57]

      WANG Z M, YAMAGUCHI M, GOTO I, KUMAGAI M. Characterization of Ag/Al2O3 de-NOx catalysts by probing surface acidity and basicity of the supporting substrate[J]. Phys Chem Chem Phys, 2000,2(13):3007-3015. doi: 10.1039/b000226g

    58. [58]

      YUAN D L, LI X Y, ZHAO Q D, ZHAO J J, LIU S M, MOSES T. Effect of surface Lewis acidity on selective catalytic reduction of NO by C3H6 over calcined hydrotalcite[J]. Appl Catal A:Gen, 2013,451:176-183. doi: 10.1016/j.apcata.2012.11.001

    59. [59]

      SULTANA A, HANEDA M, FUJITANI T, HAMADA H. Influence of Al2O3 support on the activity of Ag/Al2O3 catalysts for SCR of NO with decane[J]. Cata Lett, 2007,114(1/2):96-102. doi: 10.1007/s10562-007-9045-5

  • 加载中
    1. [1]

      Yaping ZHANGTongchen WUYun ZHENGBizhou LIN . Z-scheme heterojunction β-Bi2O3 pillared CoAl layered double hydroxide nanohybrid: Fabrication and photocatalytic degradation property. Chinese Journal of Inorganic Chemistry, 2025, 41(3): 531-539. doi: 10.11862/CJIC.20240256

    2. [2]

      Jingkun YuXue YongAng CaoSiyu Lu . Bi-Layer Single Atom Catalysts Boosted Nitrate-to-Ammonia Electroreduction with High Activity and Selectivity. Acta Physico-Chimica Sinica, 2024, 40(6): 2307015-0. doi: 10.3866/PKU.WHXB202307015

    3. [3]

      Shihui Shi Haoyu Li Shaojie Han Yifan Yao Siqi Liu . Regioselectively Synthesis of Halogenated Arenes via Self-Assembly and Synergistic Catalysis Strategy. University Chemistry, 2024, 39(5): 336-344. doi: 10.3866/PKU.DXHX202312002

    4. [4]

      Zhi Chai Huashan Huang Xukai Shi Yujing Lan Zhentao Yuan Hong Yan . Wittig反应的立体选择性. University Chemistry, 2025, 40(8): 192-201. doi: 10.12461/PKU.DXHX202410046

    5. [5]

      CCS Chemistry | 超分子活化底物自由基促进高效选择性光催化氧化

      . CCS Chemistry, 2025, 7(10.31635/ccschem.025.202405229): -.

    6. [6]

      Feifei YangWei ZhouChaoran YangTianyu ZhangYanqiang Huang . Enhanced Methanol Selectivity in CO2 Hydrogenation by Decoration of K on MoS2 Catalyst. Acta Physico-Chimica Sinica, 2024, 40(7): 2308017-0. doi: 10.3866/PKU.WHXB202308017

    7. [7]

      Xinyu XuJiale LuBo SuJiayi ChenXiong ChenSibo Wang . Steering charge dynamics and surface reactivity for photocatalytic selective methane oxidation to ethane over Au/Ti-CeO2. Acta Physico-Chimica Sinica, 2025, 41(11): 100153-0. doi: 10.1016/j.actphy.2025.100153

    8. [8]

      Peng YUELiyao SHIJinglei CUIHuirong ZHANGYanxia GUO . Effects of Ce and Mn promoters on the selective oxidation of ammonia over V2O5/TiO2 catalyst. Chinese Journal of Inorganic Chemistry, 2025, 41(2): 293-307. doi: 10.11862/CJIC.20240210

    9. [9]

      Dingwen CHENSiheng YANGHaiyan FUHua CHENXueli ZHENGWeichao XUEJiaqi XURuixiang LI . NiOOH-mediated synthesis of gold nanoaggregates for electrocatalytic performance for selective oxidation of glycerol to glycolate. Chinese Journal of Inorganic Chemistry, 2025, 41(11): 2317-2326. doi: 10.11862/CJIC.20250053

    10. [10]

      Ze LuoYukun ZhuYadan LuoGuangmin RenYonghong WangHua Tang . Photocatalytic selective oxidation of 5-hydroxymethylfurfural coupled with H2 evolution over In2O3/ZnIn2S4 S-scheme heterojunction. Acta Physico-Chimica Sinica, 2026, 42(3): 100166-0. doi: 10.1016/j.actphy.2025.100166

    11. [11]

      Zhen LiSujuan ZhangZhongliao WangJinfeng ZhangGaoli ChenShifu Chen . Rational design of S-scheme CdS/MnO2 heterojunctions for high-value photothermal synergistic catalytic oxidation of toluene. Acta Physico-Chimica Sinica, 2026, 42(4): 100179-0. doi: 10.1016/j.actphy.2025.100179

    12. [12]

      Yunhao Zhang Yinuo Wang Siran Wang Dazhen Xu . Progress in Selective Construction of Functional Aromatics from Nitrogenous Cycloalkanes. University Chemistry, 2024, 39(11): 136-145. doi: 10.3866/PKU.DXHX202401083

    13. [13]

      Yu WangHaiyang ShiZihan ChenFeng ChenPing WangXuefei Wang . 具有富电子Ptδ壳层的空心AgPt@Pt核壳催化剂:提升光催化H2O2生成选择性与活性. Acta Physico-Chimica Sinica, 2025, 41(7): 100081-0. doi: 10.1016/j.actphy.2025.100081

    14. [14]

      Peiran ZHAOYuqian LIUCheng HEChunying DUAN . A functionalized Eu3+ metal-organic framework for selective fluorescent detection of pyrene. Chinese Journal of Inorganic Chemistry, 2024, 40(4): 713-724. doi: 10.11862/CJIC.20230355

    15. [15]

      Xilin Zhao Xingyu Tu Zongxuan Li Rui Dong Bo Jiang Zhiwei Miao . Research Progress in Enantioselective Synthesis of Axial Chiral Compounds. University Chemistry, 2024, 39(11): 158-173. doi: 10.12461/PKU.DXHX202403106

    16. [16]

      Lijun Yue Siya Liu Peng Liu . 不同晶相纳米MnO2的制备及其对生物乙醇选择性氧化催化性能的测试——一个科研转化的综合化学实验. University Chemistry, 2025, 40(8): 225-232. doi: 10.12461/PKU.DXHX202410005

    17. [17]

      Jiakun BAITing XULu ZHANGJiang PENGYuqiang LIJunhui JIA . A red-emitting fluorescent probe with a large Stokes shift for selective detection of hypochlorous acid. Chinese Journal of Inorganic Chemistry, 2024, 40(6): 1095-1104. doi: 10.11862/CJIC.20240002

    18. [18]

      Jun LUOBaoshu LIUYunchang ZHANGBingkai WANGBeibei GUOLan SHETianheng CHEN . Europium(Ⅲ) metal-organic framework as a fluorescent probe for selectively and sensitively sensing Pb2+ in aqueous solution. Chinese Journal of Inorganic Chemistry, 2024, 40(12): 2438-2444. doi: 10.11862/CJIC.20240240

    19. [19]

      Shuhong XiangLv YangYingsheng XuGuoxin CaoHongjian Zhou . Selective electrosorption of Cs(Ⅰ) from high-salinity radioactive wastewater using CNT-interspersed potassium zinc ferrocyanide electrodes. Acta Physico-Chimica Sinica, 2025, 41(9): 100097-0. doi: 10.1016/j.actphy.2025.100097

    20. [20]

      Jie ZHAOSen LIUQikang YINXiaoqing LUZhaojie WANG . Theoretical calculation of selective adsorption and separation of CO2 by alkali metal modified naphthalene/naphthalenediyne. Chinese Journal of Inorganic Chemistry, 2024, 40(3): 515-522. doi: 10.11862/CJIC.20230385

Metrics
  • PDF Downloads(3)
  • Abstract views(1569)
  • HTML views(197)

通讯作者: 陈斌, bchen63@163.com
  • 1. 

    沈阳化工大学材料科学与工程学院 沈阳 110142

  1. 本站搜索
  2. 百度学术搜索
  3. 万方数据库搜索
  4. CNKI搜索
Address:Zhongguancun North First Street 2,100190 Beijing, PR China Tel: +86-010-82449177-888
Powered By info@rhhz.net

/

DownLoad:  Full-Size Img  PowerPoint
Return