Citation: QIN Zi-ya, XIE Li-ping, WANG Yun-feng, DU Jin-shan, PI Jing-sheng. Analysis on the chemical compositions of the tar from sewage sludge gasification in a fluidized bed reactor[J]. Journal of Fuel Chemistry and Technology, ;2017, 45(6): 761-768. shu

Analysis on the chemical compositions of the tar from sewage sludge gasification in a fluidized bed reactor

  • Corresponding author: XIE Li-ping, xielp991@tjpu.edu.cn
  • Received Date: 27 December 2016
    Revised Date: 31 March 2017

    Fund Project: the Science and Technology Plants of Tianjin 15ZCZDSF00420Tianjin Research Program Key Projects of Apply Base and Frontier Technology 11JCZDJC24900

Figures(5)

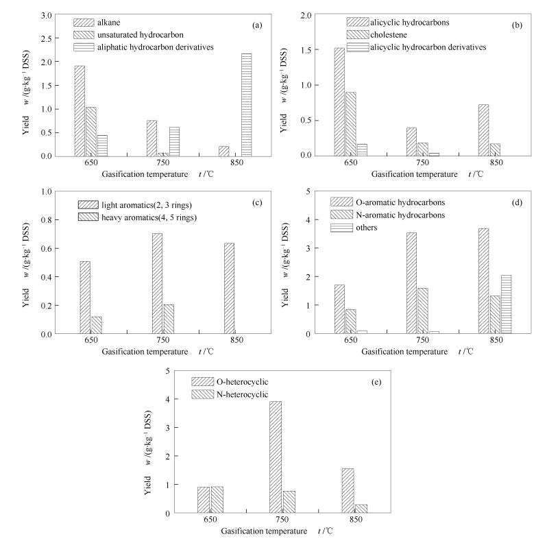
  • The influence of the gasification temperature(650, 750 and 850℃)and sludge types on the yield and chemical compositions of tar produced by the air gasification of sewage sludge in a fluidized bed gasifier was studied by GC-MS analysis. The results show that the yields of tar decrease with gasification temperature increasing, and the yields of tar from anaerobic digestion sludge gasification are lower than that from indigested sludge gasification. The chemical compositions of tar can be divided into five categories:aliphatic compounds, alicyclic compounds, aromatic hydrocarbons, aromatic hydrocarbon derivatives and heterocyclic compounds. When the gasification temperature increases, the yields of aliphatic and alicyclic compounds in the tar from the gasification of indigestion sludge produced by Anaerobic-Anoxic-Oxic (A2/O) process decrease; the yields of aromatic hydrocarbon derivatives in the tar increase; and the yields of aromatic hydrocarbons and heterocyclic compounds firstly increase and then decrease. At 650℃, the yields of all the organic compounds in the tar from the gasification of digestion sludge produced by activated sludge process are lower than that from the indigestion sludge gasification; the yields of aromatic hydrocarbons in the tar from the gasification of the digestion sludge produced by A2/O process are higher than that from the indigestion sludge gasification; and the yields of the other organic compounds are lower than that for the indigestion sludge gasification.
  • 加载中
    1. [1]

      HARRISON E Z, OAKES S R, HYSELL M, HAYB A. Organic chemicals in sewage sludges[J]. Sci Total Environ, 2006,367(2/3):481-497.  

    2. [2]

      AZNAR M, MANYÀ J J, GARCÍA G, SÁNCHEZ J L, MURILLO M B. Influence of freeboard temperature, fluidization velocity, and particle size on tar production and composition during the air gasification of sewage sludge[J]. Energy Fuels, 2008,22(4):2840-2850. doi: 10.1021/ef800017u

    3. [3]

      ADEGOROYE A, PATERSON N, LI X, MORGAN T, HEROD A A, DUGWELL D R, KANDIYOTI R. The characterisation of tars produced during the gasification of sewage sludge in a spouted bed reactor[J]. Fuel, 2004,83(14/15):1949-1960.  

    4. [4]

      HU Yan-jun, XIAO Chun-long, WANG Jiu-bing, ZHENG Xiao-yan. The characteristics of gasification products of sewage sludge high temperature steam gasification[J]. J Zhejiang Univ Technol, 2015,43(1):47-51.  

    5. [5]

      DOSHI V A, VUTHALURU H B, BASTOW T. Investigations into the control of odour and viscosity of biomass oil derived from pyrolysis of Sewage Sludge[J]. Fuel Process Technol, 2005,86(8):885-897. doi: 10.1016/j.fuproc.2004.10.001

    6. [6]

      FUENTES-CANO D, GÓMEZ-BAREA A, NILSSON S, OLLERO P. The influence of temperature and steam on the yields of tar and light hydrocarbon compounds during devolatilization of dried sewage sludge in a fluidized bed[J]. Fuel, 2013,108:341-350. doi: 10.1016/j.fuel.2013.01.022

    7. [7]

      ROCHE E, DE ANDRÉS J M, NARROS A, RODRÍGUEZ M E. Air and air-steam gasification of sewage sludge. The influence of dolomite and throughput in tar production and composition[J]. Fuel, 2014,115:54-61. doi: 10.1016/j.fuel.2013.07.003

    8. [8]

      JUAN M A, ADOLFO N, MARIA E R. Behavior of dolomite, olivine and alumina as primary catalysts in air-steam gasification of sewage sludge[J]. Fuel, 2011,690(2):521-527.  

    9. [9]

      YANG Ming-qin, XIE Li-ping, YUE Jun-nan, ZHANG Wei-hong. Study on the pyrolysis properties of the tars from sewage sludge gasification[J]. Chem Ind Eng Prog, 2015,34(5):1472-1477.  

    10. [10]

      SUN Ying, XU Ran, LIU Zhong-zhe, ZHOU Ji-zhi, QIAN Guang-ren. Comparison of thermochemical properties of anaerobic digested sludge and undigested sludge[J]. Acta Sci Circumst, 2009,29(1):169-174.  

    11. [11]

      WANG Xing-run, JIN Yi-ying, WANG Zhi-yu, DU Xin, NIE Yong-feng. Study on pyrolysis and combustion of difference sewage sludges by TGA-FIR analysis[J]. J Fuel Chem Technol, 2007,35(1):27-31.  

    12. [12]

      PINTO F, FRANCO C, ANDRÉ R N, TAVARES C, DIAS M, GULYURTLU I, CABRITA I. Effect of experimental conditions on co-gasification of coal, biomass and plastics wastes with air/steam mixtures in a fluidized bed system[J]. Fuel, 2003,82(15/17):1967-1976.  

    13. [13]

      BLASING M, MULLER M. Release of alkali metal, sulphur, and chlorine species from high temperature gasification of high-and low-rank coals[J]. Fuel Process Technol, 2013,106(2):289-294.  

    14. [14]

      FONTS I, AZUARA M, GEA G, MURILLO M B. Study of the pyrolysis liquids obtained from different sewage sludge[J]. J Anal Appl Pyrolysis, 2009,85(1/2):184-191.  

    15. [15]

      MO Ce-hui, CAI Quan-ying, WU Qi-tang, Li Gui-rong, WANG Bo-guang, TIAN Kai. Research advances on organic pollutants in municipal sludge[J]. Agro-Environ Prot, 2001,20(4):114-118.  

    16. [16]

      WAGGONER D C, CHEN H M, WILLOUGHBY A S, HATCHER P G. Formation of black carbon-like and alicyclic aliphatic compounds by hydroxyl radical initiated degradation of lignin[J]. Org Geochem, 2015,82:69-76. doi: 10.1016/j.orggeochem.2015.02.007

    17. [17]

      HIGUCHI T. Microbial degradation of lignin:Role of lignin peroxidase, manganese peroxidase and laccase[J]. Proc Jpn Acad, 2004,80(5):204-214. doi: 10.2183/pjab.80.204

    18. [18]

      ELLIOTT D C. Relation of reaction time and temperature to chemical composition of pyrolysis oils[C]//ACS Symposium Series. 1988:55-65.

    19. [19]

      LEDESMA E B, MARSH N D, SANDROWITZ A K, WORNAT M J. An experimental study on the thermal decomposition of catechol[J]. Proc Combust Inst, 2002,29(2):299-306.  

    20. [20]

      CYPRES R. Aromatic hydrocarbons formation during coal pyrolysis[J]. Fuel Process Technol, 1987,15:1-15. doi: 10.1016/0378-3820(87)90030-0

    21. [21]

      LI Jian-fen. The basic and application study on biomass catalytic pyrolysis and gasification[D]. Wuhan:Huazhong University of Science & Technology, 2007.

    22. [22]

      DIAN Ping-ge, ZHANG Le-guan, JIANG Cheng-cheng. The influence of pyrolysis temperature on the component of biomass pyrolytic tar[J]. Renewable Energy Resour, 2012,30(5):54-58.  

    23. [23]

      WORNAT M J, SAROFIM A F, LONGWELL J P, LAFLEUR A L. Influence of pyrolysis conditions on the composition of nitrogen-containing polycyclic aromatic compounds from a bituminous coal[J]. Energy Fuels, 1988,2(6):775-782. doi: 10.1021/ef00012a009

    24. [24]

      AZNAR M, MANYÀ J J, GARCÍA G, SÁNCHEZ J L, MURILLO M B. Influence of freeboard temperature, fluidization velocity, and particle size on tar production and composition during the air gasification of sewage sludge[J]. Energy Fuels, 2008,22(4):2840-2850. doi: 10.1021/ef800017u

    25. [25]

      XIE Li-ping, ZHENG Shi-mei, LI Tao. Effect of wastewater treatment processes on thermal treatment properties of sewage sludge[J]. J Fuel Chem Technol, 2009,37(4):501-505.  

    26. [26]

      ZHANG Xue-ying, ZHOU Li-xiang. Components and characterization of sewage sludge I:Contents and forms of nutrients and organic matter[J]. J Agro-Environ Sci, 2004,23(1):110-114.  

    27. [27]

      CONESA J A, MARCILLA A, PRATS D, RODRIGUEZ-PASTOR M. Kinetic study of the pyrolysis of sewage sludge[J]. Waste Manage Res, 1997,15(3):293-305. doi: 10.1177/0734242X9701500307

    28. [28]

      ZHANG Xue-ying, HUANG Huan-zhong, ZHOU Li-xiang. The changes of fractionation and spectroscopic characterization of humic substances before and after sewage sludge composting[J]. Environ Chem, 2004,23(1):23-26.  

    29. [29]

      MORF P, HASLER P, NUSSBAUMER T. Mechanisms and kinetics of homogeneous secondary reactions of tar from continuous pyrolysis of wood chips[J]. Fuel, 2002,81(7):843-853. doi: 10.1016/S0016-2361(01)00216-2

    30. [30]

      LERCH R N, AZARI P, BARBARICK K A, SOMMERS L E, WESTFALL D G. Sewage sludge proteins:Ⅱ. Extract characterization[J]. J Environ Qual, 1993,22(3):625-629.  

    31. [31]

      ZHOU Li-xiang, HU Ai-tang, HU Zhong-ming. The composition and characteristics of anaerobically digested sludge[J]. Plant Nutr Fert Sci, 1997,3(2):229-231.  

  • 加载中
    1. [1]

      Minglei SunZhong-Yong Yuan . Valorization strategies for electrodegradation of nitrogenous wastes in sewage. Acta Physico-Chimica Sinica, 2025, 41(9): 100108-0. doi: 10.1016/j.actphy.2025.100108

    2. [2]

      Lijun Dong Pengcheng Du Guangnong Lu Wei Wang . Exploration and Practice of Independent Design Experiments in Inorganic and Analytical Chemistry: A Case Study of “Preparation and Composition Analysis of Tetraammine Copper(II) Sulfate”. University Chemistry, 2024, 39(4): 361-366. doi: 10.3866/PKU.DXHX202310041

    3. [3]

      Juan Yang . Construction of General Chemistry Course in the Chemistry “101 Plan”. University Chemistry, 2024, 39(10): 8-13. doi: 10.12461/PKU.DXHX202408026

    4. [4]

      Hongyan Chen Yajun Hou Shui Hu Zhuoxun Wei Fang Zhu Chengyong Su . Construction of Synthetic Chemistry Experiment of the Chemistry “101 Plan”. University Chemistry, 2024, 39(10): 58-63. doi: 10.12461/PKU.DXHX202409109

    5. [5]

      Hong Yan Wenfeng Wang Keyin Ye Yaofeng Yuan . Organic Electrochemistry and Its Integration into Chemistry Teaching. University Chemistry, 2025, 40(5): 301-310. doi: 10.12461/PKU.DXHX202407027

    6. [6]

      Fengxiao Wang Zhiwei Miao Yaofeng Yuan . 有机磷化学与化学教学. University Chemistry, 2025, 40(8): 158-168. doi: 10.12461/PKU.DXHX202410077

    7. [7]

      Yutao Lu Jing Wu . Rebirth from the Flames: Unveiling the “Chemical Secrets” of Fire Smoke. University Chemistry, 2024, 39(9): 208-213. doi: 10.12461/PKU.DXHX202401001

    8. [8]

      Liangzhen Hu Li Ni Ziyi Liu Xiaohui Zhang Bo Qin Yan Xiong . A Green Chemistry Experiment on Electrochemical Synthesis of Benzophenone. University Chemistry, 2024, 39(6): 350-356. doi: 10.3866/PKU.DXHX202312001

    9. [9]

      Dongcheng Liu Xiaokun Li Huancheng Hu Cunji Gao Qiong Hu Shuting Li Yuning Liang . Chemistry Experimental Teaching Reform for the Promotion of Training Exceptional Chemistry Teachers for Normal Schools. University Chemistry, 2024, 39(8): 1-6. doi: 10.3866/PKU.DXHX202311072

    10. [10]

      Bing Sun . Practice of Ideological and Political Education in Physical Chemistry Courses for Non-Chemistry Majors. University Chemistry, 2024, 39(8): 28-35. doi: 10.3866/PKU.DXHX202311080

    11. [11]

      Jiaqi Chen Chunhui Luan Yue Sun Qiyun Ma Wangfei Hao Yanjia Wang Xu Wu . Understanding the Dynamics of Heat and Cold through Chemistry: The Interplay of Chemical Energy and Thermal Energy. University Chemistry, 2024, 39(9): 214-223. doi: 10.12461/PKU.DXHX202312020

    12. [12]

      Qin Kuang Lansun Zheng Yaxian Zhu . Overall Design of the Inorganic Chemistry Course for the Chemistry “101 Plan”. University Chemistry, 2024, 39(10): 14-21. doi: 10.12461/PKU.DXHX202408071

    13. [13]

      Yang Liu Peng Chen Lei Liu . Chemistry “101 Plan”: Design and Construction of Chemical Biology Textbook. University Chemistry, 2024, 39(10): 45-51. doi: 10.12461/PKU.DXHX202407085

    14. [14]

      Shouyun Yu Wenwei Zhang Shunliu Deng Weihong Li Yanping Ren Yijun Li Yuan Chun Houjin Li Li Ma Faqiong Zhao Xiuqiong Zeng Shuyong Zhang Changgong Meng Jianrong Zhang . Reflection and Practice on the Construction of Fundamental Chemistry Experiments under the Chemistry “101 Plan”. University Chemistry, 2024, 39(10): 52-57. doi: 10.12461/PKU.DXHX202408009

    15. [15]

      Weitai Wu Laiying Zhang Yuan Chun Liang Qiao Bin Ren . Course Design of Chemical Measurement Experiments in Chemistry “101 Plan”. University Chemistry, 2024, 39(10): 64-68. doi: 10.12461/PKU.DXHX202409031

    16. [16]

      Tianyu Feng Guifang Jia Peng Zou Jun Huang Zhanxia Lü Zhen Gao Chu Wang . Construction of the Chemistry Biology Experiment Course in the Chemistry “101 Program”. University Chemistry, 2024, 39(10): 69-77. doi: 10.12461/PKU.DXHX202409002

    17. [17]

      Wen Shi Zhangwen Wei Mei Pan Chengyong Su . Explorations on the Course Construction of Structural Chemistry Practice and Application Targeting the Chemistry “101 Plan”. University Chemistry, 2024, 39(10): 96-100. doi: 10.12461/PKU.DXHX202409036

    18. [18]

      Laiying Zhang Weitai Wu Yiru Wang Shunliu Deng Zhaobin Chen Jiajia Chen Bin Ren . Practices for Improving the Course of Chemical Measurement Experiments in the Chemistry “101 Plan”. University Chemistry, 2024, 39(10): 107-112. doi: 10.12461/PKU.DXHX202409032

    19. [19]

      Quanguo Zhai Peng Zhang Wenyu Yuan Ying Wang Shu'ni Li Mancheng Hu Shengli Gao . Reconstructing the “Fundamentals of Coordination Chemistry” in Inorganic Chemistry Course. University Chemistry, 2024, 39(11): 117-130. doi: 10.12461/PKU.DXHX202403065

    20. [20]

      Cen Zhou Biqiong Hong Yiting Chen . Application of Electrochemical Techniques in Supramolecular Chemistry. University Chemistry, 2025, 40(3): 308-317. doi: 10.12461/PKU.DXHX202406086

Metrics
  • PDF Downloads(1)
  • Abstract views(1011)
  • HTML views(129)

通讯作者: 陈斌, bchen63@163.com
  • 1. 

    沈阳化工大学材料科学与工程学院 沈阳 110142

  1. 本站搜索
  2. 百度学术搜索
  3. 万方数据库搜索
  4. CNKI搜索
Address:Zhongguancun North First Street 2,100190 Beijing, PR China Tel: +86-010-82449177-888
Powered By info@rhhz.net

/

DownLoad:  Full-Size Img  PowerPoint
Return