Citation: ZHENG Pan-pan, WANG Yong-gang, WU Xin, LIU Chen, BAI Yan-ping, LIN Xiong-chao. Transformation of nitrogen during pyrolysis of Na-loaded Shengli brown coal[J]. Journal of Fuel Chemistry and Technology, ;2017, 45(4): 418-426. shu

Transformation of nitrogen during pyrolysis of Na-loaded Shengli brown coal

  • Corresponding author: WANG Yong-gang, wyg1960@126.com
  • Received Date: 17 December 2016
    Revised Date: 1 March 2017

    Fund Project: the National Natural Science Foundation of China 21406261the Plan of National Science and Technology Support 2012BAA04B02

Figures(7)

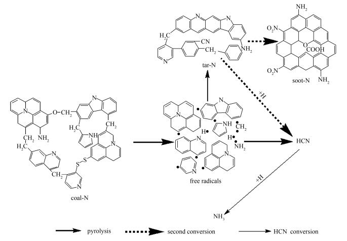
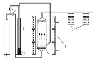
  • The impact of Na content on nitrogen transformation during the pyrolysis of Shengli raw coal and the Na-loaded coal in a fixed-bed/fluidized-bed quartz reactor was investigated. The quantification of NH3 and HCN in gas product was carried out using an ultraviolet-visible spectrophotometer while the occurrence modes of nitrogen in the solid chars were detected by X-ray photoelectron spectroscopy (XPS). The results indicate that the transformation of coal-N to NH3 can be catalytically enhanced by certain amount of Na at low temperature. When the final pyrolysis temperature is relatively high, the presence of Na appears to inhibit the formation of NH3. Meanwhile, for any given pyrolysis temperature, the production of HCN will be suppressed by Na. When the pyrolysis temperature is high, the increase of Na content in coal causes the reduction of nitrogen remaining in char and promotes quaternary nitrogen formation, whereas, the effect is negligible at low temperature.
  • 加载中
    1. [1]

      WU Z H, SUGIMOTO Y, KAWASHIMA H. The influence of mineral matter and catalyst on nitrogen release during slow pyrolysis of coal and related material:A comparative study[J]. Energy Fuels, 2002,16(2):451-456. doi: 10.1021/ef010183q

    2. [2]

      FRIEBEL J, KÖPSEL R F. The fate of nitrogen during pyrolysis of German low rank coals-a parameter study[J]. Fuel, 1999,78(8):923-932. doi: 10.1016/S0016-2361(99)00008-3

    3. [3]

      WU Z H, SUGIMOTO Y, KAWASHIMA H. Effect of demineralization and catalyst addition on N2 formation during coal pyrolysis and on char gasification[J]. Fuel, 2003,82(15/17):2057-2064.  

    4. [4]

      TSUBOUCHI N, OHTSUKA Y. Formation of N2 during pyrolysis of Ca-loaded coals[J]. Fuel, 2002,81(11/12):1423-1431.  

    5. [5]

      OHTSUKA Y, WU Z, EDWARD F. Effect of alkali and alkaline metals on nitrogen release during temperature programmed pyrolysis of coal[J]. Fuel, 1997,76(14/15):1361-1367.  

    6. [6]

      HU Jun-hao, LI Yang, YANG Hai-ping, YANG Qing, SHAO Jing-ai, WANG Xian-hua, CHEN Han-ping. Release of nitrogenous products and the catalytic characteristics of metal ions during coal pyrolysis[J]. J Fuel Chem Technol, 2014,42(8):913-921.  

    7. [7]

      MENG Li-li, FU Chun-hui, WANG Mei-Jun, CHANG Li-ping. Effect of alkali carbonates on the formation of H2S and NH3 during temperature programmed pyrolysis of brown coal[J]. J Fuel Chem Technol, 2012,40(2):138-142.  

    8. [8]

      ZHAO Zong-bin, LI Wen, LI Bao-qing, CHEN Hao-kan. Effect of Na, Ca and Fe on evolution of fuel-nitrogen during pyrolysis and combustion of model compound[J]. J Fuel Chem Technol, 2002,30(4):294-299.  

    9. [9]

      ZHAO Z B, LI W, QIU J S, LI B Q. Effect of Na、Ca and Fe on the evolution of nitrogen species during pyrolysis and combustion of model chars[J]. Fuel, 2003,82(15/17):1839-1844.

    10. [10]

      QIN Ling-li. Effect of metal compound on the transformation of coal-N and coal-S during coal pyrolysis[D]. Taiyuan:Taiyuan University of Technology, 2007.

    11. [11]

      WANG Yong-gang, ZHENG Pan-pan, YANG Sa-sha, BAI Yan-ping, JIA Xiao-lu. Influence of demineralization using acid wash on N migration and transformation during pyrolysis of Shengli brown coal[J]. J Fuel Chem Technol, 2004,42(5):519-526.  

    12. [12]

      XU Shen-qi, ZHOU Zhi-jie, DAI Zheng-hua, YU Guang-suo, GONG Xin. Effects of alkalimetal and ash on crystallite structure of coal char during pyrolysis and on gasification reactivity[J]. J Chem Eng Chin Univ, 2010,24(1):64-70.  

    13. [13]

      LI C Z. Some recent advances in the understanding of the pyrolysis gasification behavior of Victorian brown coal[J]. Fuel, 2007,86(12/13):1664-1683.  

    14. [14]

      WOOD B J, SANCIER K M. The mechanism of the catalytic gasification of coal char:A critical review[J]. Catal Rev, 1984,26(2):233-279. doi: 10.1080/01614948408078065

    15. [15]

      VERNAGLIA B A, WORNAT M J, LI C Z, NELSON P F. The effects of pyrolysis temperature and ion-exchanged metals on the composition of brown coal tars produced in a fluidized-bed reactor[J]. Symp Combust, 1996,26(2):3287-3294. doi: 10.1016/S0082-0784(96)80175-5

    16. [16]

      LI Chun-zhu. Advance in the Science of Victorian Brown Coal[M]. Beijing:Chemical Industry Press, 2009.

    17. [17]

      ZHANG S, HAYASHI J I, LI C Z. Volatilisation and catalytic effects of alkali and alkaline earth metallic species during the cytolysis and gasification of Victorian brown coal. Part IX. Effects of volatile-char interactions on char-H2O and char-O2 reactivities[J]. Fuel, 2011,90(4):1655-1661. doi: 10.1016/j.fuel.2010.11.008

    18. [18]

      ZHANG Shu, BAI Yan-ping, MI Liang, ZHENG Pan-pan, CHEN Xu-jun, XU De-ping, WANG Yong-gang. Effect of heating rate on the migration and transformation of N during pyrolysis of Shengli brown coal[J]. J Fuel Chem Technol, 2013,41(10):1153-1159. doi: 10.1016/S1872-5813(13)60048-1 

    19. [19]

      QIN Ling-li, CUI Yin-ping, XU Ming-yan, CHANG Li-ping. Main influencing factors in the, research on catalytic conversion of coal-nitrogen[J]. Mod Chem Ind, 2006,26(2):382-385.  

    20. [20]

      MANZOORI A R, AGARWAL P K. The fate of organically bound inorganic elements and sodium chloride during fluidized bed combustion of high sodium, high sulphur low rank coals[J]. Fuel, 1992,71(5):513-522. doi: 10.1016/0016-2361(92)90148-H

    21. [21]

      YAN X, CHE D F, XU T M. Effect of rank, temperature and inherent minerals on nitrogen emissions during coal pyrolysis in a fixed bed reactor[J]. Fuel Process Technol, 2005,86(7):739-756. doi: 10.1016/j.fuproc.2004.08.005

    22. [22]

      YAN Xiao, CHE De-fu, XU Tong-mo. Experimental investigation on char nitrogen conversion during coal pyrolysis[J]. J Xi'an Jiaotong Univ, 2004,38(9):980-984.  

    23. [23]

      LI C Z, NELSON P F. Interaction of quarts, zircon sand and stainless steel with ammonia implications for the measurement of ammonia at high temperature[J]. Fuel, 1996,75(4):525-526. doi: 10.1016/0016-2361(95)00256-1

    24. [24]

      ZHANG Shuang-quan. Coal Chemistry[M]. 2nd ed. Xuzhou:China University of Mining and Technology Press, 2010.

    25. [25]

      LIU Yan-hua, CHE De-fu, LI Yin-tang, HUI Shi-en, XU Tong-mo. X-ray photoelectron spectroscopy determination of the forms of nitrogen in Tongchuan coal and its chars[J]. J Xi'an Jiaotong Univ, 2001,35(7):661-665.  

    26. [26]

      WU Ting, LING Feng-xiang, MA Bo, WANG Shao-jun, WU Hong-xin. Analysis of acidcomposition and base composition from low-temperature coal tar by GC-MS[J]. J Petrochem Univ, 2013,26(3):44-52.  

    27. [27]

      ZHANG Xi-liang, JIA De-min. Chemical model of carbon black surface[C]. Nation Polymer Academic Paper Report, 2001.

    28. [28]

      WANG Dao-hong, WANG Ri-jie, ZHANG Ji-yan, HE Fei. Study on surface chemical property of carbon black pigments by x-ray photoelectronic spectroscopy[J]. J Tianjin Univ, 2004,37(7):634-638.  

    29. [29]

      ZHU Ting-yu, TANG Zhong, HUANG Jie-jie, ZHANG Jian-min, WANG Yang. Thermo-gravimetric study of coal mild gasification[J]. J Fuel Chem Technol, 1999,27(5):420-423.  

    30. [30]

      TIAN F J, YU J L, MCKENZIE L J, HAYASHI J I, LI C Z. Formation of NOx precursors during the pyrolysis of coal and biomass. Part IX. Effect of coal ash and externally loaded-Na on fuel-N conversion during the reforming of coal and biomass in steam[J]. Fuel, 2006,85(10/11):1411-1417.

    31. [31]

      LI C Z, LI L T. Formation of NOx and SOx precursors during the pyrolysis of coal and biomass. Part III. Further discussion on the formation of HCN and NH3 during pyrolysis[J]. Fuel, 2000,79(15):1899-1906. doi: 10.1016/S0016-2361(00)00008-9

    32. [32]

      XIONG JIE, ZHOU Zhi-jie, XU Shen-qi, YU Guang-suo. Effect of alkali metal on rate of coal pyrolysis and gasification[J]. CIESC J, 2011,62(1):192-198.  

    33. [33]

      KAPTEIGIN F, MOULIGIN J A, MATZNER S, BOEHMB H P. The development of nitrogen functionality in model chars during gasification in CO2 and O2[J]. Carbon, 1999,37(7):1143-1150. doi: 10.1016/S0008-6223(98)00312-1

    34. [34]

      SCHMIER S H, FRIEBEL J, STREUBEL P, HESSEB R K, PSELA R. Change of chemical bonding of nitrogen of polymeric N-heterocyclic compounds during pyrolysis[J]. Carbon, 1999,37(12):1965-1978. doi: 10.1016/S0008-6223(99)00071-8

    35. [35]

      XU M X, LI S Y, WU Y H, JIA L F, LU Q G. Effects of CO2 on the fuel nitrogen conversion during coal rapid pyrolysis[J]. Fuel, 2016,184:430-439. doi: 10.1016/j.fuel.2016.06.130

  • 加载中
    1. [1]

      Yang ZHOULili YANWenjuan ZHANGPinhua RAO . Thermal regeneration of biogas residue biochar and the ammonia nitrogen adsorption properties. Chinese Journal of Inorganic Chemistry, 2025, 41(8): 1574-1588. doi: 10.11862/CJIC.20250032

    2. [2]

      Cuiwu MOGangmin ZHANGChao WUZhipeng HUANGChi ZHANG . A(NH2SO3) (A=Li, Na): Two ultraviolet transparent sulfamates exhibiting second harmonic generation response. Chinese Journal of Inorganic Chemistry, 2024, 40(7): 1387-1396. doi: 10.11862/CJIC.20240045

    3. [3]

      Gregorio F. Ortiz . Some facets of the Mg/Na3VCr0.5Fe0.5(PO4)3 battery. Chinese Chemical Letters, 2024, 35(10): 109391-. doi: 10.1016/j.cclet.2023.109391

    4. [4]

      Yuhao ZhouSiyuan WuXiaozhe RenHongjin LiShu LiTianying Yan . Effects of salt fraction on the Na+ transport in salt-in-ionic liquid electrolytes. Chinese Chemical Letters, 2025, 36(6): 110048-. doi: 10.1016/j.cclet.2024.110048

    5. [5]

      Qi XiaKe YanKe JinYang WuYanan FuDing ChenHuixin ChenHongjun Yue . Interface design of tea stem-derived micropore carbon enables high-performance Na-Se batteries. Chinese Chemical Letters, 2025, 36(10): 110406-. doi: 10.1016/j.cclet.2024.110406

    6. [6]

      Yanqiu XuXuanli ChenYin LiKeyu ZhangShaoze ZhangJunxian HuYaochun Yao . Progress in Na2FePO4F cathodes for energy storage: Fabrication, modification and application. Chinese Chemical Letters, 2025, 36(12): 110574-. doi: 10.1016/j.cclet.2024.110574

    7. [7]

      Wang CHENGuixian WUYingying XIONGMing CHENGMingming ZHOUHui ZHANGZhengyun LIANGDejin HUANGMinghua CHEN . Crystal structures of complexes of cyclobutanocucurbit[5]uril with Na+/K+: Coordination state in different anionic environments. Chinese Journal of Inorganic Chemistry, 2026, 42(1): 161-169. doi: 10.11862/CJIC.20250195

    8. [8]

      Kai CHENFengshun WUShun XIAOJinbao ZHANGLihua ZHU . PtRu/nitrogen-doped carbon for electrocatalytic methanol oxidation and hydrogen evolution by water electrolysis. Chinese Journal of Inorganic Chemistry, 2024, 40(7): 1357-1367. doi: 10.11862/CJIC.20230350

    9. [9]

      Chi Li Jichao Wan Qiyu Long Hui Lv Ying XiongN-Heterocyclic Carbene (NHC)-Catalyzed Amidation of Aldehydes with Nitroso Compounds. University Chemistry, 2024, 39(5): 388-395. doi: 10.3866/PKU.DXHX202312016

    10. [10]

      Yunhao Zhang Yinuo Wang Siran Wang Dazhen Xu . Progress in Selective Construction of Functional Aromatics from Nitrogenous Cycloalkanes. University Chemistry, 2024, 39(11): 136-145. doi: 10.3866/PKU.DXHX202401083

    11. [11]

      Yongwei ZHANGChuang ZHUWenbin WUYongyong MAHeng YANG . Efficient hydrogen evolution reaction activity induced by ZnSe@nitrogen doped porous carbon heterojunction. Chinese Journal of Inorganic Chemistry, 2025, 41(4): 650-660. doi: 10.11862/CJIC.20240386

    12. [12]

      Xianghai SongXiaoying LiuZhixiang RenXiang LiuMei WangYuanfeng WuWeiqiang ZhouZhi ZhuPengwei Huo . Insights into the greatly improved catalytic performance of N-doped BiOBr for CO2 photoreduction. Acta Physico-Chimica Sinica, 2025, 41(6): 100055-0. doi: 10.1016/j.actphy.2025.100055

    13. [13]

      Minglei SunZhong-Yong Yuan . Valorization strategies for electrodegradation of nitrogenous wastes in sewage. Acta Physico-Chimica Sinica, 2025, 41(9): 100108-0. doi: 10.1016/j.actphy.2025.100108

    14. [14]

      Haitao WangLianglang YuJizhou JiangArramelJing Zou . S-Doping of the N-Sites of g-C3N4 to Enhance Photocatalytic H2 Evolution Activity. Acta Physico-Chimica Sinica, 2024, 40(5): 2305047-0. doi: 10.3866/PKU.WHXB202305047

    15. [15]

      Ziyi XiaoXinyi MaLinping WangHaobin HuEnzhou Liu . Efficient photocatalytic conversion H2S over NiS2/twinned-Mn0.5Cd0.5S Schottky/S-scheme homojunction in Na2S/Na2SO3 solution. Acta Physico-Chimica Sinica, 2026, 42(4): 100171-0. doi: 10.1016/j.actphy.2025.100171

    16. [16]

      Rohit KumarAnita SudhaikAftab Asalam Pawaz KhanVan Huy NeguyenArchana SinghPardeep SinghSourbh ThakurPankaj Raizada . Designing tandem S-scheme photo-catalytic systems: Mechanistic insights, characterization techniques, and applications. Acta Physico-Chimica Sinica, 2025, 41(11): 100150-0. doi: 10.1016/j.actphy.2025.100150

    17. [17]

      Shunshun JiangJi ZhangJing WangShan-Tao Zhang . Excellent energy storage properties in non-stoichiometric Bi0.5Na0.5TiO3-based relaxor ferroelectric ceramics. Chinese Chemical Letters, 2024, 35(7): 108955-. doi: 10.1016/j.cclet.2023.108955

    18. [18]

      Bin FengTao LongRuotong LiYuan-Li Ding . Rationally constructing metallic Sn-ZnO heterostructure via in-situ Mn doping for high-rate Na-ion batteries. Chinese Chemical Letters, 2025, 36(2): 110273-. doi: 10.1016/j.cclet.2024.110273

    19. [19]

      Ruofan YinZhaoxin GuoRui LiuXian-Sen Tao . Ultrafast synthesis of Na3V2(PO4)3 cathode for high performance sodium-ion batteries. Chinese Chemical Letters, 2025, 36(2): 109643-. doi: 10.1016/j.cclet.2024.109643

    20. [20]

      Han ZHANGJianfeng SUNJinsheng LIANG . Hydrothermal synthesis and luminescent properties of broadband near-infrared Na3CrF6 phosphor. Chinese Journal of Inorganic Chemistry, 2025, 41(2): 349-356. doi: 10.11862/CJIC.20240098

Metrics
  • PDF Downloads(1)
  • Abstract views(1452)
  • HTML views(164)

通讯作者: 陈斌, bchen63@163.com
  • 1. 

    沈阳化工大学材料科学与工程学院 沈阳 110142

  1. 本站搜索
  2. 百度学术搜索
  3. 万方数据库搜索
  4. CNKI搜索
Address:Zhongguancun North First Street 2,100190 Beijing, PR China Tel: +86-010-82449177-888
Powered By info@rhhz.net

/

DownLoad:  Full-Size Img  PowerPoint
Return