Citation: WANG Kai, GUO Qing-jie, YANG lin. Pyrolysis of fat from Nannochloropsis sp.and its effect on bio-oil from pyrolysis of all components[J]. Journal of Fuel Chemistry and Technology, ;2016, 44(1): 60-68. shu

Pyrolysis of fat from Nannochloropsis sp.and its effect on bio-oil from pyrolysis of all components

  • Corresponding author: GUO Qing-jie, qj_guo@yahoo.com
  • Received Date: 13 July 2015
    Revised Date: 27 September 2015

    Fund Project: The project was supported by the National Natural Science Foundation of China 21276129Qingdao Application Foundation Research Project 14-2-4-5-jch

Figures(8)

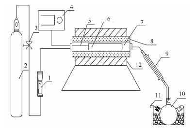
  • The crude fat was used as raw material, which was extracted from Nannochloropsis sp. by acid hydrolyzation. The pyrolysis characteristic of crude fat and its effect on the yield of each phase and the properties of bio-oil were examined at different temperatures in a bench-scale fixed bed reactor. In addition, the thermogravimetric characteristics of crude fat and all components were studied by means of thermogravimetric analyzer, and corresponding kinetic parameters were determined. The results show that both the yield of organic phase and the properties of bio-oil which is produced from the pyrolysis of all components are enhanced by the pyrolysis of fat. Moreover, with an increase in temperature, the yield of organic phase and the properties of bio-oil from crude fat and all components have same varying trend, and their best properties are obtained at 600 ℃. The content of oxygenated compounds in the crude fat including alcohols, acids and esters decreases and that of aliphatic hydrocarbon severely increases after being pyrolyzed. Compared with the pyrolysis of all components, the deoxidizing ratio and the content of carbon and hydrogen elements in crude fat after being pyrolyzed are higher, therefore the performance could be further improved with the increase of fat in the Nannochloropsis sp.. According to the kinetic data, the pyrolysis of crude fat and all components follows the second order reaction mechanism. The pyrolysis activation energy and pre-exponential factor are 64.34 kJ/mol and 2.94×105 min-1 for crude fat, and 48.13 kJ/mol and 2.96×103 min-1 for all components.
  • 加载中
    1. [1]

      MARCILLA A, CATALÁ L, GARCÍA-QUESADA J C, VALDÉS F J, HERNÁNDEZ M R. A review of thermochemical conversion of microalgae[J]. Renew Sust Energy Rev, 2013,27:11-19. doi: 10.1016/j.rser.2013.06.032

    2. [2]

      GOYAL H B, SEAL D, SAXENA R C. Bio-fuels from thermochemical conversion of renewable resources: A review[J]. Renew Sust Energy Rev, 2008,12(2):504-517. doi: 10.1016/j.rser.2006.07.014

    3. [3]

      AHMAD A L, YASIN N M, DEREK C J C, LIM J K. Microalgae as a sustainable energy source for biodiesel production: A review[J]. Renew Sust Energy Rev, 2011,15(1):584-593. doi: 10.1016/j.rser.2010.09.018

    4. [4]

      CHIU S Y, KAO C Y, TSAI M T, ONG S C, CHEN C H, LIN C S. Lipid accumulation and CO2 utilization of Nannochloropsis oculata in response to CO2 aeration[J]. Bioresour Technol, 2009,100(2):833-838. doi: 10.1016/j.biortech.2008.06.061

    5. [5]

      AMIN S. Review on biofuel oil and gas production processes from microalgae[J]. Energy Convers Manage, 2009,50(7):1834-1840. doi: 10.1016/j.enconman.2009.03.001

    6. [6]

      YANG Wen-yan, ZENG Yan, LUO Jia, TONG Dong-mei, QING Ren-wei, FAN Yong, HU Chang-wei. Production of bio-oil by direct and catalytic pyrolysis of Nannochloropsis sp[J]. J Fuel Chem Technol, 2011,39(9):664-669.  

    7. [7]

      MIAO X L, WU Q Y, YANG C Y. Fast pyrolysis of microalgae to produce renewable fuels[J]. J Anal Appl Pyrolysis, 2004,71(2):855-863. doi: 10.1016/j.jaap.2003.11.004

    8. [8]

      YANG Lin, ZHANG Xiu-li, GUO Qing-jie. Effect of hydration CaO on production of bio-oil by catalytic pyrolysis of Nannochloropsis sp.[J]. CIESC J, 2014,65(12)4786.  

    9. [9]

      DU Z Y, HU B, MA X C, CHENG Y L, LIU Y H, LIN X Y, WAN Y Q, LEI H W, PAUL CHEN, ROGER RUAN. Catalytic pyrolysis of microalgae and their three major components: Carbohydrates, proteins, and lipids[J]. Bioresour Technol, 2013,130:777-782. doi: 10.1016/j.biortech.2012.12.115

    10. [10]

      WANG Shuang. Pyrolysis and combustion experiments and mechanism research of seaweed biomass[D]. Shanghai: Shanghai Jiao Tong University, 2010.

    11. [11]

      PENG W M, WU Q Y, TU P G. Effects of temperature and holding time on production of renewable fuels from pyrolysis of Chlorella protothecoides[J]. J Appl Phycol, 2000,12(2):147-152. doi: 10.1023/A:1008115025002

    12. [12]

      ZHANG Q, CHANG J, WANG T J, XU Y. Review of biomass pyrolysis oil properties and upgrading research[J]. Energy Convers Manage, 2007,48(1):87-92. doi: 10.1016/j.enconman.2006.05.010

    13. [13]

      FRIEDL A, PADOUVAS E, ROTTER H, VARMUZA K. Prediction of heating values of biomass fuel from elemental composition[J]. Anal Chim Acta, 2005,544(1):191-198.

    14. [14]

      OASMAA A, CZERNIK S. Fuel oil quality of biomass pyrolysis oils state of the art for the end users[J]. Energy Fuels, 1999,13(4):914-921. doi: 10.1021/ef980272b

    15. [15]

      IDEM R O, KATIKANENI S P R, BAKHSHI N N. Thermal cracking of canola oil: Reaction products in the presence and absence of steam[J]. Energy Fuels, 1996,10(6):1150-1162. doi: 10.1021/ef960029h

    16. [16]

      XIAO Rui-rui, CHEN Xue-li, ZHOU Zhi-jie, YU Guang-suo. Effect of temperature on organic structure of biomass pyrolysis products[J]. Acta Energy Sol Sin, 2010,31(4):491-496.  

    17. [17]

      ALMAN S, STUBINGTON J F. The pyrolysis kinetics of bagasse at low heating rates[J]. Biomass Bioenergy, 1992,5(2):115-120.  

    18. [18]

      VYAZOVKIN S. Alternative description of process kinetic[J]. Thermochim Acta, 1992,211(1):181-187.  

    19. [19]

      ANDRADE R D A, POZZEBOM E, FARIA E A, FIHO F D, SUAREZ P A Z, PRADO A G S. Thermal behavior of diesel/biodiesel blends of biodiesel obtained from buriti oil[J]. Acta Sci Technol, 2011,34(2):243-248. doi: 10.4025/actascitechnol.v34i2.12797

    20. [20]

      HU Rong-zu. Thermal analysis kinetics [M]. 2nd ed. Beijing: Science Press, 2001.

    21. [21]

      ZHAO Hui. Pyrolysis kinetics and pyrolysis liquefaction technology research on marine macro-algae biomass[D]. Shandong: Institute of Oceanology, Chinese Academy of Sciences, 2011. 

    22. [22]

      LIU Q, WANG S R, ZHENG Y, LUO Z Y, CEN K F. Mechanism study of wood lignin pyrolysis by using TG-FTIR analysis[J]. J Anal Appl Pyrolsis, 2008,82(1):170-177. doi: 10.1016/j.jaap.2008.03.007

    23. [23]

      YAO F, WU Q L, LEI Y, GUO W H, XU Y J. Thermal decomposition kinetics of natural fibers: Activation energy with dynamic thermogravimetric analysis[J]. Polym Degrad Stab, 2008,93(1):90-98. doi: 10.1016/j.polymdegradstab.2007.10.012

    24. [24]

      PENG Y Y, WU S B. The structural and thermal characteristics of wheat straw hemicellulose[J]. J Anal Appl Pyrolysis, 2010,88(2):134-139. doi: 10.1016/j.jaap.2010.03.006

    25. [25]

      PENG W M, WU Q Y, TU P G. Pyrolytic characteristics of heterotrophic Chlorella protothecoides for renewable bio-fuel production[J]. J Appl Phycol, 2001,13(1):5-12. doi: 10.1023/A:1008153831875

  • 加载中
    1. [1]

      Heng Zhang . Determination of All Rate Constants in the Enzyme Catalyzed Reactions Based on Michaelis-Menten Mechanism. University Chemistry, 2024, 39(4): 395-400. doi: 10.3866/PKU.DXHX202310047

    2. [2]

      Zhiwen HUPing LIYulong YANGWeixia DONGQifu BAO . Morphology effects on the piezocatalytic performance of BaTiO3. Chinese Journal of Inorganic Chemistry, 2025, 41(2): 339-348. doi: 10.11862/CJIC.20240172

    3. [3]

      Mahmoud SayedHan LiChuanbiao Bie . Challenges and prospects of photocatalytic H2O2 production. Acta Physico-Chimica Sinica, 2025, 41(9): 100117-0. doi: 10.1016/j.actphy.2025.100117

    4. [4]

      Ying Yang Yonghan Wu Zixuan Li Lu Zhang Rongqin Lin Yefan Zhang Jiquan Liu Xiaohui Ning Yan Li Bin Cui . Visualization Simulation Experiment of Cyclic Voltammetry (CV) Based on Python. University Chemistry, 2025, 40(10): 233-242. doi: 10.12461/PKU.DXHX202412024

    5. [5]

      Ting YANGJia ANJinyu ZHANGRuonan FANRong YANXiaoxia JINGPanpan CHANGWei YAN . Synergistic enhancement of ion migration and sulfur conversion kinetics in lithium-sulfur batteries by CeO2/g-C3N4. Chinese Journal of Inorganic Chemistry, 2026, 42(3): 519-530. doi: 10.11862/CJIC.20250274

    6. [6]

      Jing JINZhuming GUOZhiyin XIAOXiujuan JIANGYi HEXiaoming LIU . Tuning the stability and cytotoxicity of fac-[Fe(CO)3I3]- anion by its counter ions: From aminiums to inorganic cations. Chinese Journal of Inorganic Chemistry, 2024, 40(5): 991-1004. doi: 10.11862/CJIC.20230458

    7. [7]

      Shule Liu . Application of SPC/E Water Model in Molecular Dynamics Teaching Experiments. University Chemistry, 2024, 39(4): 338-342. doi: 10.3866/PKU.DXHX202310029

    8. [8]

      Yaling Chen . Basic Theory and Competitive Exam Analysis of Dynamic Isotope Effect. University Chemistry, 2024, 39(8): 403-410. doi: 10.3866/PKU.DXHX202311093

    9. [9]

      Jiayu Gu Siqi Wang Jun Ling . Kinetics of Living Copolymerization: A Brief Discussion. University Chemistry, 2025, 40(4): 100-107. doi: 10.12461/PKU.DXHX202406012

    10. [10]

      Jinfu Ma Hui Lu Jiandong Wu Zhongli Zou . Teaching Design of Electrochemical Principles Course Based on “Cognitive Laws”: Kinetics of Electron Transfer Steps. University Chemistry, 2024, 39(3): 174-177. doi: 10.3866/PKU.DXHX202309052

    11. [11]

      Yeyun Zhang Ling Fan Yanmei Wang Zhenfeng Shang . Development and Application of Kinetic Reaction Flasks in Physical Chemistry Experimental Teaching. University Chemistry, 2024, 39(4): 100-106. doi: 10.3866/PKU.DXHX202308044

    12. [12]

      Jiageng Li Putrama . 数值积分耦合非线性最小二乘法一步确定反应动力学参数. University Chemistry, 2025, 40(6): 364-370. doi: 10.12461/PKU.DXHX202407098

    13. [13]

      Wenwen Zhang Peichao Zhang Conghao Gai Xiaoyun Chai Yan Zou Qingjie Zhao . Unveiling Kinetics at Natural Abundance: 13C NMR Isotope Effect Experiments. University Chemistry, 2025, 40(10): 203-207. doi: 10.12461/PKU.DXHX202411076

    14. [14]

      Xuzhen Wang Xinkui Wang Dongxu Tian Wei Liu . Enhancing the Comprehensive Quality and Innovation Abilities of Graduate Students through a “Student-Centered, Dual Integration and Dual Drive” Teaching Model: A Case Study in the Course of Chemical Reaction Kinetics. University Chemistry, 2024, 39(6): 160-165. doi: 10.3866/PKU.DXHX202401074

    15. [15]

      Dexin Tan Limin Liang Baoyi Lv Huiwen Guan Haicheng Chen Yanli Wang . Exploring Reverse Teaching Practices in Physical Chemistry Experiment Courses: A Case Study on Chemical Reaction Kinetics. University Chemistry, 2024, 39(11): 79-86. doi: 10.12461/PKU.DXHX202403048

    16. [16]

      Jiajie CaiChang ChengBowen LiuJianjun ZhangChuanjia JiangBei Cheng . CdS/DBTSO-BDTO S-scheme photocatalyst for H2 production and its charge transfer dynamics. Acta Physico-Chimica Sinica, 2025, 41(8): 100084-0. doi: 10.1016/j.actphy.2025.100084

    17. [17]

      Shanghua LiMalin LiXiwen ChiXin YinZhaodi LuoJihong Yu . High-Stable Aqueous Zinc Metal Anodes Enabled by an Oriented ZnQ Zeolite Protective Layer with Facile Ion Migration Kinetics. Acta Physico-Chimica Sinica, 2025, 41(1): 100003-0. doi: 10.3866/PKU.WHXB202309003

    18. [18]

      Jichao XUMing HUXichang CHENChunhui WANGLeichen WANGLingyi ZHOUXing HEXiamin CHENGSu JING . Construction and hydrogen peroxide-activated chemodynamic activity of ferrocene?benzoselenadiazole conjugate. Chinese Journal of Inorganic Chemistry, 2025, 41(8): 1495-1504. doi: 10.11862/CJIC.20250144

    19. [19]

      Linlin Wu Yonghua Zhou Zhongbei Li Liu Deng Younian Liu Limiao Chen Jianhan Huang . Digital Education Promoting Applied Chemistry Comprehensive Experiments: A Case Study of Catalytic Oxidation of Hydrogen Chloride and Reaction Kinetics. University Chemistry, 2025, 40(9): 273-278. doi: 10.12461/PKU.DXHX202411018

    20. [20]

      Xinyu XuJiale LuBo SuJiayi ChenXiong ChenSibo Wang . Steering charge dynamics and surface reactivity for photocatalytic selective methane oxidation to ethane over Au/Ti-CeO2. Acta Physico-Chimica Sinica, 2025, 41(11): 100153-0. doi: 10.1016/j.actphy.2025.100153

Metrics
  • PDF Downloads(0)
  • Abstract views(1267)
  • HTML views(155)

通讯作者: 陈斌, bchen63@163.com
  • 1. 

    沈阳化工大学材料科学与工程学院 沈阳 110142

  1. 本站搜索
  2. 百度学术搜索
  3. 万方数据库搜索
  4. CNKI搜索
Address:Zhongguancun North First Street 2,100190 Beijing, PR China Tel: +86-010-82449177-888
Powered By info@rhhz.net

/

DownLoad:  Full-Size Img  PowerPoint
Return