Effects of different atmospheres on sulfur transformation during K2CO3 catalytic pressurized pyrolysis of coal
- Corresponding author: BI Ji-cheng, bijc@sxicc.ac.cn
Citation:
LIU Fang-gang, ZHANG Yong, QU Xuan, ZHANG Rong, BI Ji-cheng. Effects of different atmospheres on sulfur transformation during K2CO3 catalytic pressurized pyrolysis of coal[J]. Journal of Fuel Chemistry and Technology,
;2016, 44(11): 1287-1296.
BI Ji-cheng, LI Ke-zhong, CUI Xin, ZU Jing-ru, SUN Zhi-qiang, MAO Yan-dogn, KANG Shou-guo. Method for co-production of synthetic gas and coal tar:CN, 102399595A[P]. 2012-04-04.
CHEN H K, LI B Q, YANG J L, ZHANG B J. Transformation of sulfur during pyrolysis and hydro-pyrolysis of coal[J]. Fuel, 1998,77(6):487-493. doi: 10.1016/S0016-2361(97)00275-5
HUANG F, ZHANG L Q, YI B J, XIA Z J, ZHENG C G. Effect of H2O on pyrite transformation behavior during oxy-fuel combustion[J]. Fuel Process Technol, 2015,131:458-465. doi: 10.1016/j.fuproc.2014.12.027
LEVY J H, WHITE T J. The reaction of pyrite with water vapor[J]. Fuel, 1988,67:1336-1339. doi: 10.1016/0016-2361(88)90114-7
SUGAWARA K, ABO K, SUGAWARA T, NISHYAMA Y, SHOLES M A. Dynamic behaviour of sulfur forms in rapid pyrolysis of coals with alkali treatment[J]. Fuel, 1995,74:1823-1829. doi: 10.1016/0016-2361(95)80014-9
LIU Q R, HU H Q, ZHU S W, ZHOU Q, LI W Y, WEI X Y, XIE K C. Desulfurization of coal by pyrolysis and hydro-pyrolysis with addition of KOH/NaOH[J]. Energy Fuels, 2005,19(4):1673-1678. doi: 10.1021/ef0497053
YUAN Shen-fu. Experimental study on gasification characteristics of coal hydrogasification[D]. Taiyuan:Institute of Coal Chemistry, 2015.
MOULDER J F, STICKLE W F, EOBOL P E. Handbook of X-ray Photoelectron Spectroscopy[M]. Eden Prairie:Perkin Elmer Corporation, 1992.
CLEYLE P J, CALEY W F, STEWART I, WHITEWAY S G. Decomposition of pyrite and trapping of sulfur in a coal matrix during pyrolysis of coal[J]. Fuel, 1984,63:1579-1582. doi: 10.1016/0016-2361(84)90230-8
LBARRA J V, PALLCIOS J M, MOLINER R, BONET A. Evidence of reciprocal organic matter-pyrite interactions affecting sulfur removal during coal pyrolysis[J]. Fuel, 1994,73(7):1046-1050. doi: 10.1016/0016-2361(94)90235-6
HUHN F, KLEIN J, JÜNTGEN H. Investigations on the alkali-catalyzed steam gasification of coal:Kinetics and interactions of alkali catalyst with carbon[J]. Fuel, 1983,62(2):196-199. doi: 10.1016/0016-2361(83)90197-7
MIMS C A, PABST J K. Role of surface salt complexes in alkali-catalyzed carbon gasification[J]. Fuel, 1983,62:176-179. doi: 10.1016/0016-2361(83)90193-X
SNAPE E, MITCHELL S C, GARRCIA R, ISMALL K, BARTLE K D. Determination of organic sulfur forms in coals and coal derives by high pressure temperature-programmed reduction[J]. Fuel, 1993,72(5):703-704.
GARCIA R, MOINELO S, LAFFERTY C, SNAPE C E. Pyrolytic desulfurization of some high-sulfur coals[J]. Energy Fuels, 1991,5(4):582-586. doi: 10.1021/ef00028a009
XU W C, KUMAGAI M. Sulfur transformation during rapid hydro-pyrolysis of coal under high pressure by using a continuous free fall pyrolyzer[J]. Fuel, 2003,82:245-254. doi: 10.1016/S0016-2361(02)00290-9
MINKOVA V, RAZVIGOROVA M, GORANOVA M, LJUTZKANOV L, ANGELOVA G. Effect of water vapour on the pyrolysis of solid fuels 1. Effect of water vapour during the pyrolysis of solid fuels on the yield and composition of the liquid products[J]. Fuel, 1991,70(6):713-719. doi: 10.1016/0016-2361(91)90067-K
LANG R J. Anion effects in alkali-catalyzed steam gasification[J]. Fuel, 1986,65(10):1324-1329. doi: 10.1016/0016-2361(86)90097-9
Tao Wang , Qin Dong , Cunpu Li , Zidong Wei . Sulfur Cathode Electrocatalysis in Lithium-Sulfur Batteries: A Comprehensive Understanding. Acta Physico-Chimica Sinica, 2024, 40(2): 2303061-0. doi: 10.3866/PKU.WHXB202303061
Haitao Wang , Lianglang Yu , Jizhou Jiang , Arramel , Jing Zou . S-Doping of the N-Sites of g-C3N4 to Enhance Photocatalytic H2 Evolution Activity. Acta Physico-Chimica Sinica, 2024, 40(5): 2305047-0. doi: 10.3866/PKU.WHXB202305047
Rohit Kumar , Anita Sudhaik , Aftab Asalam Pawaz Khan , Van Huy Neguyen , Archana Singh , Pardeep Singh , Sourbh Thakur , Pankaj Raizada . Designing tandem S-scheme photo-catalytic systems: Mechanistic insights, characterization techniques, and applications. Acta Physico-Chimica Sinica, 2025, 41(11): 100150-0. doi: 10.1016/j.actphy.2025.100150
Yajin Li , Huimin Liu , Lan Ma , Jiaxiong Liu , Dehua He . Photothermal Synthesis of Glycerol Carbonate via Glycerol Carbonylation with CO2 over Au/Co3O4-ZnO Catalyst. Acta Physico-Chimica Sinica, 2024, 40(9): 2308005-0. doi: 10.3866/PKU.WHXB202308005
Zhuo WANG , Junshan ZHANG , Shaoyan YANG , Lingyan ZHOU , Yedi LI , Yuanpei LAN . Preparation and photocatalytic performance of CeO2-reduced graphene oxide by thermal decomposition. Chinese Journal of Inorganic Chemistry, 2024, 40(9): 1708-1718. doi: 10.11862/CJIC.20240067
Yanyan Zhao , Zhen Wu , Yong Zhang , Bicheng Zhu , Jianjun Zhang . Enhancing photocatalytic H2O2 production via dual optimization of charge separation and O2 adsorption in Au-decorated S-vacancy-rich CdIn2S4. Acta Physico-Chimica Sinica, 2025, 41(11): 100142-0. doi: 10.1016/j.actphy.2025.100142
Weihan Zhang , Menglu Wang , Ankang Jia , Wei Deng , Shuxing Bai . Surface Sulfur Species Influence Hydrogenation Performance of Palladium-Sulfur Nanosheets. Acta Physico-Chimica Sinica, 2024, 40(11): 2309043-0. doi: 10.3866/PKU.WHXB202309043
Haozhe Hu , Haoyu Zhang , Changsheng Lu . Study on the Precipitation Process of Elemental Sulfur from the Decomposition Products of Thiosulfuric Acid: Is It an Unexpected Failed Experiment?. University Chemistry, 2025, 40(11): 409-415. doi: 10.12461/PKU.DXHX202412034
Dongqi Cai , Fuping Tian , Zerui Zhao , Yanjuan Zhang , Yue Dai , Feifei Huang , Yu Wang . Exploration of Factors Influencing the Determination of Ion Migration Number by Hittorf Method. University Chemistry, 2024, 39(4): 94-99. doi: 10.3866/PKU.DXHX202310031
Jiayu Tang , Jichuan Pang , Shaohua Xiao , Xinhua Xu , Meifen Wu . Improvement for Measuring Transference Numbers of Ions by Moving-Boundary Method. University Chemistry, 2024, 39(5): 193-200. doi: 10.3866/PKU.DXHX202311021
Rui Li , Huan Liu , Yinan Jiao , Shengjian Qin , Jie Meng , Jiayu Song , Rongrong Yan , Hang Su , Hengbin Chen , Zixuan Shang , Jinjin Zhao . Emerging Irreversible and Reversible Ion Migrations in Perovskites. Acta Physico-Chimica Sinica, 2024, 40(11): 2311011-0. doi: 10.3866/PKU.WHXB202311011
Hongyao Li , Youyan Liu , Luwei Dai , Min Yang , Qihui Wang . The Blessing of Indium Sulfide:Confronting the Narrow Path with Uric Acid. University Chemistry, 2024, 39(5): 325-335. doi: 10.3866/PKU.DXHX202311104
Tao Xu , Wei Sun , Tianci Kong , Jie Zhou , Yitai Qian . Stable Graphite Interface for Potassium Ion Battery Achieving Ultralong Cycling Performance. Acta Physico-Chimica Sinica, 2024, 40(2): 2303021-0. doi: 10.3866/PKU.WHXB202303021
Yongqing Xu , Yuyao Yang , Mengna Wu , Xiaoxiao Yang , Xuan Bie , Shiyu Zhang , Qinghai Li , Yanguo Zhang , Chenwei Zhang , Robert E. Przekop , Bogna Sztorch , Dariusz Brzakalski , Hui Zhou . Review on Using Molybdenum Carbides for the Thermal Catalysis of CO2 Hydrogenation to Produce High-Value-Added Chemicals and Fuels. Acta Physico-Chimica Sinica, 2024, 40(4): 2304003-0. doi: 10.3866/PKU.WHXB202304003
Ronghao Zhao , Yifan Liang , Mengyao Shi , Rongxiu Zhu , Dongju Zhang . Investigation into the Mechanism and Migratory Aptitude of Typical Pinacol Rearrangement Reactions: A Research-Oriented Computational Chemistry Experiment. University Chemistry, 2024, 39(4): 305-313. doi: 10.3866/PKU.DXHX202309101
Shanghua Li , Malin Li , Xiwen Chi , Xin Yin , Zhaodi Luo , Jihong Yu . High-Stable Aqueous Zinc Metal Anodes Enabled by an Oriented ZnQ Zeolite Protective Layer with Facile Ion Migration Kinetics. Acta Physico-Chimica Sinica, 2025, 41(1): 100003-0. doi: 10.3866/PKU.WHXB202309003
Ruiqing LIU , Wenxiu LIU , Kun XIE , Yiran LIU , Hui CHENG , Xiaoyu WANG , Chenxu TIAN , Xiujing LIN , Xiaomiao FENG . Three-dimensional porous titanium nitride as a highly efficient sulfur host. Chinese Journal of Inorganic Chemistry, 2024, 40(5): 867-876. doi: 10.11862/CJIC.20230441
Jinyao Du , Xingchao Zang , Ningning Xu , Yongjun Liu , Weisi Guo . Electrochemical Thiocyanation of 4-Bromoethylbenzene. University Chemistry, 2024, 39(6): 312-317. doi: 10.3866/PKU.DXHX202310039
Nan Xiao , Fang Sun . 二芳基硫醚化合物的构建及应用. University Chemistry, 2025, 40(6): 360-363. doi: 10.12461/PKU.DXHX202407099
Chuan′an DING , Weibo YAN , Shaoying WANG , Hao XIN . Preparation of wide-band gap copper indium gallium sulfide solar cells by solution method. Chinese Journal of Inorganic Chemistry, 2025, 41(9): 1755-1764. doi: 10.11862/CJIC.20250198
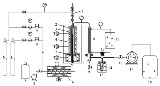
1: hopper; 2: electric furnace; 3: fixed-bed reactor; 4: thermocouple; 5: flange; 6: steam generator; 7: water storage tank; 8: high-pressure water pump; 9: mass flowmeter; 10: the primary cooler; 11: gas-liquid separator; 12: ethanediol; 13: circulating pump; 14: n-hexane second-stage cooler; 15: quenching trap; 16: micrometering valve; 17: wet type gas flowmeter; 18: gas bag
(a): BLG; (b): ND
(a), (b): BLG; (c), (d): ND