应用化学   2016, Vol. 33 Issue (3): 350-356   PDF    
Article Options
  • PDF
  • Full Text HTML
  • Abstract
  • Figures
  • References
  • History
  • Received: 2015-07-10
  • Revised: 2015-08-17
  • Published on Web: 2015-08-17
  • 扩展功能
    把本文推荐给朋友
    加入引用管理器
    Email Alert
    RSS
    本文作者相关文章
    叶雪芳
    衣守志
    肖清贵
    孙苒荻
    田颖
    徐红彬
    张懿
    过硼酸钠结晶介稳区的测定
    叶雪芳a,b,c, 衣守志a, 肖清贵b,c, 孙苒荻b,c, 田颖b,c, 徐红彬b,c, 张懿b,c     
    a 天津科技大学材料科学与化学工程学院 天津 300457;
    b 中国科学院过程工程研究所湿法冶金清洁生产技术国家工程实验室 北京 100190;
    c 中国科学院绿色过程与工程重点实验室 北京 100190
    摘要: 采用激光测定装置测定了过硼酸钠的溶解度和超溶解度,重点研究了过硼酸钠的溶解度、超溶解度以及结晶介稳区的变化规律,获得了过硼酸钠溶液的结晶介稳区,并用Apelblat方程对过硼酸钠的溶解度数据进行了关联。研究了降温速率、搅拌速率、六偏磷酸钠及聚丙烯酸钠添加量对过硼酸钠介稳区宽度的影响规律。研究结果表明,过硼酸钠溶解度随温度升高而增大,过硼酸钠的介稳区宽度在高温区较小而在低温区较大;降温速率的增大使过硼酸钠介稳区宽度变大,搅拌速率的增大使介稳区宽度变小;加入0.065%六偏磷酸钠和0.045%聚丙烯酸钠时获得的介稳区宽度最大。
    关键词: 溶解度     超溶解度     介稳区     添加剂     过硼酸钠    
    Measurement of the Metastable Zone of Sodium Perborate Tetrahydrate
    YE Xuefanga,b,c, YI Shouzhia, XIAO Qingguib,c, SUN Randib,c, TIAN Yingb,c, XU Hongbinb,c, ZHANG Yib,c     
    a College of Material Science and Chemical Engineering, Tianjin University of Science and Technology, Tianjin 300457, China;
    b National Engineering Laboratory for Hydrometallurgical Cleaner Production Technology, Institute of Process Engineering, Chinese Academy of Sciences, Beijing 100190, China;
    c Key Laboratory of Green Process and Engineering, Chinese Academy of Sciences, Beijing 100190, China
    Abstract: The metastable zone is one of the most important properties of the crystallization process. In the present study the solubility and supersolubility of sodium perborate tetrahydrate(SPT) in water were measured by the laser detection technique. The dependence of the solubility and supersolubility on the temperature, cooling rate, stirring rate and concentrations of additives was discussed carefully. The curves of solubility and supersolubility were obtained and the empirical equation of the solubility for sodium perborate was employed to fit the data of sodium perborate solubility. The experimental results show that the solubility of SPT increases with the increase of temperature, the stable area of SPT becomes narrower at higher temperature, and the metastable zone increases with the increase of cooling rate and decrease of stirring rate. Further results show that the metastable zone width(MZW) of SPT is remarkably affected by the concentrations of additive agents and a maximum metastable zone is obtained when the concentrations of sodium hexametaphosphate and sodium polyacrylate are 0.065% and 0.045%, respectively.
    Key words: solubility     supersolubility     metastable zone     additives     sodium perborate    

    过硼酸钠(NaBO3·4H2O)是重要的硼化工产品之一,在全世界其产量仅次于硼砂、硼酸。过硼酸钠(SPT)是一种白色无机过氧化物,在水溶液中不稳定,易溶于水而生成过氧化氢,能够释放出活性氧,具有较强的漂白、杀菌的作用,广泛应用在洗涤剂、洗衣粉和漂白剂中,在医药、化妆品等行业也有不同程度的应用。

    过硼酸钠产品质量与微观形貌和粒度有关,而微观形貌和粒度主要在结晶过程中通过控制过饱和度来实现。为了能够得到粒径大、稳定性好的产品,需要精确的控制过硼酸钠结晶工艺[1-2],将过饱和度控制在介稳区内,避免自发成核,因此探究各因素对过硼酸钠结晶介稳区的影响显得至关重要。介稳区的大小受搅拌速率、降温速率、添加剂、晶种加入量、杂质等影响,介稳区的大小常用介稳区宽度ΔTmax来衡量。Chianese[3]、Livk等[4]早期用平衡法研究了偏硼酸钠浓度对过硼酸钠溶解度的影响,并用目测法研究了偏硼酸钠对过硼酸钠诱导期、成核级数的影响。本文在前人研究的基础上,采用激光透射的方法,测得了过硼酸钠的溶解度、介稳区,系统考察了搅拌速率、降温速率、六偏磷酸钠以及聚丙烯酸钠的加入量对结晶介稳区的影响。初步得到的结论和数据,为结晶法制备过硼酸钠工艺设计和生产操作提供理论借鉴和实际参考。

    1 实验部分
    1.1 仪器和试剂

    400 mL玻璃结晶器(自制,为夹套式腔体结构);80 W电动搅拌器(天津华兴伟业实验仪器有限公司);德国Lauda Proline增强型恒温循环水浴(德祥科技有限公司);JG型系列激光功率指示器(北京大学物理学院);HNK型系列氦氖激光器(北京大学物理系);XSR10R型记录仪(天津凯士达仪器仪表有限公司)。偏硼酸钠(四水)(分析纯,纯度≥99.0%,阿拉丁试剂);双氧水(分析纯,纯度≥30.0%,北京化工厂有限公司);聚丙烯酸钠(分析纯,纯度≥99.0%,国药集团化学试剂有限公司);六偏磷酸钠(分析纯,纯度≥98.0%,广东汕头市西陇化学品有限公司)。

    1.2 实验方法
    1.2.1 溶解度的测定

    精确称量一定质量的自制过硼酸钠[1-2](未加添加剂)加150 mL蒸馏水在结晶器内溶解,搅拌速率固定为200 r/min,打开激光检测系统(含激光功率接收器和激光发射器)监测固体溶解的情况。激光发射器发射激光从结晶器的一侧进入,在另一侧透射后由激光功率接受器接收。以一定的升温速率加热,过硼酸钠开始溶解,晶体在溶液中的散射和衍射效应越来越弱,透射光强增大,当接受器读数发生突变时说明溶液中的过硼酸钠已经完全溶解,记下该点的温度。

    1.2.2 超溶解度的测定

    超溶解度的测定步骤建立在测定溶解度的基础上,当溶解度测量完毕后,在此温度基础上升温5 ℃,以恒定的搅拌速率(200 r/min)搅拌30 min,并在恒定的搅拌速率下,以一定的降温速率(6 ℃/h)降温,当激光记录曲线发生突变,表示溶液中有晶体析出,记录此时溶液的温度,即为此温度下的超溶解度。溶解度和超溶解度之差即介稳区宽度[5]

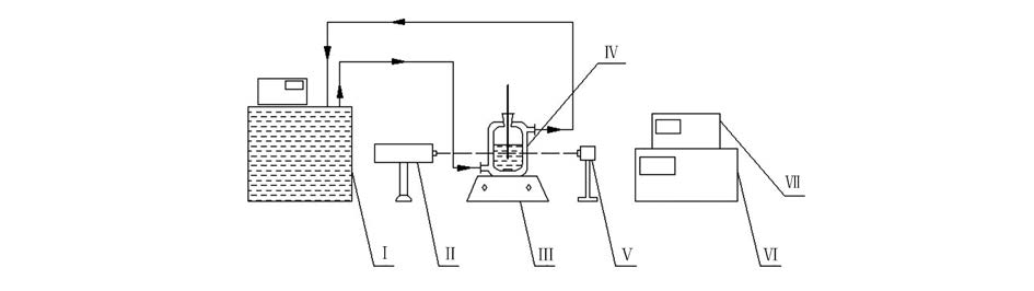
    根据测得的超溶解度数据绘制超溶解度曲线,并结合溶解度数据绘制溶解度曲线得到介稳区。激光测量装置如图 1所示。

    图 1 实验装置示意图 Fig. 1 Schematic experimental apparatus Ⅰ.thermostatic waterbath; Ⅱ.He-Ne laser emitter; Ⅲ.electromagnetic stirrer; Ⅳ.crystallizer; Ⅴ.signal receiver; Ⅵ.photocoupler; Ⅶ.recorder
    2 结果与讨论
    2.1 过硼酸钠在水中的溶解度
    2.1.1 溶解度曲线

    采用激光法在搅拌速率为200 r/min,降温速率固定在6 ℃/h条件下,测得过硼酸钠在水溶液中的溶解度如图 2所示,对比Livk在1995年用平衡法测得的硼酸钠溶解度曲线基本一致,因此可知用激光法测溶解度方法可行,由于激光法具有简单、迅速且灵敏的优点,本文实验均采用激光法。

    图 2 过硼酸钠溶解度曲线 Fig. 2 Solubility curve of SPT in water

    图 2可知,过硼酸钠的溶解度较小,随着温度的升高而逐渐增大;在37 ℃下,100 g水中仅溶解5.21 g过硼酸钠。过硼酸钠为无机过氧化物,在水溶液中不稳定,当温度超过40 ℃时,极易发生分解生成偏硼酸钠,放出氧气,因此本文探究温度在40 ℃以下。

    2.1.2 过硼酸钠在水溶液中的溶解度关联

    为了能够通过测得的少数实验点

    得到完整的溶解度曲线,对本实验所测得的溶解度数据进行关联。本实验采用Apelblat方程对溶解度曲线进行关联。 在热力学上,描述温度与溶解度的摩尔分数的方程如下[6]

    ${{\operatorname{lnx}}_{1}}=\ln x_{1}^{id}-\ln {{\gamma }_{1}}$ (1)

    式中,x1表示溶质溶解度的摩尔分数,xid1表示理想状态下溶质溶解度的摩尔分数,γ1表示溶质的活度系数。

    理想状态下溶质溶解度可以定义为:

    $\ln x_{1}^{id}=\left[ \frac{\Delta {{H}_{f}}}{R{{T}_{m}}}-\frac{\Delta {{C}_{p}}}{R}\left( 1+\ln {{T}_{m}} \right) \right]+\left[ \frac{\Delta {{C}_{p}}{{T}_{m}}}{R}-\frac{\Delta {{H}_{f}}}{R} \right]\frac{1}{T}+\frac{\Delta {{C}_{p}}}{R}\ln T$ (2)

    式中,R表示气体常数,J/(mol·K);T为温度,K;Tm表示熔化温度,K;ΔHf表示熔点的熔化焓,kJ/mol;ΔCp表示等压热容差。

    溶质的活度系数可以表示为:

    $\ln {{\gamma }_{1}}=\frac{\overline{H}_{1}^{E,\infty }}{RT}-\frac{\overline{S}_{1}^{E,\infty }}{R}=\frac{\Delta {{H}_{mix}}}{RT}-\frac{\Delta {{S}_{mix}}}{R}$ (3)

    式中,ΔHmix表示混合焓,kJ/mol;ΔSmix表示混合熵,J/(mol·K);HE,∝1表示极限超额焓,kJ/mol;SE,∝1表示极限超额熵,J/(mol·K)。

    将方程(2)和(3)代入(1)化简后得到Apelblat方程:

    $\ln x=A+B/T+\ln T$ (4)

    式中,A、B、C为Apelblat方程参数,

    $A=\left[ \frac{\Delta {{H}_{f}}}{R{{T}_{m}}}-\frac{\Delta {{C}_{p}}}{R}\left( 1+\ln {{T}_{m}} \right) \right]+\frac{\Delta {{S}_{\operatorname{mix}}}}{R},B=\frac{\Delta {{C}_{p}}{{T}_{m}}}{R}-\frac{\Delta {{G}_{f}}-\Delta {{H}_{mix}}}{R},C=\frac{\Delta {{C}_{p}}}{R}$

    方程(4)即为Apelblat和Manzurola最先提出的Apelblat方程[7],该方程对溶解度关联较好,为较多研究者运用[8-9]。由Apelblat方程关联得到的过硼酸钠溶解度回归方程如下:

    $\operatorname{lnx}=-188.81+99.066/T+4.93\operatorname{lnT},{{R}^{2}}0.994$

    由关联系数R2值的大小可以看出,采用Apelblat方程关联的结果较好。得到的数学模型可以应用于结晶工艺的模拟计算。

    2.2 过硼酸钠在水中的结晶介稳区

    过饱和溶液处于介稳平衡的状态,很多因素能够影响超溶解度,如降温速率、搅拌速率、晶种的加入、杂质以及溶液本身的性质。本实验重点考察了搅拌速率、降温速率、添加剂对介稳区宽度的影响[10]及溶液本身的性质[11]

    2.2.1 温度对介稳区的影响

    图 3为搅拌速率为200 r/min,降温速率为6 ℃/h时,过硼酸钠在纯水溶液中的介稳区。图中两条曲线之间的区域为过硼酸钠的结晶介稳区,由图 3可知,过硼酸钠在低温区介稳区的宽度在14.4 ℃左右,高温区的介稳区宽度在10.1 ℃左右,即高温下介稳区宽度比低温区较窄,这是由于温度升高,溶液黏度下降,溶质的扩散系数增加,分子的热效应加剧,使分子间的成核速率增大,有利于成核[12]。随着溶液温度升高介稳区宽度变窄,结晶不易控制,且过硼酸钠在大于40 ℃时容易分解;温度太低,成核速率过慢且能耗大,因此,将结晶温度控制在15~25 ℃。

    图 3 过硼酸钠溶解度曲线 Fig. 3 Metastable zone of SPT in water

    本实验对搅拌速率为200 r/min,降温速率为6 ℃/h,w(NaBO3·H2O)为3.38%条件下测超溶解度过程中析出的固相进行XRD分析(谱图略),结果表明,析出的固相为四水过硼酸钠,测量前后溶质并未发生变化。

    2.2.2 降温速率对介稳区宽度的影响

    在固定200 r/min搅拌速率下,探究了不同降温速率:6 ℃/h、12 ℃/h及18 ℃/h下,相应的介稳区宽度,实验结果如图 4所示。由图 4可知,在实验温度范围内,同一个降温速率下,介稳区宽度随着温度的逐渐升高而减小;在同一个温度下,随着降温速率的增大,介稳区宽度变大;且随着温度的增大,降温速率对介稳区的影响逐渐增大。

    图 4 不同降温速率对过硼酸钠的介稳区宽度的影响 Fig. 4 Metastable zone width of SPT at different cooling rate in water
    2.2.3 搅拌速率对介稳区宽度的影响

    搅拌速率受结晶器结构和溶剂的体积大小影响,本实验在相同的搅拌桨结构和相同结晶器结构下,考察搅拌速率对介稳区的影响。图 5为固定降温速率为6 ℃/h,搅拌速率分别为200和300 r/min时,过硼酸钠结晶介稳区宽度的变化。由图 5可得,搅拌速率对过硼酸钠介稳区宽度影响较明显。相同温度下搅拌速率越高介稳区宽度越小。这是由于搅拌速率越大,过硼酸钠分子碰撞成核的几率就越大,传热速率也增大,使过饱和度下降介稳区变窄[13]

    图 5 不同搅拌转速对过硼酸钠的介稳区宽度影响 Fig. 5 Metastable zone width of SPT at 200 or 300 r/min in water
    2.3 添加剂对介稳区宽度的影响

    添加剂主要通过两种机理来影响结晶过程:第一是热力学机制,它们能改变溶液的热力学性质,第二是动力学机制,它们能吸附在特定的晶面上,改变晶体的生长速率[14]。本文从热力学角度,考察了不同加入量的两种添加剂单独作用下和同时作用下对过硼酸钠介稳区的影响[15]

    2.3.1 六偏磷酸钠(NaPO)6对介稳区宽度的影响

    六偏磷酸钠是一种多聚磷酸盐,分子量为611.77,是一种常用的分散剂。在固定搅拌转速200 r/min,降温速率6 ℃/h下,本实验考察了六偏磷酸钠的添加量(质量分数)分别为0.013%、0.032%、0.065%、0.097%、0.13%时,过硼酸钠结晶介稳区宽度的变化。

    表 1可得,六偏磷酸钠的添加量相同时,介稳区宽度随温度的增加而变小;六偏磷酸钠的添加量从0.013%逐渐增大到0.13%过程中,介稳区宽度变化趋势是先增大后减小,当六偏磷酸钠的添加量在0.065%时,过硼酸钠在各温度下介稳区宽度皆最大,对结晶过程最有利。因此,在制备过硼酸钠过程中,应添加0.065%六偏磷酸钠,此数据与工艺研究得到的加入量基本一致。

    表 1 (NaPO)6-NaBO3-H2O体系中过硼酸钠介稳区宽度数据 Table 1 Metastable zone width of sodium perborate in the (NaPO)6-NaBO3-H2O system
    2.3.2 聚丙烯酸钠(C3H3NaO2)n对介稳区宽度的影响

    聚丙烯酸钠是水溶性高分子,液态产品为无色粘稠液体,具有良好的热稳定性[16],且具有固定金属离子的作用,因此聚丙烯酸钠与双氧水混合能够有效的抑制双氧水的分解,能够起到稳定双氧水的作用[17]。本实验研究了聚丙烯酸钠对结晶过程介稳区的影响。固定搅拌转速为200 r/min,降温速率24 ℃/h下,考察了聚丙烯酸钠的添加量为0.019%、0.045%、0.065%时,过硼酸钠结晶介稳区变化。

    表 2可得,在聚丙烯酸钠的添加量为0.019%和0.045%时,随着温度的升高,介稳区宽度呈下降趋势,但趋势较小,分别下降了4.7%、2.1%;聚丙烯酸钠的添加量从0.019%逐渐增大到0.065%过程中,介稳区宽度变化趋势是先增大后减小,当聚丙烯酸钠的添加量在0.045%时,过硼酸钠在各温度下介稳区宽度皆最大,对结晶过程最有利。因此,在结晶过程中,应加入0.045%聚丙烯酸钠。

    表 2 (C3H3NaO2)n-NaBO3-H2O体系中过硼酸钠介稳区宽度数据 Table 2 Metastable zone width of sodium perborate in the (C3H3NaO2)n-NaBO3-H2O system
    2.3.3 两种添加剂共同作用下对介稳区宽度的影响

    由于过硼酸钠制备过程中,两种添加剂是同时添加,共同对结晶过程产生影响。因此,研究两种添加剂在过硼酸钠结晶过程中交互作用十分必要。图 6为固定搅拌转速为200 r/min,降温速率24 ℃/h下,在纯水溶液中、单独添加0.065%六偏磷酸钠或添加0.045%聚丙烯酸钠以及共同添加0.065%六偏磷酸钠和0.045%聚丙烯酸钠条件下,过硼酸钠介稳区宽度变化。

    图 6 六偏磷酸钠、聚丙烯酸钠对过硼酸钠介稳区宽度的影响 Fig. 6 Metastable zone width of SPT with different concentrations of sodium polyacrylate and sodium hexametaphosphate

    图 6对比可知,不加入添加剂过硼酸钠介稳区宽度明显比加入添加剂的介稳区宽度小;添加0.045%聚丙烯酸钠的介稳区宽度仅下降2.1%,添加0.065%六偏磷酸钠的介稳区宽度变化幅度较大,下降17.5%;两种添加剂共同作用下,介稳区宽度下降3.8%且介稳区宽度总体均大于单独作用条件下的介稳区宽度。

    综上所述,六偏磷酸钠和聚丙烯酸钠的加入使过硼酸钠的结晶介稳区宽度增大,其中聚丙烯酸钠的加入使得介稳区宽度变化趋于平缓,使介稳区宽度对温度变化影响较小,这是由于聚丙烯酸钠的热稳定性较好,加入聚丙烯酸钠提高了结晶过程中溶液的热稳定性,不易发生爆发成核,有利于颗粒的生长和过硼酸钠结晶过程的进行。因此,在制备过硼酸钠时,加入0.065%六偏磷酸钠和0.045%聚丙烯酸钠,对结晶过程最有利。

    3 结论

    实验结果表明,过硼酸钠的溶解度较小,随着温度的升高而逐渐增大;在37 ℃温度下,100 g水中仅溶解5.21 g过硼酸钠,过硼酸钠在溶液中不稳定易发生分解,因此溶解过硼酸钠的温度不宜超过40 ℃。过硼酸钠在高温下介稳区较窄,在低温下介稳区较宽,且过硼酸钠在高温下容易分解,不利结晶过程进行,因此应将结晶温度控制在15~25 ℃;随着降温速率的增大过硼酸钠的介稳区变宽;随着搅拌速率的增大结晶介稳区宽度变窄。六偏磷酸钠和聚丙烯酸钠的加入均使过硼酸钠的结晶介稳区宽度增大,其中聚丙烯酸钠的加入使得介稳区宽度变化趋于平缓,使介稳区宽度对温度变化影响较小,有利于颗粒的生长和过硼酸钠结晶过程的进行。

    参考文献
    [1] 郑隆,陶华西. 一水过硼酸钠的制备方法:中国,CN02104955.6[P],2002-09-18. ZHENG Long,TAO Huaxi. Process for Preparing Monohydrated Sodium Perborate:CN,CN02104955[P],2002-09-18(in Chinese). ()
    [2] WANG Kai, ZHONG Jianchu, WANG Hongzhi, et al. Preparation of Sodium Perborate from Wastewater of Calcium Metaborate Manufacturing[J]. Mod Chem Ind , 2009, S1 : 69–72. (in Chinese) 王凯, 仲剑初, 王洪志, 等. 由偏硼酸钙生产过程中的废液制备过硼酸钠[J]. 现代化工 , 2009, S1 : 69–72. ()
    [3] Chianese A. Primary Nucleation of Sodium Perborat in Aqueous[J]. J Cryst Growth , 1986, 78 : 279–290. DOI:10.1016/0022-0248(86)90064-3 ()
    [4] Livk I. Crystallization Kinetics of Sodium Perborate[J]. Cryst Res Technol , 1995, 30 : 911–919. DOI:10.1002/(ISSN)1521-4079 ()
    [5] 刘欢. 液相氧化法铬盐清洁工艺铬酸钠结晶分离应用基础研究[D]. 河北:河北科技大学,2014. LIU Huan. Applied Fundamental Research on Crystallization and Separation of Na2CrO4 in the Cleaner Production of Chromium Compounds via Aqueous Oxidation Method[D]. Tianjin:Hebei Univ Sci Technol,2014(in Chinese). http://cdmd.cnki.com.cn/article/cdmd-10082-1014173873.htm ()
    [6] Zhang X Y, Qian G. Correlation of Solubility and Calculation of Thermodynamic Properties of Guanidine Nitrate in Different Solvents[J]. Fluid Phase Equilib , 2015, 388 : 59–65. DOI:10.1016/j.fluid.2014.12.037 ()
    [7] Apelblat A, Manzurola E. Solubilities of O-Acetylsalicylic, 4-Aminosalicylic, 3,5-Dinitrosalicylic, and P-toluic Acid, and Magnesium-DL-aspartate in Water from T=(278 to 348) K[J]. Chem Thermodyn , 1999, 31 : 85–91. DOI:10.1006/jcht.1998.0424 ()
    [8] Nti-Gyabaah J, Chmielowski R, Chan V, et al. Solubility of Lovastatin in a Family of Six Alcohols:Ethanol, 1-Propanol, 1-Butanol, 1-Pentanol, 1-Hexanol, and 1-Octanol[J]. Int J Pharm , 2008, 359 : 111–117. DOI:10.1016/j.ijpharm.2008.03.046 ()
    [9] ZHANG Di, XIAO Qinggui, ZHANG Bingzhu, et al. Determination and Correlation of Solubility of Bismuth Oxychloride in Hydrochloric Acid Solution[J]. J Chem Ind Eng , 2014, 65 (6) : 1987–1992. (in Chinese) 张笛, 肖清贵, 张炳烛, 等. 氯氧化铋在盐酸溶液中溶解度的测定和关联[J]. 化工学报 , 2014, 65 (6) : 1987–1992. ()
    [10] Wang L P, Peng J Y, Li L L, et al. Solubility and Metastable Zone Width of Sodium Chromate Tetrahydrate[J]. J Chem Eng Data , 2013, 58 : 3165–3169. DOI:10.1021/je4006272 ()
    [11] DING Xuhuai, TAN Qiu, Industrial Crystallization[M]. Beijing: Chemical Industry Press, 1985 : 18 -23. (in Chinese) 丁绪淮, 谈遒, 工业结晶[M]. 北京: 化学工业出版社, 1985 :18 -23. ()
    [12] FAN Lihua, MA Peisheng, XIANG Zhengle. Study on Crystallization Thermodynamics of Adipic Acid[J]. Petrochem Technol , 2006, 35 (3) : 245–249. (in Chinese) 樊丽华, 马沛生, 相政乐. 己二酸的结晶热力学研究[J]. 石油化工 , 2006, 35 (3) : 245–249. ()
    [13] HE Xingxue, SUN Qin. Determination of Metastable Region for Sodium Acetate[J]. Chem Eng , 2012, 40 (7) : 43–45. (in Chinese) 何兴学, 孙勤. 醋酸钠介稳区的测定[J]. 化学工程 , 2012, 40 (7) : 43–45. ()
    [14] SUN Congting, XUE Dongfeng. Study on the Crystallization Process of Function Inorganic Crystal Materials[J]. Sci Sin Tech , 2014, 44 (11) : 1123–1136. (in Chinese) 孙丛婷, 薛冬峰. 无机功能晶体材料的结晶过程研究[J]. 中国科学:技术科学 , 2014, 44 (11) : 1123–1136. ()
    [15] MENG Qingfen, DONG Yaping, KONG Fanzhi, et al. Study on the Metastable Zone Property of Boric Acid in Different Concentrations of MgCl2 and NaCl Solution[J]. J Chinese Chem Soc , 2010, 68 (17) : 1699–1706. (in Chinese) 孟庆芬, 董亚萍, 孔凡志, 等. 不同浓度的MgCl2和NaCl溶液对H3BO3介稳区宽度的影响[J]. 化学学报 , 2010, 68 (17) : 1699–1706. ()
    [16] HAN Huifang, CUI Yingde, CAI Libin. Synthesis and Application of Polyacrylic Acid Sodium[J]. China Surfact Deterg Cosmet , 2003, 33 (1) : 36–39. (in Chinese) 韩慧芳, 崔英德, 蔡立彬. 聚丙烯酸钠的合成及应用[J]. 日用化学工业 , 2003, 33 (1) : 36–39. ()
    [17] YANG Junling. Research on Composition and Stability of Hydrogen Peroxide Stabilizer[J]. Dye Finish , 2004, 24 : 13–15. (in Chinese) 杨俊玲. 双氧水稳定剂的组成及其稳定性的研究[J]. 印染 , 2004, 24 : 13–15. ()